日前,华海财产保险股份有限公司(简称“华海保险”)公布的2025年第三季度偿付能力报告摘要披露,该公司第一大股东那曲瑞昌煤炭运销有限公司和第三大股东龙口嘉元东盛热电有限公司的持股状态标记为“质押”,其余10家股东的持股状态均标记为“正常”。然而,该公司并列第二大股东莒南天马岛旅游发展有限公司(简称“天马岛旅游”)所持有的全部股权已被法院冻结,华海保险上述偿付能力报告涉嫌虚假记载。

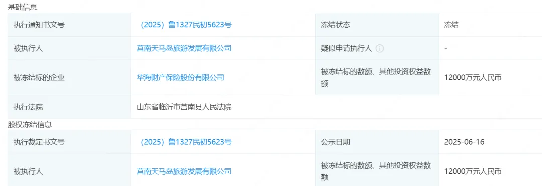
据国家企业信用信息公示系统显示,天马岛旅游持有的华海保险1.2亿股股份已被山东省莒南县人民法院司法冻结,冻结期限自2025年6月16日起至2028年6月15日止。

因此,截至今年第二季度末和第三季度末,天马岛旅游的持股状态均为“司法冻结”。但记者查阅华海保险官网公布的偿付能力报告摘要发现,该公司在今年第二季度偿付能力报告摘要和第三季度偿付能力报告摘要这两份公开信息披露文件中,均将天马岛旅游的持股状态标记为“正常”。


“本报告已经通过公司董事长批准,公司董事长和管理层保证本报告所载资料不存在任何虚假记载、误导性陈述或者重大遗漏,内容真实、准确、完整、合规,并对我们的保证承担个别和连带的法律责任。”华海保险在偿付能力报告摘要的“董事会和管理层声明”中如是表示。

此前,据媒体报道,自今年6月份以来,华海保险董事张倩已4次被法院列入被执行人,被执行总金额约2亿元。与此同时,张倩6次被青岛市市南区人民法院和青岛市黄岛区人民法院采取限制消费措施。

据悉,张在倩成为被执行人后,从天马岛旅游“紧急撤出”。公开资料显示,天马岛旅游为华海保险并列第二大股东,认缴出资额和实缴出资额均为1.2亿元,持股比例10%。而该公司注册资本仅1600万元,注册地临沂市莒南县涝坡镇,2024年参保人数为0。

此前,张倩系天马岛旅游第一大股东,持有该公司41%的股份,认缴出资额和实缴出资额均为656万元。今年9月底,天马岛旅游发生股权变更,该公司3名股东张倩、李红宾和孔德彩全部退出,由李婵和张燕君接手全部股权。同时,该公司法定代表人变更为李婵。

对此,业内人士表示,通过股权转让,天马岛旅游暂时规避了大股东信誉问题给华海保险带来的监管风险。但一家注册资本仅1600万元的小微企业是如何投资1.2亿元成为全国性保险公司第二大股东的?根据监管规定,保险公司的财务Ⅱ类股东(持股比例5%以上)应满足以下要求:信誉良好,投资行为稳健,核心主业突出;具有持续出资能力,最近二个会计年度连续盈利;具有较强的资金实力,净资产不低于2亿元。

由于天马岛旅游未公开财务信息,公开渠道无法查询该公司的盈利能力和资产规模数据。据国家税务总局莒南县税务局通报,今年4月份,天马岛旅游2次欠税合计约64万元,分别为城镇土地使用税欠税余额24.89万元,房产税欠税余额39.08万元。
雪上加霜的是,天马岛旅游持有的华海保险1.2亿股股权如今已全部被法院冻结。关于该股权冻结事项是否会给华海保险的公司治理带来不利影响甚至造成该公司股权被强制转让等法律后果,本报将继续关注。