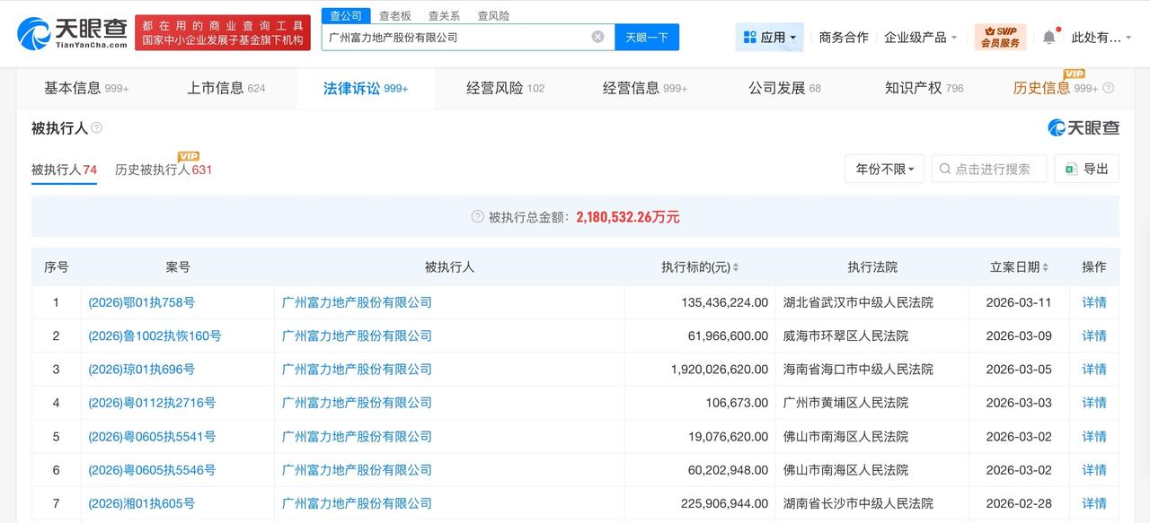
富力地产等被执行1.35亿 天眼查法律诉讼信息显示,近日,广州富力地产股份有限公司、武汉东西湖富力房地产开发有限公司等新增一则被执行人信息,执行标的约1.35亿余元,执行法院为湖北省武汉市中级人民法院。 广州富力地产股份有限公司成立于1994年8月,法定代表人为李思廉,注册资本约37.5亿人民币,经营范围包括房地产开发经营、酒店管理等。股东信息显示,该公司由李思廉、张力、陈量暖等共同持股。天眼风险信息显示,该公司现存70余条被执行人信息,被执行总金额超200亿元。此外,该公司还存在限制消费令、失信被执行人(老赖)及终本案件信息。 天眼查信息:


