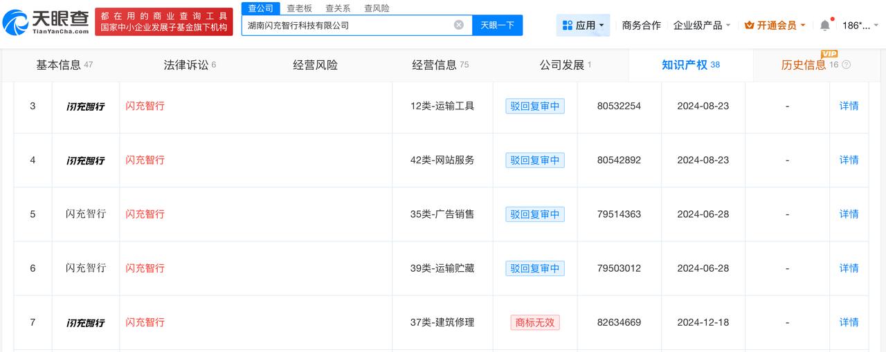
天眼查数据:问题电动自行车闪充智行去年增资5000万 闪充智行多枚商标申请已被驳回 央视315晚会曝光狂飙的租赁电动自行车问题,闪充智行被点名。 天眼查App显示,“闪充智行”关联公司湖南闪充智行科技有限公司成立于2024年5月,法定代表人为文玲,注册资本1亿人民币,经营范围包括电动自行车销售、新能源汽车换电设施销售、电动自行车维修、计算机软硬件及辅助设备零售等,由海南讯能威科技有限公司、湖南通电科技有限公司共同持股。变更记录显示,2025年10月,该公司注册资本由5000万人民币增资至1亿人民币,增幅100%。知识产权信息显示,该公司申请的多枚“闪充智行”商标申请已被驳回。 天眼查信息:


