电动化浪潮下,保时捷突然给燃油车续上“大招”!近日其六冲程发动机专利正式获批,这套能让燃油效率飙升至45%以上、马力暴涨25%的黑科技,直接让车圈炸了锅——有人说“内燃机的春天回来了”,也有人质疑“结构复杂到修不起”。
要搞懂这技术有多牛,先得对比传统四冲程发动机。咱们平时开的燃油车,靠“进气、压缩、做功、排气”四步完成循环,曲轴转两圈才产生一次动力,热效率大多卡在30%-40%,不少能量随废气浪费了。而保时捷的六冲程玩起了“能量压榨术”,把循环变成“进气、压缩、做功、再压缩、再做功、排气”,曲轴转三圈就能实现两次动力爆发。

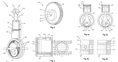
关键秘诀藏在一套“偏心齿轮魔术”里。曲轴连接的行星齿轮带偏心元件,转动时能让活塞在气缸里走出特殊轨迹,实现83毫米到118毫米的可变冲程。第一次做功后,缸壁侧孔会及时打开扫气,排出废气的同时吸入新鲜空气,紧接着进行第二次压缩和燃烧,相当于把传统发动机浪费的余热和未燃尽燃料“二次利用”了[__LINK_ICON]。
这样的设计带来三重暴击:动力上,两次做功冲程直接让马力提升25%;油耗上,每滴燃油的能量被榨得更干净,日常代步成本直降;排放上,燃烧更充分让废气减少33%,完美应对环保法规。更绝的是,它还能适配三缸结构——通过3的倍数气缸布局抵消振动,有望造出“不抖还暴躁”的三缸机,这可是行业多年的难题。
但热闹背后,争议也随之而来。最核心的质疑集中在“可靠性”上:新增的两次冲程需要额外的机械部件和精密控制系统,还要和变速箱、电子单元完美匹配,制造成本至少涨三成,后期维修更是“贵到肉疼”[__LINK_ICON]。有修了20年发动机的老技师直言:“传统四冲程修起来都头大,这六冲程坏了,估计得返厂拆发动机。”
更现实的是商业化难题。早年间就有车企尝试过“水蒸气二次做功”的六冲程技术,却栽在气缸腐蚀、水雾控制精准度等问题上。保时捷虽用机械结构避开了水雾难题,但可变冲程带来的金属疲劳、高温高压下的密封问题,都是量产前必须跨过的坎。

网友的讨论更是泾渭分明。性能党直呼“狂喜”:“911装上这发动机,岂不是能追着电动车跑?”环保派却泼冷水:“再省油也不如电动,纯属技术炫技。”还有务实车主算得精明:“要是保养一次贵两千,省的油钱根本不够填坑。”
其实保时捷的野心早有端倪。在电动化布局的同时,它始终没放弃内燃机研发——从水平对置发动机到混动系统,每一步都在挖掘燃油潜力。这次六冲程专利,更像是给燃油车留下的“后手”:既能满足性能控对声浪和驾驶感的执念,又能靠高效应对法规压力。
目前专利尚未透露量产时间表,但这已经足够颠覆市场认知。毕竟在很多人眼里“注定淘汰”的内燃机,被保时捷硬生生玩出了新可能。
你觉得这六冲程发动机会量产吗?是燃油车的“续命丹”还是“技术花瓶”?评论区聊聊你的看法!