本期一等奖中奖情况:北京1注,上海1注,浙江2注,福建1注,山东2注,湖北1注,广东5注,西藏1注,共14注。
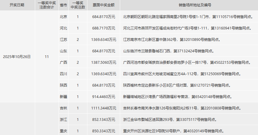
第2025123期中奖明细,包括具体投注地点,投注站号如下
近二十期一等奖,二等奖开奖结果如下
近二十期走势,遗漏,和值如下
提醒:1、每期投入少于10元,每月投入不超过100元。
2、任何分析都无预测功能
备忘:1、看点:05、08、13、21、23、24、25、26、28、32 / 02、06、12
本文由小编根据中国福彩网开奖信息所得,无任何预测引导功能。
本期一等奖中奖情况:北京1注,上海1注,浙江2注,福建1注,山东2注,湖北1注,广东5注,西藏1注,共14注。
第2025123期中奖明细,包括具体投注地点,投注站号如下
近二十期一等奖,二等奖开奖结果如下
近二十期走势,遗漏,和值如下
提醒:1、每期投入少于10元,每月投入不超过100元。
2、任何分析都无预测功能
备忘:1、看点:05、08、13、21、23、24、25、26、28、32 / 02、06、12
本文由小编根据中国福彩网开奖信息所得,无任何预测引导功能。