DC娱乐网

时隔20多年国资入股成二股东,剑南春走向引猜想

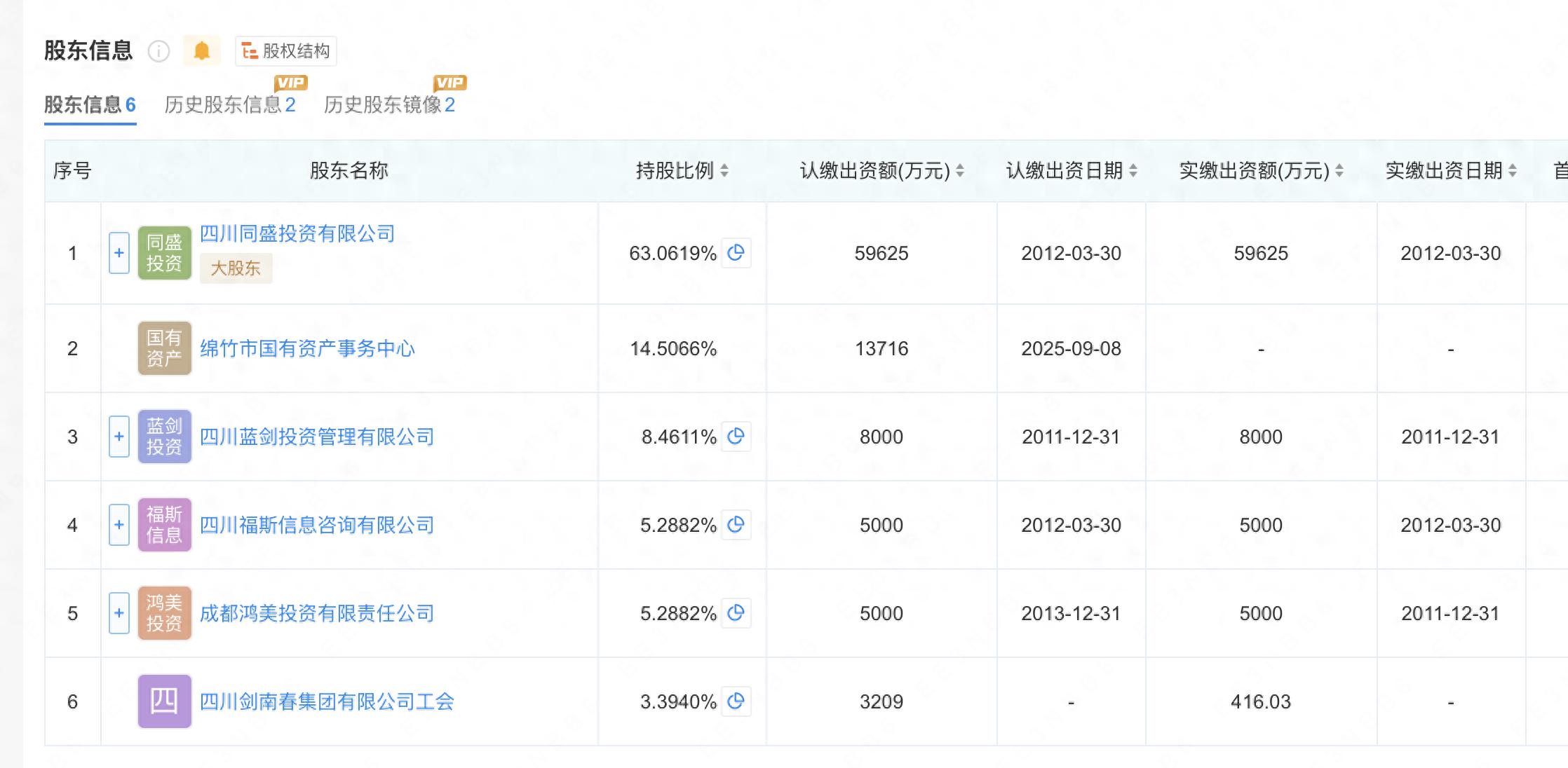
四川剑南春(集团)有限责任公司(简称“剑南春集团”)日前发生工商变更,绵竹市国有资产事务中心以1.3716亿元获得剑南春

四川剑南春(集团)有限责任公司(简称“剑南春集团”)日前发生工商变更,绵竹市国有资产事务中心以1.3716亿元获得剑南春集团约14.51%股权,成为第二大股东。这也是时隔20多年后,国资再入股剑南春。同时,剑南春集团第一大股东四川同盛投资有限公司持股比例从74.1439%降至63.0619%。

曾经的“茅五剑”时期,剑南春一时辉煌,错失高端化黄金期后,早已失去白酒前三地位。专家分析认为,引入国资背书,可以增强流动性支持。但大股东股权变更后,或许也将失去部分事务的绝对控制力。此外,是否会引发内部管理人员调整也引发猜测。

对于股权变更相关问题,9月16日,新京报记者致电剑南春集团,销售部门人员称,“建议关注剑南春官方信息发布”。

国资再入股成二股东

企查查显示,四川剑南春(集团)有限责任公司近日完成工商变更,注册资本由约8.08亿元增至约9.46亿元,增幅约17%。

同时,该公司股权结构发生变更,绵竹市国有资产事务中心通过认缴1.3716亿元出资额的方式,获得14.5066%股权,成为公司第二大股东。另据媒体报道,从股权认缴明细来看,绵竹市国有资产事务中心的出资方式为债权。

与此同时,剑南春集团第一大股东四川同盛投资有限公司持股比例由74.1439%变更至63.0619%,四川蓝剑投资管理有限公司持股比例由9.948%变更至8.4611%,四川福斯信息咨询有限公司持股比例由6.2175%变更至5.2882%,成都鸿美投资有限责任公司持股比例由6.2175%变更至5.2882%,四川剑南春集团有限公司工会持股比例由3.4731%变更至3.394%。

企查查显示的剑南春集团股权信息。平台截图

剑南春集团的法定代表人、总经理为乔愚,实际控制人、董事长为乔天明,乔愚系乔天明之子。四川同盛投资有限公司法定代表人为乔天明,也是该公司实控人和受益人,持股41%。绵竹国资持股后,四川同盛投资有限公司仍为剑南春集团第一大股东。

这也是剑南春国企改制为民企后,再迎来国资持股。公开报道显示,剑南春位于四川省绵竹市,前身为国营绵竹酒厂。2003年,剑南春进行国企改制,由时任董事长的乔天明以及其他高管组建投资公司,成为剑南春的大股东,并实现国资退出。

改制的剑南春在21世纪前10年一度风光无限,彼时正处于中国白酒行业上行的“大周期”,剑南春曾在2012年底以6.08亿元夺得央视广告“标王”。然而,近十余年来,剑南春虽然已经挤入百亿阵营,但早已失去往昔风采。

根据《公司法》规定,股东要实现对公司绝对控制,需持股比例达到67%以上,才能决定公司修改章程、增减资、合并分立、解散等重大事项。大股东持股由74%降至63%,是否意味着不再拥有绝对控制权?

炜衡北京总所合伙人、律师王培对此表示,《公司法》第四十三条规定“股东会会议由股东按照出资比例行使表决权。但是,公司章程另有规定的除外”。这也意味着,公司章程未作特别约定的,表决权比例等于出资比例。但是当公司章程约定不按出资比例行使表决时,则会有少数几个股东所持的表决权比例远大于其出资比例,并且这些表决权足以决定公司的重大经营决策和人事安排。老板的权力虽来源于出资,但取决于其持有的表决权。剑南春集团的大股东持股下降到63%,是否有绝对控制权需要看该公司的章程是否有特别约定,如公司对于表决权有特别约定,那么剑南春集团的大股东可能依然有绝对控制权。

另据王培介绍,当大股东持有67%的表决权时,就能够单独决定修改公司章程、增资、减资、公司合并、公司分立、变更公司形式等重大事项,绝对控制权基本上相当于拥有100%表决权。所以,绝对控制权可以说是“剔除缺点的完全控制权”。当大股东不拥有绝对控制权的时候,需与其他股东协商合作,重大事项需三分之二以上表决权通过,决策效率可能降低,易受其他股东意见影响。

香颂资本董事沈萌对此也表示,第一大股东从74.1439%变更至63.0619%,对公司的控制权是否变化,要看公司章程中对于不同事务设定的批准规定。如果存在股份超过2/3批准的事项,那么此次增资后大股东将失去部分事务的绝对控制力,但仍可能通过实际控制董事会,保持对公司的实际控制。

对于股权变更以及相关影响,9月16日,新京报记者致电剑南春集团,接线人员称,媒体对接由销售部门负责,销售部门客服人员称主要回复产品相关问题,股权问题“建议关注剑南春官方信息发布”。

错失高端化黄金期

提及剑南春,人们会想起“茅五剑”时期,剑南春也曾挤进中国白酒的第一阵营,与茅台、五粮液并肩。过去十多年间,白酒行业曾经历黄金发展期、深度调整期和结构复苏期等发展阶段,茅台、五粮液稳坐前两名,洋河股份、泸州老窖、山西汾酒等发力争第三,但是前三名再无剑南春的身影。

根据四川德阳日报2020年7月的报道,“2018年,剑南春营收已突破百亿元,仅成都市场超4亿元,2019年营收实现120亿元。”另据四川省人民政府新闻办公室官微“四川发布”消息,2020四川企业100强名单中,剑南春集团营收102.26亿元;2021四川企业100强名单中,剑南春集团营收111.80亿元。

尽管剑南春已经进入百亿阵营,但由于错失白酒高端化黄金十年,造成高端价格带产品培育不及时,导致中高端价格带水晶剑南春持续多年扛起营收主力。

而这十余年间,剑南春风波不断。公开报道显示,2012年8月10日,乔天明推出一份职工股权信托计划,旨在将职工手中的出资证明换成信托证明,弱化职工股权。在员工们看来,这实际上否定了自己的公司股东身份,随即引发剑南春大规模停工事件,并引发职工代表公开质疑,称资产审计中暴露出“剑南春可能涉及偷漏税及国有资产流失”的问题。

自2015年5月起,乔天明曾长期失联。2018年9月,四川省乐山市中级人民法院公开审理剑南春集团董事长兼总经理乔天明涉嫌行贿、私分国有资产案。2023年3月,四川省乐山市中级人民法院一审公开宣判,经审理查明,其中在改制期间,乔天明伙同他人,通过伪造财务资料等方式隐匿国有资产2.635736亿元归改制后的剑南春所有。根据一审结果,对乔天明以行贿罪,判处有期徒刑2年,以私分国有资产罪,判处有期徒刑4年,并处罚金4亿元,决定执行有期徒刑5年,并处罚金4亿元;私分的国有资产及其相应收益予以追缴,返还四川省绵竹市人民政府。

2022年,剑南春官网信息显示,由乔愚担任剑南春集团副董事长、总经理,主持公司全面工作。此后,乔愚一直以该身份出席活动。企查查显示,剑南春集团的董事长依然是乔天明。

300亿元目标承压

在业内人士看来,乔愚执掌剑南春的3年多时间中,其本人较为低调,鲜少公开露面发声。新京报记者也未查询到该公司在此期间发布具体营收数据。根据四川省工商联2023年、2024年发布的四川民营企业100强名单,剑南春集团分别以157.5亿元、169.4亿元的营收总额入榜。以此计算,该公司营收增长不足一成,且与曾经“茅五剑”中贵州茅台、五粮液之间的营收已有巨大差距。

白酒行业分析师、中原基金大消费执行合伙人晋育锋此前接受新京报记者采访时表示,错失冲刺白酒高端市场黄金时期的剑南春,夺回昔日江湖地位的几率不大。如何巩固现有次高端市场、找到第二增长极等,是剑南春实现突围需要解决的问题。

此外,四川日报2022年发布的一篇剑南春相关报道中提到,乔愚当年谈及剑南春的目标是,“围绕‘十四五’发展目标,力求2025年末销售收入达到300亿元”。

如今,2025年已然过大半,剑南春完成300亿目标并不容易。从20余家白酒上市公司2025年半年报数据看,多家头部酒企降速求稳,对于仍处在百亿阵营的剑南春而言,这一轮新周期下,面临行业竞争加剧的同时,国资入股后是否会出现内部管理人员调整也引发猜测。

国资入股后的剑南春走向备受关注。沈萌向新京报记者表示,引入国资一方面可以增强流动性支持,另一方面也可以得到当地国资对企业发展的背书。

王培认为,国资入股往往与地方产业规划紧密结合,有助于强化企业与地方产业战略的协同,提升区域经济竞争力。国资通过市场化运作,也可实现资源的优化配置,提高企业运营效率。

新京报记者 秦胜南

编辑 李严

校对 王心