大家好,我是徐小夕。架构师,曾任职多家上市公司,多年架构经验,打造过上亿用户规模的产品,目前全职创业,主要聚集于“Dooring AI零代码搭建平台”和“flowmixAI多模态办公软件”
之前和大家分享了我实现的 pxcharts 多维表格编辑器和协同文档编辑器:
px-doc,一款开箱即用的协同文档编辑器
pxcharts多维表格ultra版:AI + 多维表,工作效率飙升!
最近很多小伙伴想让我分享一下如何实现复杂表格组件,以及设计复杂表格组件需要考虑哪些技术点,作为一名“骨灰级程序员”,今天我就拿我做的 pxcharts 多维表格pro版为例,和大家详细分析一下如何优雅实现一款复杂的表格组件。
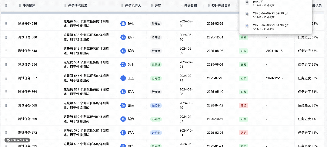
先上效果演示:

pxcharts
Pxcharts Pro 是一款基于 React 18+ 构建的现代化多维表格编辑器。这个项目提供了强大的数据管理、可视化展示和交互功能,支持多种视图模式(表格视图、图表视图、看板视图等),并支持百万级数据渲染。
核心特性多表格管理支持创建和管理多个独立的数据表格多种视图模式表格视图、图表视图、看板视图高性能渲染支持虚拟化滚动,优化大数据量渲染性能丰富的交互功能拖拽排序、筛选、搜索、分组等数据导入导出支持多种格式的数据导入和导出自定义配置灵活的字段配置、颜色规则、主题设置在设计这样的复杂表格组件之前,我们需要提前构思好它的技术架构,下面我会分享一下 pxcharts 多维表格编辑器的技术架构,以及核心的技术实现原理,帮助大家快速上手复杂表格开发。
技术架构设计

由于我们实现的多维表格比较复杂,需要考虑它的多种形态和数据流转,所以我们需要提前规划好它的架构模块实现,如上图所示,同时需要提前做好技术选型,下面是我做的技术选型,大家也可以参考一下。
核心框架Next.js 15.2.4React 全栈框架,提供 SSR/SSG 支持React 19最新版本的 React,支持并发特性和新的 HooksTypeScript 5类型安全的 JavaScript 超集UI 组件库Radix UI无样式的可访问组件库,提供基础组件Tailwind CSS 3.4.17实用优先的 CSS 框架Shadcn/ui基于 Radix UI 的现代化组件库Lucide React精美的图标库数据管理React Hook Form 7.54.1高性能表单状态管理Zod 3.24.1TypeScript 优先的模式验证Date-fns 4.1.0现代化的日期处理库图表和可视化Recharts基于 React 的图表库React Window虚拟化滚动组件,优化大数据量渲染其他工具Sonner现代化的 Toast 通知CMDK命令面板组件React Resizable Panels可调整大小的面板Embla Carousel轮播组件我基本上都是采用现在主流的技术方案,保证了项目实现的先进性和极致的性能体验。
接下来我就和大家分享一下核心模块的技术实现。
核心模块技术实现

pxcharts
1. 状态管理模块实现
项目采用 React Context + Hooks 的状态管理模式:
// 核心状态接口 interface MultiTableContextType { tables: TableConfig[] // 所有表格配置 currentTableId: string // 当前选中的表格ID currentTable: TableConfig | null // 当前表格配置 displayData: TaskData[] // 当前显示的数据(包含过滤) // ... 操作方法 }使用这种方案的优势如下:
避免 Props Drilling状态集中管理,易于调试支持多表格切换响应式状态更新2. 组件分层设计
App (page.tsx) ├── MultiTableProvider (Context Provider) ├── Header │ └── TableManager (表格选择器) ├── ViewTabs (视图切换) ├── TableToolbar (工具栏) └── Main Content ├── CrossGroupTableView (表格视图) ├── FixedChartView (图表视图) └── PerformanceMonitor (性能监控)3. 数据流转架构设计
用户操作 → 组件事件 → Context 方法 → 状态更新 → 组件重渲染 ↓ 数据变更 → 触发相关计算 → 更新 displayData → 视图更新4. 数据模型设计

pxcharts
由于多维表格的数据结构相对比较复杂,所以我们需要清晰的划分不同模块的数据模型。接下来和大家分享一下我设计的数据模型结构。
TaskData接口设计:
interface TaskData { id: string // 唯一标识 title: string // 任务标题 description: string // 任务描述 status: "进行中" | "已完成" | "待开始" // 任务状态 priority: "重要紧急" | "紧急不重要" | "重要不紧急" | "不重要不紧急" // 优先级 assignee: string // 执行人 startDate: string // 开始日期 dueDate: string // 截止日期 completedDate?: string // 完成日期(可选) isOverdue: boolean // 是否延期 progress: string // 进度描述 [key: string]: any // 支持自定义字段 }TableConfig 接口设计:
interface TableConfig { id: string // 表格唯一标识 name: string // 表格名称 description?: string // 表格描述 columns: ColumnConfig[] // 列配置 data: TaskData[] // 表格数据 groupBy?: string // 分组字段 sortBy?: string // 排序字段 filters: Record<string, any> // 过滤条件 rowHeight?: number // 行高 colorRules?: ColorRule[] // 颜色规则 filteredData?: TaskData[] // 过滤后的数据 enableVirtualization?: boolean // 是否启用虚拟化 enableSearch?: boolean // 是否启用搜索 enableFilters?: boolean // 是否启用过滤 enableSort?: boolean // 是否启用排序 enableExport?: boolean // 是否启用导出 theme?: string // 主题设置 }ColumnConfig 接口设计:
interface ColumnConfig { id: string // 列标识 title: string // 列标题 width: number // 列宽度 type: "text" | "select" | "date" | "user" | "progress" | "checkbox" // 列类型 editable: boolean // 是否可编辑 visible: boolean // 是否可见 options?: string[] // 选项(用于select类型) }为了更直观的让大家了解数据关系,我花了一个数据模型分层图:
TableConfig (表格配置) ├── columns: ColumnConfig[] (列配置) ├── data: TaskData[] (数据行) ├── filters (过滤条件) ├── colorRules (颜色规则) └── settings (表格设置) TaskData (数据行) ├── 基础字段 (id, title, description) ├── 状态字段 (status, priority) ├── 时间字段 (startDate, dueDate, completedDate) ├── 人员字段 (assignee) └── 自定义字段 (通过 [key: string]: any 支持)5. 多维表格组件视图的实现

pxcharts
如果想创建一个自定义的表格视图,可以参考如下方案设计:
import { useState, useMemo } from "react" import { useMultiTable } from "@/components/multi-table-provider" import { Button } from "@/components/ui/button" import { Card, CardContent, CardHeader, CardTitle } from "@/components/ui/card" interface CustomViewProps { Name?: string title?: string } export function CustomView({Name, title = "自定义视图" }: CustomViewProps) { const { currentTable, displayData } = useMultiTable() const [localState, setLocalState] = useState("") // 计算派生状态 const computedData = useMemo(() => { if (!displayData) return [] // 自定义计算逻辑 return displayData.filter(item => /* 过滤条件 */) }, [displayData]) // 事件处理函数 const handleAction = () => { // 处理逻辑 } if (!currentTable) { return <div>请选择表格</div> } return ( <div className={className}> <Card> <CardHeader> <CardTitle>{title}</CardTitle> </CardHeader> <CardContent> {/* 组件内容 */} <div className="space-y-4"> {computedData.map((item) => ( <div key={item.id} className="p-4 border rounded"> {/* 项目内容 */} </div> ))} </div> <Button onClick={handleAction} className="mt-4"> 执行操作 </Button> </CardContent> </Card> </div> ) }6. 扩展多维表格列的类型

pxcharts
真实的企业场景中,都会基于自身需求来扩展表格字段类型,所以 pxcharts 多维表格编辑器也支持了字段类型的扩展,下面和大家分享一下如何扩展一个字段类型:
// 在 multi-table-provider.tsx 中扩展 ColumnConfig 接口 export interface ColumnConfig { id: string title: string width: number type: "text" | "select" | "date" | "user" | "progress" | "checkbox" | "rating" | "color" // 新增类型 editable: boolean visible: boolean options?: string[] // 新增配置选项 minValue?: number maxValue?: number step?: number colors?: string[] } // 在 enhanced-table-view.tsx 中添加新的渲染逻辑 const renderCell = (task: TaskData, column: ColumnConfig) => { switch (column.type) { case "rating": return ( <div className="flex space-x-1"> {[1, 2, 3, 4, 5].map((star) => ( <button key={star} onClick={() => handleRatingChange(task.id, star)} Name={`text-lg ${star <= (task[column.id] || 0) ? 'text-yellow-400' : 'text-gray-300'}`} > ★ </button> ))} </div> ) case "color": return ( <div className="flex space-x-2"> {column.colors?.map((color) => ( <button key={color} onClick={() => handleColorChange(task.id, color)} Name={`w-6 h-6 rounded-full border-2 ${ task[column.id] === color ? 'border-gray-800' : 'border-gray-300' }`} style={{ backgroundColor: color }} /> ))} </div> ) default: return <span>{task[column.id]}</span> } }7. 扩展颜色系统

pxcharts
为了让多维表格支持各种风格,在企业使用上可以千人千面,我采用了目前主流的css方案——原子化css模型——tailwindCSS。它可以很方便的扩展或者切换颜色主题,下面分享一下使用tailwindCSS控制颜色主题的配置方案:
// tailwind.config.ts import type { Config } from "tailwindcss" const config: Config = { content: [ "./pages/**/*.{js,ts,jsx,tsx,mdx}", "./components/**/*.{js,ts,jsx,tsx,mdx}", "./app/**/*.{js,ts,jsx,tsx,mdx}", ], theme: { extend: { colors: { // 自定义品牌色 brand: { 50: '#f0f9ff', 100: '#e0f2fe', 500: '#0ea5e9', 600: '#0284c7', 700: '#0369a1', 900: '#0c4a6e', }, // 自定义状态色 status: { success: '#10b981', warning: '#f59e0b', error: '#ef4444', info: '#3b82f6', } }, spacing: { // 自定义间距 '18': '4.5rem', '88': '22rem', '128': '32rem', }, animation: { // 自定义动画 'fade-in': 'fadeIn 0.5s ease-in-out', 'slide-up': 'slideUp 0.3s ease-out', 'bounce-gentle': 'bounceGentle 2s infinite', }, keyframes: { fadeIn: { '0%': { opacity: '0' }, '100%': { opacity: '1' }, }, slideUp: { '0%': { transform: 'translateY(20px)', opacity: '0' }, '100%': { transform: 'translateY(0)', opacity: '1' }, }, bounceGentle: { '0%, 100%': { transform: 'translateY(0)' }, '50%': { transform: 'translateY(-10px)' }, }, } }, }, plugins: [require("tailwindcss-animate")], } export default config8. 性能优化策略

pxcharts
为了让多维表格支持大数据渲染,我们不得不考虑性能优化,这也是很多复杂组件设计需要考虑的环节。
1. 虚拟化滚动我们可以使用 react-window 实现虚拟化滚动,只渲染可视区域的数据:
// 虚拟化表格组件 export function VirtualizedTable({ data, columns, height = 600, itemHeight = 50 }) { return ( <List height={height} itemCount={data.length} itemSize={itemHeight} width="100%"> {Row} </List> ) }性能提升:
大数据量下渲染性能提升 10x+内存占用减少 80%+滚动流畅度显著提升2. 计算优化使用 useMemo 优化计算密集型操作:
const groupedData = useMemo(() => { if (!currentTable?.data) return {} const groups: Record<string, TaskData[]> = {} currentTable.data.forEach((task) => { const groupKey = getGroupKey(task) if (!groups[groupKey]) { groups[groupKey] = [] } groups[groupKey].push(task) }) return groups }, [currentTable?.data, currentTable?.groupBy])3. 状态更新优化批量状态更新,减少不必要的重渲染:
const updateTable = (tableId: string, updates: Partial<TableConfig>) => { setTables((prev) => prev.map((table) => table.id === tableId ? { ...table, ...updates } : table )) }9. 配置驱动

pxcharts
表格行为通过配置驱动,支持运行时修改, 这样可以极大程度提升表格组件的易用性,下来是一个配置化的参考案例:
// 动态启用/禁用功能 const tableConfig: TableConfig = { enableVirtualization: true, // 启用虚拟化 enableSearch: true, // 启用搜索 enableFilters: true, // 启用过滤 enableSort: true, // 启用排序 enableExport: true, // 启用导出 }当然我们也可以设计插件化架构,定义插件的统一接口,方便后期需求的扩展:
// 视图扩展接口 interface ViewExtension { id: string name: string component: React.ComponentType icon: React.ComponentType enabled: boolean } // 工具栏扩展接口 interface ToolbarExtension { id: string component: React.ComponentType position: 'left' | 'right' order: number }文档地址:http://doc.pxcharts.com
当然还有很多功能我会在接下来的文章中和大家持续分享。
如果大家感兴趣,欢迎留言反馈~