DC娱乐网

深圳法拍福田南山多套豪宅成交结果跌落信仰神坛,楼市乌云密布

最近深圳楼市市场可谓乌云密布,福田区和南山区传统豪宅区多套豪宅拍卖成交结果差强人意,无论从报名人数,出价结果都是直接被腰

最近深圳楼市市场可谓乌云密布,福田区和南山区传统豪宅区多套豪宅拍卖成交结果差强人意,无论从报名人数,出价结果都是直接被腰斩。在传统楼市金九银十的季节里,出现这样的楼市豪宅拍卖成交结果,对于深圳楼市后市豪宅走向,以及后续对深圳整体楼市的影响有多大,我们将会持续关注深圳困境资产近期拍卖动向。

我们下面来看看近期一个月拍卖成交的深圳福田区香蜜湖豪宅片区一哥水榭花都及熙园拍卖成交情况案例,南山区红树湾片区红树西岸以及深圳湾豪宅一哥恒裕滨城花园几个案例,是拍卖成交偶然机会还是会引发深圳后期楼市腥风血雨,我们娓娓道来。

1、广东省深圳市福田区莲花西路与香蜜湖路交界东南熙园4栋A座602房,拍卖成交时间2023年9月28日,1人参加报名出价,拍卖成交价格38805883.2元,证载面积294平方米,折合单价13.2万元一平方米。

我们来回顾一下该小区有可比性2022年11月21日其他拍卖案例,同样为该小区复式楼,面积相反,位置差强于4栋的另外一套,深圳市福田区莲花西路与香蜜湖路交界东南熙园2栋A座1605号房产,拍卖成交时间2022年11月21日,2人参加报名出价,拍卖成交价格4548万元,证载面积280.7平方米,折合单价16.2万元一平方米。

2、广东省深圳市福田区香梅路与红荔路交汇处香蜜湖水榭花都(三期)鸣翠居1栋9A房产,拍卖成交时间2023年10月24日,3人参加报名出价,拍卖成交价格4450万元,证载面积306.76平方米,折合单价14.51万元一平方米。该拍卖涉案房产为该小区板楼大平层楼王户型产品,位于该小区楼王位置,阳台客厅视野可以全景看到香蜜湖。

目前正在挂网变卖深圳市福田区香梅路与红梨路交汇处香蜜湖水榭花都(三期)鸣翠居8栋7D,变卖结束时间为2023年12月4日,经过一拍3800万无人报名出价流拍、二拍3420万无人报名出价流拍。现在处于变卖阶段,变卖价格维系二拍价格3420万元,证载面积194.34平方米,折合单价17.6万元一平方米。变卖阶段优势是在挂网拍卖60天内,竞买人可以随时出价竞买,出价后24小时无人参加竞争举牌出价则拍卖成交,变卖环节另外一个特点是需要报名全款保证金报名,报名成功后才可以举牌出价,而不像一拍或者二拍环节报名一般按照拍卖标的价格10%-20%即可完成报名出价。

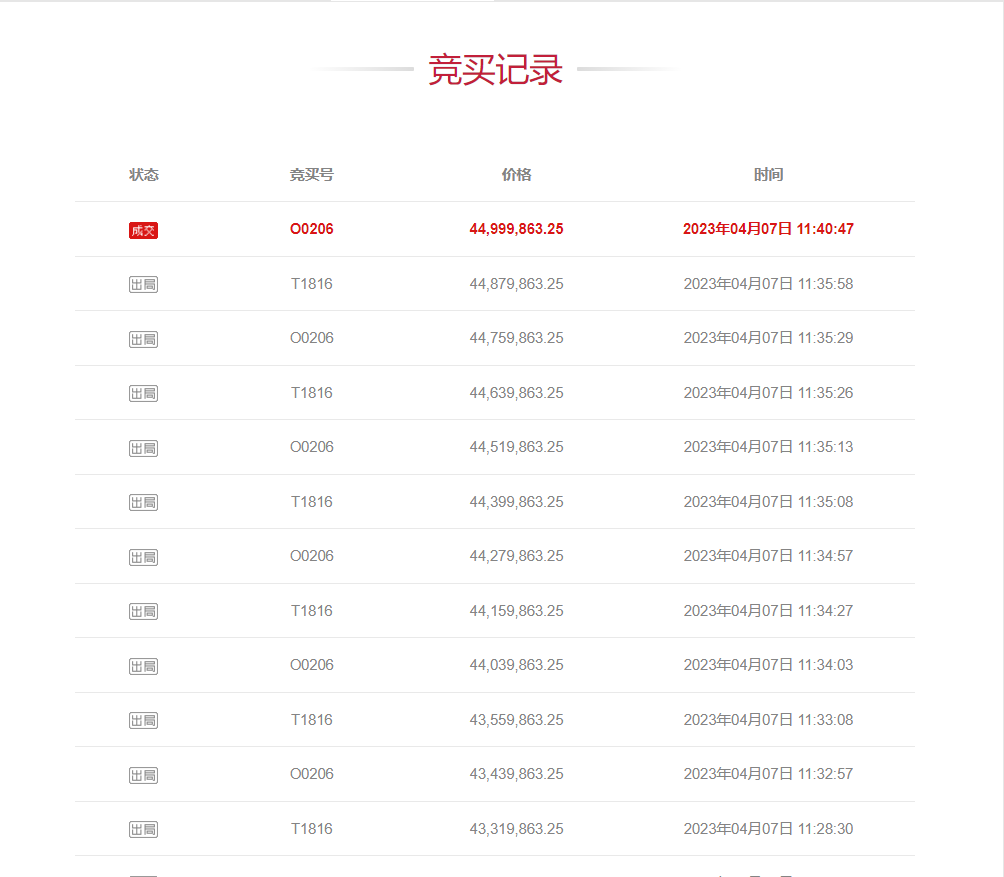
深圳市福田区香梅路与红荔路交汇处香蜜湖水榭花都(三期)鸣翠居6栋17A房产,拍卖成交时间2023年4月7日,18人参加报名出价,拍卖成交价格44999863.25元,证载面积199.91平方米,折合单价22.51万元一平方米。

3、深圳市南山区滨海大道红树湾红树西岸花园3栋4-2A房产,拍卖成交时间2023年10月24日,4人报名出价,拍卖成交价格18523488元,证载面积196.25平方米,折合单价9.44万一平方米。

该拍卖涉案房产于2019年1月27日被执行人通过法院挂网拍卖所得,当时拍卖成交价格为1600万元,由于当时拍卖执行法院拍卖成交过户所产生所有税金均由买受人全部承担,加上57个月持有环节银行利息成本,被执行人可以说是血亏,本轮这次该套拍卖房产不良来自广东华兴银行。

深圳市南山区滨海大道红树湾红树西岸花园2栋10-4B房,拍卖成交时间2022年11月18日,17人报名出价,拍卖成交价格2114万元,证载面积190.91平方米,折合单价11.07万一平方米。

4、深圳市南山区后海滨路东恒裕滨城花园(一期)B座1803A、1803B房产,拍卖成交时间2023年10月24日,4人报名出价,拍卖成交价格26199319元,证载双拼面积165.78平方米,折合单价15.8万一平方米。

深圳南山福田这几套传统豪宅片区具有代表意义的豪宅拍卖成交结果,可谓正是当下深圳楼市的一个缩影。以前即使放在二手市场炙手可热的户型楼王景观产品,在当下经济乏力,国际国内不确定政治经济因素多重影响下的市场结果。也是投资客对深圳楼市未来信心的客观真实反映,即使在2022年口罩疫情期间这些豪宅拍卖成交都是当时市场上硬通货,不折不扣的保值增值产品,而且回顾深圳豪宅近20年成交结果都是一路高歌。现在这些豪宅集体拍卖成交结果跌落信仰神坛,是否会掀起深圳楼市腥风血雨,目前深圳楼市下行趋势是处于政策底、市场底部,还是回光返照处于山腰下行前夜,我们通过表现看本质,持续关注深圳困境楼市。

欢迎评论区留言,欢迎关注朱先生说法拍房。