开篇闲聊
数播和CD哪个音质更好,一直以来都是一个很有争议的话题。
在流媒体(数播)全面主导的当下,CD 正迎来一轮温和而坚实的复兴,不少经典专辑都推出CD复刻版,形成与流媒体互补的新生态。
国内众多的专业音频厂商也纷纷推出CD机满足用户的需求,CD 机 + 唱片成为桌面美学与生活仪式感的一部分。
今天和大家分享的是来自主打高性价比HiFi音频的国产品牌弗西音频的Merak便携CD播放器。Merak 是弗西音频首款入门级 CD 播放器,主打平价 CD + 数字转盘双功能,定位桌面 HiFi 入门,2025 年 4 月在 AXPONA 展会首次亮相。

先简单了解一下弗西音频(Fosi Audio)
喜欢桌面HiFi的朋友对弗西音频应该不陌生,弗西音频(Fosi Audio) 是主打高性价比 HiFi 音频的国产品牌,2017 年创立,以 “Redefining HiFi with Unmatched Value(以极致性价比重新定义 HiFi)” 为使命,在全球入门 HiFi 市场极具影响力,产品有数字功放、解码器、数播、音箱等,主打平价、小巧、好用、音质扎实,深受消费者欢迎。
接下来是喜闻乐见的开箱环节。
白色主调的礼盒包装,正面是CD的实物展示,左上角是弗西音频的橙色英文logo,左下角是Meark portable CD player字样,橙色的 中文便携CD播放器 字样和顶部的弗西logo相呼应,简约时尚风格让人看着赏心悦目。

为什么叫Merak呢?官方的解释是
Merak的名字源自大熊座中的β大熊星(Merak)。在古代航海与天文观测中,它常被用作寻找北极星的参照星,象征着方向与指引。以此为名,我们希望Merak能成为聆听旅程中的“坐标”,在音乐世界中为用户带来更精准的空间定位与更沉浸的声音体验。
包装侧面是CD机的后视图,机器的主要接口集中在这里,后面详细介绍。

内盒正面只有一行醒目的银色字体 HEAR THE UNHEARD ,弗西音频想让用户听见那些未曾被听见的声音,细听所未闻。

打开盒子最上面是一本说明书,下面是遥控器、一根USB A-C充电线和Merak CD机。

天圆地方的设计符合现代审美,四角做了圆角过度把握更舒适,透明的舱盖可以看到整个CD的碟面,很喜欢这个设计,文艺范十足,情绪价值拉满。

机器的上盖机身采用细微磨砂质感的铝合金材质,质感很好,颜值很高,高级感拉满,颇有点苹果的味道。摸上去金属的冰感非常实在,也不会沾染指纹
按键位于机器的正面,左右三枚按键对称式设计,中间是OLED液晶屏。耳夹接口位于机身右侧,更符合操作逻辑。

机身右侧一枚橙色的圆形音量调节按键和银色的机身撞色设计让机器瞬间变得灵动起来,这也是弗西的经典色,类似调音台的推子设计操控手感很舒适。
上下盖之间的缝隙大小均匀,工艺也挺考究。

Merak CD机采用转轴式上开盖设计,转轴设计在机器的后部。 主要接口也集中在这里。从左到右依次为:ESP减震开关、LINE OUT接口、 USB接口,可以读取最大128G的U盘,OPT光纤输出口、12V Trigger联动输出接口以及TYPE-C电源口。

底面设计了4枚橡胶减震垫,上面还有弗西的logo和弗西设计的英文,在看不到的地方弗西也没有放过,真的是细节控。

电源线、遥控器和机器本体,没有随机附送充电器。Merak CD机需要5V2A以上供电才能稳定工作,低于这个数值可能会导致机器不工作。

上盖靠近液晶屏的位置设计了一个开口方便开合,开口的长度和液晶屏大小一致,细节依旧到位。上盖的阻尼适中,可以单手开合。

碟片仓同样是简约风格,靠近右侧有Merak 的字样。取碟的位置设计成圆形,空间足够大,取放碟都很方便。

激光头及转盘特写,固定碟片的三个卡爪是塑料材质。

舱盖最大可以敞开90°,换碟很舒适,不像有的机器开度在50°左右觉得很憋劲。

舱盖开合在小于30°时会自动缓慢自动关闭,内部设计了2块圆形的硅胶减震垫不用担心损伤机器。

整体来说,Merak的做工相当的精致,颜值在线,金属的质感很显档次。
再来看下机器参数:

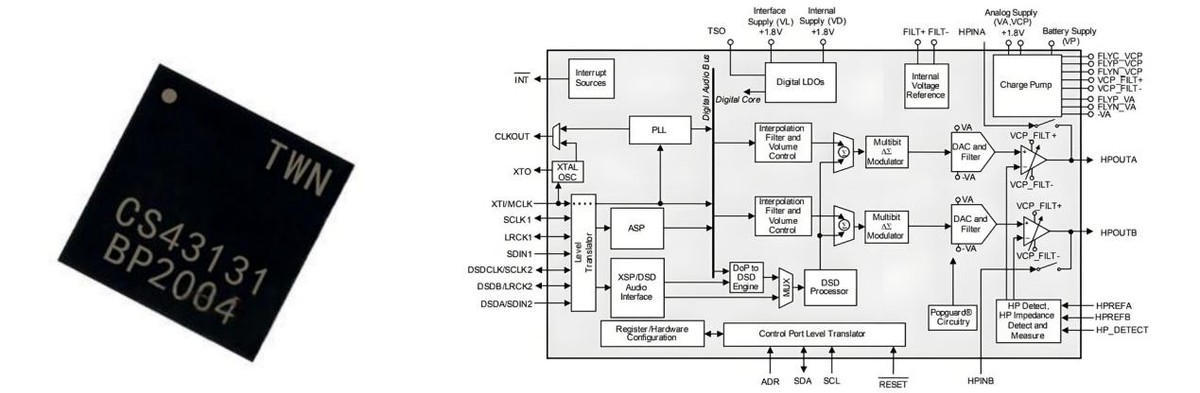
1、Merak 采用CS43131独立解码芯片+TPA6120运放设计,支持最高PCM16bit/96kHz音频解析,3.5mm耳机输出配备功率为210mWx2。

CS43131是Cirrus Logic CS431xx 系列中的主流旗舰便携方案,高性能移动 Hi‑Fi 级 DAC(32bit/384kHz PCM,DSD256;A 计权动态范围130dB,THD+N -115dB)。是目前中高端便携音频标配,常见于旗舰手机(如 iQOO 系列)、千元级小尾巴 / 耳放、中高端随身播放器等。

TPA6120A2 芯片(TI 旗舰耳放)是TI 德州仪器出品的Hi‑Fi 级立体声耳机放大器,电流反馈架构,主打高动态、低失真、强驱动,是发烧级耳放 / 解码耳放的经典芯片。输出阻抗极低(≈0.5Ω),阻尼系数高,轻松驾驭 32Ω~600Ω 全阻抗耳机(HD600/650/800、DT990、K701 等)
2、Merak CD支持光纤数字直出,不经过内部DAC处理,CD级16bit/44.1kHz原码信号直出,方便作为数字转盘连接外置DAC使用。
使用体验:
参数再高,还是不如亲耳一闻,直接开机耳朵收货才是硬道理。
这次使用林忆莲的《LOVE SANDY》来试听,这是林忆莲销量最高的一张专辑,全亚洲销量 200 万+,也是华语乐坛 90 年代现象级情歌范本,至今仍被奉为传世经典。

播放设备是傲立9000A功放+乐富豪的85周年林顿无源音箱,对比机器马兰士CD6007

开机屏幕显示弗西音频的英文logo

LINE OUT 线路输出
Merak CD的读碟挺快,放进去不到10秒就开始播放。得益于厚重的金属机身和良好的减震,机器运行平稳,机器运行的声音很小,除非凑近能听到依稀的声音。
黑底白字的OLED屏幕显示清晰锐利,可以一目了然看到音量、ESP 、音轨、播放时间、音源和输出接口等参数。
小提示:
使用LINE线路和OPT光纤输出时机器默认音量最大,此时音量调节键不起作用。

出来的声音干净通透、解析力强,三频均衡,背景足够黑。人声和乐器清晰分离开来,声场开阔规整,乐器定位清晰分明。低频下潜、量感和速度都有不错的表现,不轰头不拖沓;中频饱满温润,人声结像精准立体,器乐音色还原真实;高频延伸顺滑舒展,明亮却不刺耳,久听无疲劳感。
和大叔在用的马兰士CD6007比起来,Merak CD经过弗西音频的调音整体偏中性还原,挺耐听。
打开ESP开关后在播放过程中移动机器都不会影响正常播放,音乐没有出现断续或者跳音现象,播放流畅抗震表现优秀。
对了,Merak CD机支持开盖检测,播放过程中打开舱盖机器会自动停止播放,避免损伤碟片。
OPT光纤输出
通过光纤输出时Merak CD机会跳过自身的解码器,变身纯数字转盘。

傲立9000A采用的是ESS 旗舰级 32 位 8 声道ESS9038PRO 是 DAC,支持 768kHz PCM 与 DSD1024,动态范围达 140dB,是高端台机、解码器的核心之选。
ESS9038PRO 的声音以极致解析、高动态、强瞬态、低失真为核心,整体风格偏中性透明、素质向,是典型的 “科学 Hi-Fi” 旗舰 DAC 声音。
Merak CD机连接傲立9000A后解析、动态和瞬态方面都明显提高,声音更加通透清晰,和 Merak CD机配置的CS43131解码器相比要冷清一些。
HP耳机输出
接上耳机短按屏幕左边中间的输出模式切换键切换到HP即可使用耳机输出模式。
在耳机输出模式下可以通过机身右侧的音量调节键调节音量,所以连接前记得先将音量拉到最小。

大叔手上只有一个古老的森海塞尔HD206,24欧的阻抗属于非常好推的类型,三频表现均衡,人声自然,音量开到14就可以满足需求。
用耳机连Merak听 CD也挺舒适,因为有遥控器,切歌、调音量都很方便。
4、CD抓轨
将32G以内容量的U盘插入Merak CD机机器后面的USB接口,放入光盘开机,长按耳机旁边的按键即可进入抓轨状态,此时屏幕上会出现 REC 标识。

抓轨的同时机器会正常播放CD,可以通过耳机监听。结束后会自动停止。

抓取出来的CD音轨保存在U盘的RIP文件夹里,珍贵的CD光盘就能以数字文件格式保存起来。

5、U盘播放
除了支持CD播放,Merak还支持U盘播放音乐,最高支持16bit-96kHz-PCM的数字音乐文件,读取速度相当快,配合遥控器秒变数播,对于没有实体光盘的专辑,改听数字专辑也是不错的选择,还省下买碟的资金,奈斯!

用Merak播放数字文件比楼主用iPad mini4通过小尾巴连接音响效果要好不少,动态和瞬态反应明显更好,就是要提前下载好文件。
最后是一些使用建议:
搭配优质的电源让机器可以稳定工作
连接普通有源音箱可以使用LINE OUT接口,也可以通过OPT光纤接口连接高素质的外部DAC提升效果
可以搭配弗西自家的功放联动同步开关机,比如弗西ZH3
总结:
弗西 Merak 便携 CD 播放器兼具 CD 播放、数字转盘、U 盘播放与 CD 抓轨功能,搭载 CS43131 解码与 TPA6120 耳放,驱动能力强,可外接高端 DAC 进一步提升素质。
机身采用铝合金磨砂材质,设计精致,透明的大天窗可以直观看到CD光盘,个性化十足。接口齐全,支持 ESP 减震、多功能遥控与 12V Trigger 联动,是一款诚意满满的良心之作。
它既满足 CD 发烧友的仪式感,又适配现代数字聆听需求,是桌面 HiFi 入门的全能优选。