欢迎关注科粤知识产权,获取更多知产资讯!知产业务选科粤,助您成功!
在大年初一上映的《哪吒之魔童闹海》(即《哪吒2》),凭借其过硬的质量,票房成绩一路高歌猛进,陆续打破多项国内的电影票房记录。而哪吒2的全球票房(含预售)在2025年2月13日晚突破100亿元,成为中国影史首部票房破百亿的电影,观影人次已超过2亿。

在IP保护方面,《哪吒2》出品方光线传媒、成都可可豆动画影视有限公司等公司早早采取了全面且细致的策略,确保魔童IP的合法权益得到充分保护,避免被人恶意侵占。
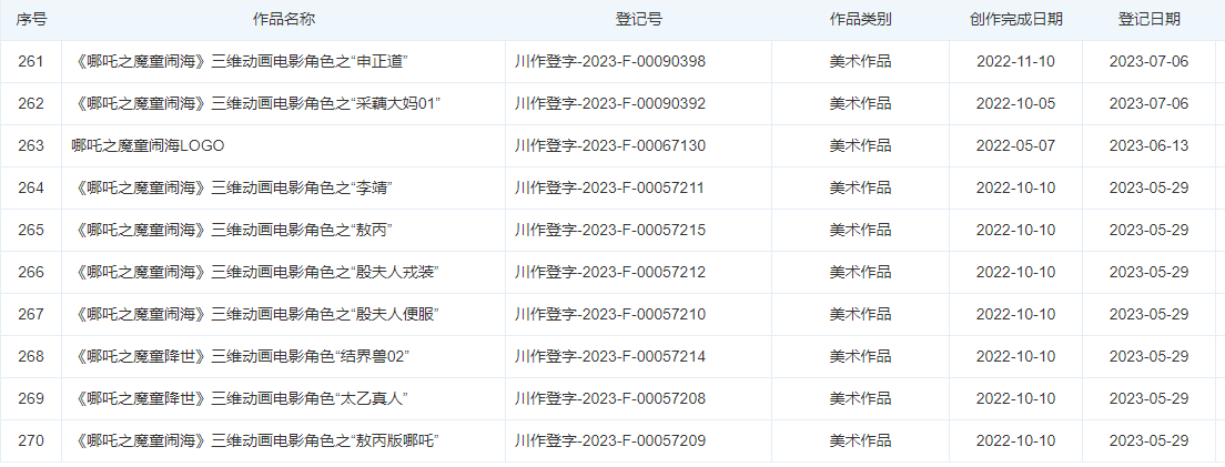
首先是著作权的登记。出品方对电影中出现的数百个角色和其衍生形态、道具都进行了全面的著作权登记,包括主要角色如哪吒、敖丙、配角如龙王、殷夫人、石矶娘娘、土拨鼠、弱视老人、乐师等和道具。除此之外,哪吒的电影剧本以及特效代码等也进行了专门的著作权登记。


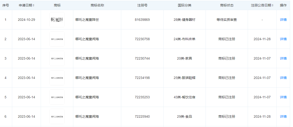
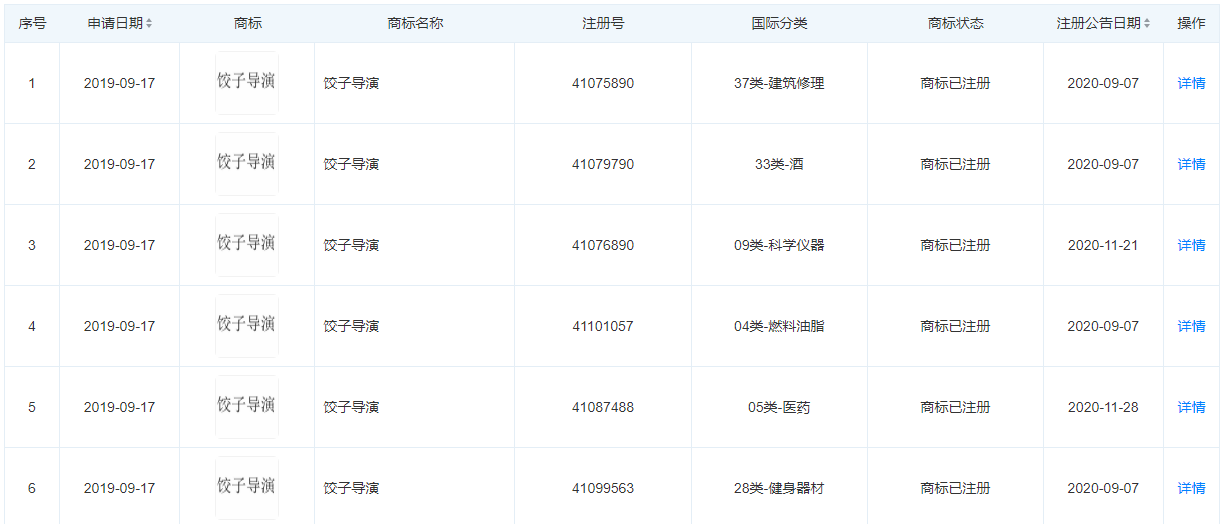
其次是商标注册。光线传媒已经为哪吒2进行商标注册,包括“魔童闹海”和“哪吒之魔童闹海”等多件商标,商标类别基本全部覆盖45类商品或服务类别。哪吒动画系列的导演饺子,也注册了“饺子导演”商标,并做了商标全类别申请,从各个维度上,确保了自身品牌标识的法律保护。


然后是专利申请。为防止未经授权的周边产品出现,出品方为角色周边产品申请了外观专利,涵盖玩偶、盲盒等商品。

最后是多元化的合作与授权。《哪吒2》与23家品牌进行了授权合作,包括蒙牛、泡泡玛特、荣耀手机等,联名商品销售额在短时间内突破4亿元。这种合作模式不仅拓展了IP的商业价值,也借助品牌的力量进一步保护了IP的市场地位。

通过这些全方位的知识产权保护,出品方能够有效打击ip盗版和未经授权的使用行为,推进国内动漫ip的商业价值最大化,IP的全面保护为电影的衍生品市场、品牌合作等提供了坚实的法律基础,确保IP的商业价值能够持续释放。同时也体现了出品方对自己品牌价值的重视,也为其他动漫ip在品牌保护方面提供了值得借鉴的范例。
欢迎点赞,留言,加关注,带你一起获取更多有趣的知产消息!