2022年理想L9上市,可以说是定义了新势力六座SUV的概念,“冰箱彩电大沙发”引起了一股热潮,很多车企都在模仿,分别造出了自家的“9系列”SUV。
即使竞争激烈,理想汽车还是在换代车L9 Livis给出了全新设计,说实话,我还是充满期待的。
外观变化
从工信部照片不难看出,作为换代车型,外观变化其实不大,继续采用理想家族化设计。车头部分,线条更立体,下方进气格栅与大灯分开,显得更具厚重感。
理想是“听劝的”,国内明确自2027年1月1日起禁止无机械冗余的全隐藏式设计。所以,新款车型将采用半隐藏式门把手,再也没有被夹手的风险。

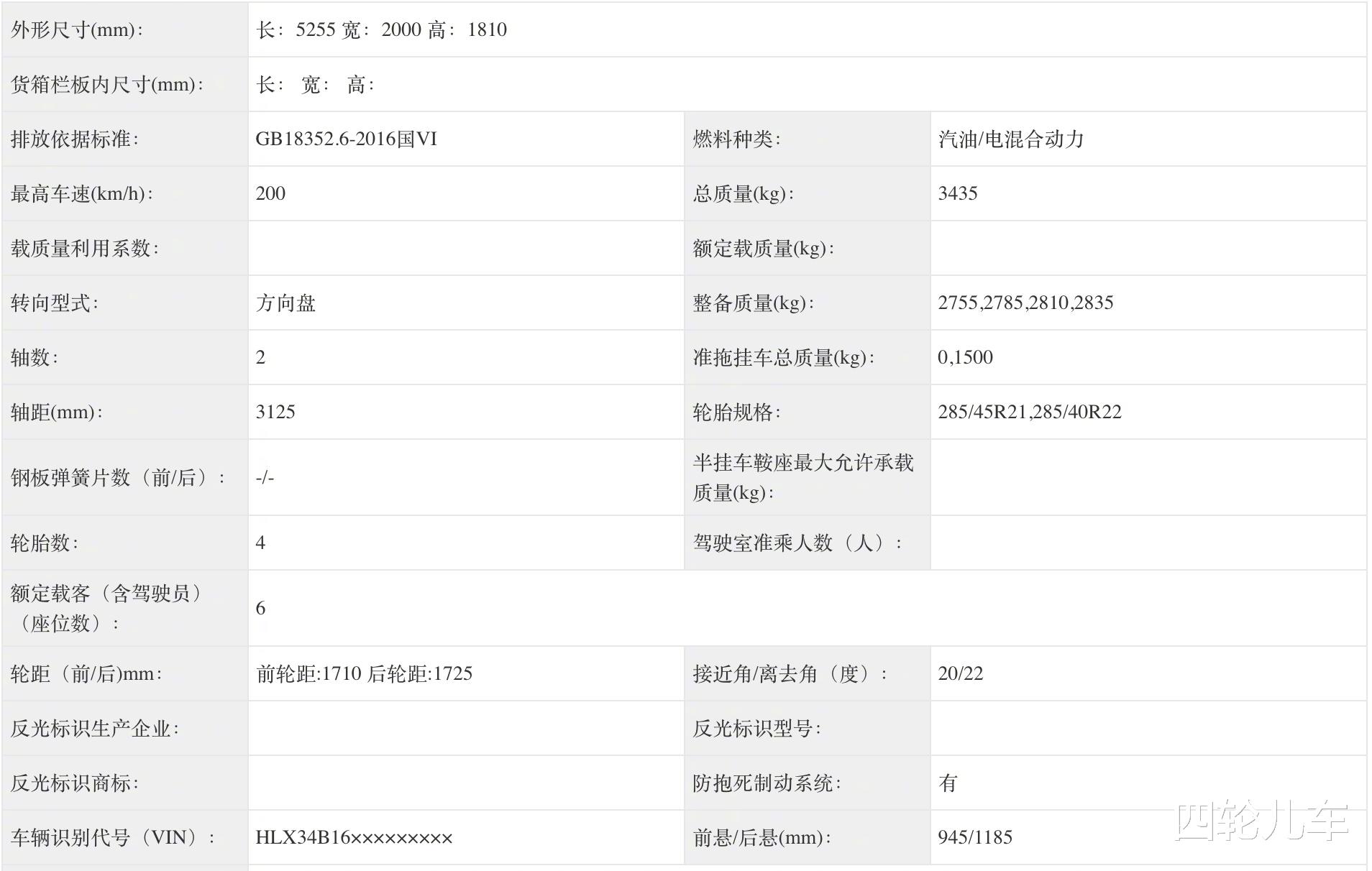
尺寸方面,长宽高分别为5255/2000/1810mm,轴距3215mm,与现款相比分别增加37/2/10mm,轴距增加110mm。我猜测大概率将把加长的部分给到第三排座椅及后备箱空间上,特别是后备箱空间,现款车型无法满足6人出行的行李需求。
新车轮毂增大至22寸,多种新样式设计,并且后胎宽度达到285mm,会显得下盘力量十足。

车尾部分,环形灯外壳发生改变,两端做了下压设计,雾灯移至最下端,后杠整体性更好。取消实体雷达探头,采用激光雷达的视觉感知技术进行替代。
技术突破
采用800V全主动悬架系统,单轮举力超10000牛,取消传统防倾杆,毫秒级响应,四轮独立实时调节,可以达到刹车不点头、过弯不侧倾的效果,并能兼顾舒适与操控性,让5.2米大车转弯半径大幅缩小,支持“一把掉头”。

896全新自研高算力智驾平台,配备2颗5nm自研马赫100芯片,总算力2560 TOPS,官方称有效算力是英伟达Thor-U的3倍。增加360°激光雷达覆盖(车顶+左右侧+车尾固态雷达)。
竖状雷达探头的样子像不像苹果手机的摄像头?神似!

现有的所有理想汽车,被吐槽最多的就是LED大灯,仅仅是单纯的LED灯,没任何科技含量。新车则是配备ADB大灯,通过摄像头或雷达实时监测道路环境(如车辆、行人位置),以此调节灯光亮度。

理想汽车又一“听劝”设计,双拼色车身首次亮相,理想L9 Livis作为终极版车型,外观更加豪华。
动力系统
新车配备72.7度大电池,相比现款增加20.4度,CLTC纯电续航里程420km;外加1.5T增程器的加持,综合续航超过1500km,最重要的是支持5C快充,用油的机会更少了。
总结本次曝光中暂未透露内饰细节,预计内饰延续6座布局,座舱全面升级(细节待公布)。这是理想L9自2022年上市后的首次大换代,从“冰箱彩电大沙发”转向智能底盘+自研芯片+全域感知的技术旗舰,主打极致舒适+顶级操控+高阶智能。
全新理想L9 Livis将于2026年第二季度上市,起售价55.98万元,不着急的朋友一定等等。