继千禾0添加商标、白象多半袋商标等品牌玩商标文字游戏事件之后,消费者对于品牌名称比较敏感。
近期,小米一款巨省电空调就因为名称问题引发热议。

在宣传页面上,小米“巨省电”字样占据核心位置,有用户曝料称其咨询小米客服后得知“巨省电” 仅是空调系列名称,并非性能指标。
在黑猫投诉平台,部分消费者反映“巨省电” 空调制冷效果一般,与宣传预期不符;但也有用户在社交平台表示“确实省电、静音好用”。这种体验差异进一步放大了争议。
对此,小米高管回应,“巨省电”是产品系列名称,但强调其能效远超国标(APF值达5.27,超一级能效标准5.65),并通过AI节能技术降低30%开机能耗,称“名副其实”。
话说到这里,小米“巨省电”能注册商标吗?
知协查询了解到,目前有2家企业提交了“巨省电”“酷开 巨省电”商标,其中第一个商标已经被驳回,出于无效,第二个商标申请于2024年11月,目前处于实质审查状态。不过业内分析,注册成功率不高。

根据《商标法》第十条第一款第七项,带有欺骗性,容易使公众对商品的质量等特点或者产地产生误认的标志不得作为商标使用。
“巨省电”直接描述了产品的主要特征(即省电效果),但该表述属于主观判断,缺乏客观量化标准,容易使消费者误以为该产品在省电性能上具有绝对优势,而实际情况可能因使用环境、使用习惯等因素存在差异。这种表述缺乏商标应有的独特性和区分性,无法有效区分不同来源的商品或服务,因此不符合商标注册的条件。
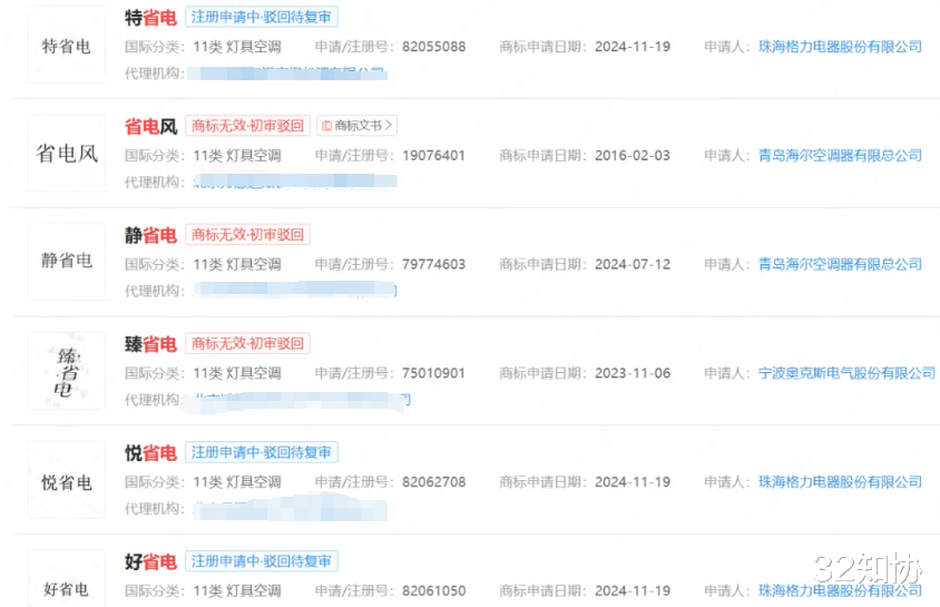
据了解,格力、美的、奥克斯等品牌曾申请“特省电”“省电王”“省电星”“悦省电”“臻省电”等商标,但多数被驳回或无效,反映行业对省电营销的争夺及监管限制。
