
我国首家开业的持牌消费金融公司——北银消费金融,近期因董事任职、业绩表现、资产质量等情况而引起业内关注。
9月中旬,北京金融监管局披露的公告显示,北银消费金融董事曹艳红的任职资格获批。此前在1月,公司两位新董事李岩和王文杰的任职资格也先后获批。
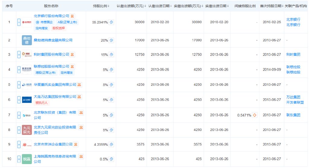
北银消费金融有限公司(简称“北银消费金融”)成立于2010年3月,总部位于北京,第一大股东是北京银行(持股35.29%),其次是西班牙桑坦德消费金融公司(持股20%),其余股东为联想控股和大连万达等民企,持股比例均不超过5%。
截至2025年6月末,北银消费金融注册资本达到8.5亿元,总资产达154.2亿元,净利润1.02亿元(同比增长50%),而在2024年末其净利润仅排在业内第19名,处于行业下游水平。
值得一提的是,北银消费金融的资产质量存在一定问题。尽管其未公开披露不良率数据,但2025年在银登网发布了3期的个人不良贷款(个人消费贷款)转让公告,未偿本息的合计总额超过7亿元,可见贷款逾期与催收压力凸显。
作为历经15年发展历程的消金公司,北银消费金融能否重回“第一梯队”?在盈利规模与合规风控上,如何缩减与头部消金公司之间的差距?
1、首家持牌消金公司,迎来新任董事
背靠总资产规模超4万亿的北京银行,北银消费金融历经15年,形成了资金实力雄厚的股东阵容。
北京银行作为北银消费金融的发起方,将其定位于我国消费金融行业“领头羊”,为其提供充足的资金和客户资源支持,使其成为消费信贷头部平台并实现与母行战略协同。
2013年,北银消费金融引入了9位新股东,其中西班牙桑坦德消费金融公司凭借着持股20%,成为其第二大股东。此外,联想控股与大连万达集团也出现在股东列表中。

在“全国首家持牌消金公司”的光环下,北银消费金融的每一项战略布局与人员变动,均备受外界关注。
9月中旬,北京金融监管局发布了北银消费金融董事曹艳红的任职资格批复通知。
自2025年以来,该公司先后获批了3位新董事的任职资格,包括李岩、王文杰和曹艳红。
北银消费金融在今年上半年发布了《2024年度信息披露报告》,指出该公司董事会共有董事5名。

而今年1月,公司有1名董事辞任,同时2名董事的任职资格获批,正是其9月份公告提及的李岩和王文杰,但报告中未提及两人的履历背景。
有关上述三位新董事的履历背景,「子弹财经」试图向北银消费金融详细了解,三人是否来自于北京银行或是其他股东方,未来将如何推动业务创新,但截至发稿未获回复。
新董事加盟后,北银消费金融或迎来全新的发展机遇,增强与股东方的业务协同和资源共享。
但不容忽视的是,面对强劲的竞争对手,北银消费金融能否获得更大的市场份额,需观察其能否真正赢得零售客群的青睐。
2、净利润排名降至第19位,抛售超7亿个贷不良
当我们深入观察北银消费金融的业绩发展时,不难发现其从“老大哥”跌落至行业下游的情况。
作为母行的北京银行,在2025年半年报中披露了北银消费金融的业绩数据。上半年,该公司实现净利润1.02亿元,同比增长50%,但与头部持牌消金机构的差距较为明显。
具体来看,同期3家头部机构的净利润突破10亿元,分别是招联消费金融15.04亿元、蚂蚁消费金融14.6亿元以及马上消费金融11.55亿元。
「子弹财经」发现,自2023年上半年至2025年上半年期间,北银消费金融的净利润分别为0.59亿元、0.68亿元和1.02亿元,净利润同比增速分别为59.46%、15.25%和50%。
可见,尽管公司盈利规模持续增长,但增速呈现较大的波动。
纵观整个消费金融行业,北银消费金融究竟排第几?鉴于部分消金公司未披露今年上半年业绩,因此统一选取2024年数据进行横向对比。
在净利润方面,北银消费金融2024年末达到1.53亿元,排在第19名。相较行业第一的蚂蚁消费金融(净利润30.51亿元),两者差距近20倍。

在总资产方面,北银消费金融2024年末达到141.7亿元,排在第21名。而占据行业第一的依旧是蚂蚁消费金融(总资产3137.51亿元),两者相差22倍。

在业绩位居行业下游的表象下,北银消费金融的资产质量问题同样不容忽视。
「子弹财经」发现,自2025年初以来,北银消费金融在银登网已发布了3期个人不良贷款(个人消费贷款)转让项目公告。

整体来看,北银消费金融需处置的不良资产规模持续攀升,尽管其未披露不良率数据,但从狂甩三期不良资产包的举措来看,资产质量面临较大的压力。
此外,三期不良债权的起始价均不足一折,或反映出公司加速出清不良资产的迫切性。
3、历经15年却掉队,“助贷”合作机构达84家
作为成立时间最长的持牌消金公司,北银消费金融在15年成长历程中,从哪个阶段开始呈现掉队趋势?展业中出现哪些不合规问题,导致其市场占有率下滑?
带着这些问题,「子弹财经」回顾了北银消费金融在过去十年的业绩表现,可看出其净利润从2015年的4.79亿元缩水至2024年的1.52亿元。
北银消费金融的巅峰期是在2015年,彼时贷款余额接近200亿元,同期我国消金公司整体贷款余额为573.7亿元,因此其占据35%的市场份额,位于行业榜首。
然而,北银消费金融在2016年“由盈转亏”,净利润亏损13.49亿元并且同比降幅高达381.63%。
2017年,其亏损规模收窄至0.79亿元,同比减亏94.14%。2018年之后,其净利润虽增长却丧失头部优势,市场份额逐渐下跌。
此外,公司的总资产口径数据披露不全,从2018年的39.55亿元增长至2024年的141.7亿元。尽管整体保持增长,但相较上述蚂蚁消金与招联消金等千亿级资产规模,差距逐步拉大。

2017年是北银消费金融掉队的转折点,业绩急转直下与监管罚单、合规风险问题紧密关联。
此前在2015年11月,原银监会因北银消费金融涉嫌通过合作公司“拉人头”骗贷,即贷款客户并非实际资金使用人,对其开出150万元罚单。
处罚依据包括:贷款管理存在严重问题,造成个人消费贷款用途不真实,部分资金被挪用;资产质量严重不实等。
2017年8月,监管部门再次对北银消费金融开出了900万元罚单。处罚事由包括:严重违反审慎经营规则、超经营范围开展业务、提供虚假且隐瞒重要事实的报表、开展监管叫停业务等,宋文昌、袁耀璋、顾弢、尹峥为责任人。


总体来看,由于此前激进扩张战略带来的合规危机,造成北银消费金融如今跌落至行业下游的尴尬局面,难以重回消金行业“第一梯队”。
今年10月1日,“助贷”新规正式实施,或预示着新一轮的“大洗牌”。
新规源自今年4月金融监管总局下发的《关于加强商业银行互联网助贷业务管理提升金融服务质效的通知》,首次提出了助贷行业“名单制管理”要求。

为了响应监管号召,北银消费金融在今年5月披露了84家“助贷”合作机构名单。
名单涵盖了风控、征信、移动支付、贷后管理和律师事务所等机构类型,不乏头部流量平台的身影,比如支付宝、度小满和腾讯等机构。

面对新规所提的“综合融资利率不超过年化24%”的要求,北银消费金融将面对更严峻的风控挑战。
鉴于消金行业不良规模攀升,北银消费金融将收缩与中小“助贷”平台合作,转向合规性较强的互联网巨头与上市金融科技公司。
此前,该公司在2022年因对合作机构管理不到位,被罚80万元,因此更需在自主风控上对标头部同业机构。
对于净利润排名掉队、内控合规管理和“助贷”合作风险把控等问题,「子弹财经」试图向北银消费金融进一步沟通了解,但截至发稿未获得回复。
纵观北银消费金融的15年发展史,其向外界展现了从辉煌到掉队的曲折历程。
随着强监管时代的到来,消费金融行业面临着不良攀升、客群流失和助贷风控等多重考验,北银消金能否“逆袭重生”,重回行业第一梯队,「子弹财经」将持续关注。
*文中题图来自:摄图网,基于VRF协议。
评论列表