DC娱乐网

小米Pack专利这其实就是对于电电增程的另一种解释,也同时保证了大功率请求下的电

小米Pack专利

这其实就是对于电电增程的另一种解释,也同时保证了大功率请求下的电池安全。

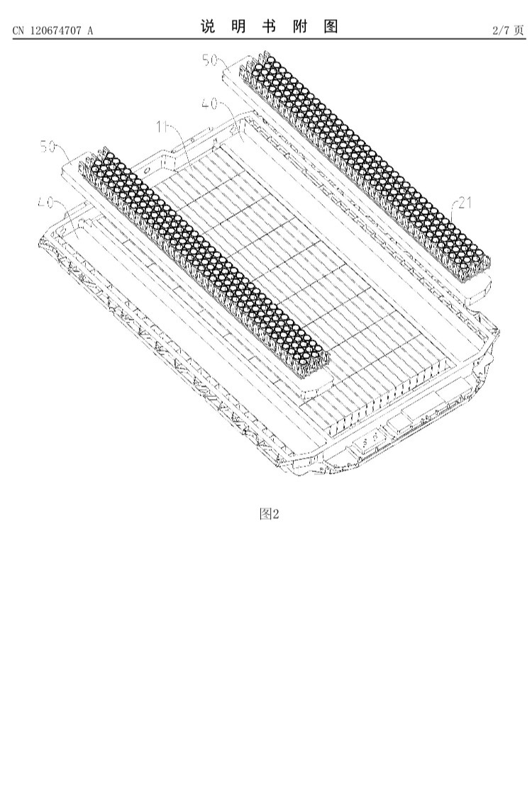
圆柱电芯采用钢壳的情况下,硬度比铝壳高,而且灌胶之后,整体强度(抗膨胀,散热有保障)高,再加上圆柱全极耳,因此,圆柱能做到更安全的高倍率性能,尤其是针对三元锂正极。而且确实也可以更耐撞。

也就是说,中间电芯以后可以是锂金属电芯,可以是固态电芯,也可以是其他高能量密度的电芯,但是,不再追求高倍率性能,通过降低电流减小温升来提升安全性能,而电机大功率动态响应由边上的高倍率电芯保证输出。

由于针对不同能量密度和倍率性能的电芯成组方案专利被别的厂家注册了。小米用结构安全思路保证了双电芯PAck的专利原创性,很厉害。

厂长说电池小米汽车