DC娱乐网
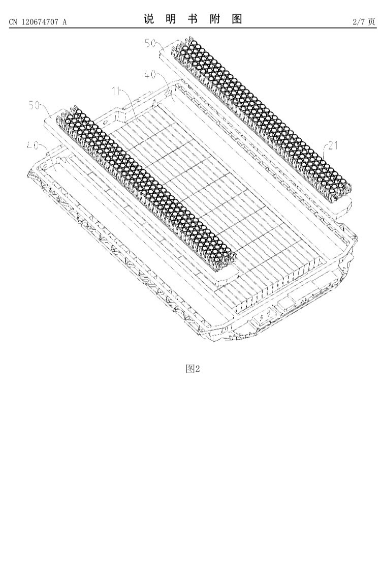
小米汽车专利小米汽车Pack专利图显示圆柱两边各152,中间方壳153,完全可以
2025-10-31 16:51:43
长码戏说科技
科技
小米汽车专利
小米汽车Pack专利图显示圆柱两边各152,中间方壳153,完全可以并联。
当然,也可以串联,将小圆柱小范围数颗并联增容至和方壳容量一致,然后与方壳串联。
厂长说电池小米汽车
猜你喜欢
华为一直在做各行业的底层技术,我愿意称之为“种桃树的人”[doge]
2025-10-31
如莱看科技
标签:
华为
华为手机
笔记本电脑
云计算
外媒:荷兰芯片厂商安世半导体(Nexperia)因与中国子公司存在合同支付争议,
2025-10-31
英文头条
标签:
芯片
半导体
it芯片
第三方支付
华为的这个新的充电宝确实可以。终于不用再为忘记带数据线发愁了。
2025-11-01
初蝶评汽车啊
标签:
数据线
华为
充电宝
mate80系列预计在11月中旬左右发布了…近日,有博主透露,mate80系列
2025-11-02
香菜小熊猫
标签:
华为鸿蒙系统
Mate80
新机曝光
极氪科技集团10月份的销量出炉,总计61636台,其中极氪品牌是21423台,领
2025-11-01
地壳中的大佬
标签:
领克08
极氪9X
极氪
领克
这就是程序员的“工作留痕”吧...
2025-11-02
聚频评娱乐
标签:
程序员
酷安系统排行榜ColorOS16竟然仅排在第三,realmeUI真是站在了巨人的
2025-10-31
纵有西起
标签:
ColorOS
网络安全
总结iPhoneAir销量差的3个原因:1.续航太烂,苹果手机续航本来就不行
2025-11-02
苏兰姐看车
标签:
苹果
iPhone
手机行业
热门分类
推荐
热榜
军事
NBA
体育
社会
明星八卦
娱乐
财经
科技
汽车
历史
国际
游戏
动漫
公益
搞笑
商业
互联网
数码
国际足球
房产
家居
时尚
科学探索
职场
育儿
股票
教育
影视
情感
热点
中国军情
武器
中国南海
中国足球
亚洲杯
科比
综合体育
CBA
投资
楼市
大咖秀
外汇
创业
风口
SUV
豪车
概念车
优惠
新能源
美国
欧洲
朝日韩
俄罗斯
孕期
街拍
恋爱攻略
婚姻
正能量