界面新闻记者|赵晓娟
祝丽丹卸任宏胜饮料集团有限公司法定代表人。
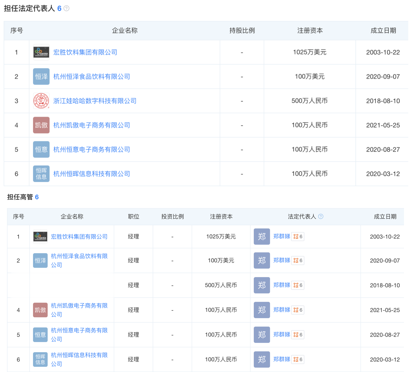
11月5日,界面新闻查询天眼查APP,宏胜饮料集团有限公司法定代表人发生变更,由祝丽丹变更为郑群娣,此外董事宗馥莉、监事严学峰、财务负责人丁秀娟没有出现变动。
天眼查信息显示,郑群娣共在6家娃哈哈相关公司担任法定代表人,包括宏胜饮料集团和杭州恒泽食品饮料有限公司、杭州恒意电子商务有限公司等4家宏胜系公司,以及浙江娃哈哈数字科技有限公司法定代表人,该公司股权穿透后,实控人为宗馥莉。

截图来自天眼查
界面新闻获得的郑群娣在宏胜内部通讯录页面显示,她属于营销中心部门,岗位为“中心办公室主任”。

一名娃哈哈内部老员工告诉界面新闻:“郑群娣最早在娃哈哈童装公司做跟单员(类似内勤等基础岗位),而宗馥莉曾在服装公司担任过总经理,郑群娣在童装公司倒闭后就去了公关部工作。”
界面新闻查询宏胜集团官方微信公众号“宏胜—成长天地”的过往信息,在2021年,郑群娣的职务是恒泽食品饮料有限公司总经理。
根据财新网的报道,郑群娣还曾负责宗馥莉早期的创业项目kellyone。上述娃哈哈内部员工告诉界面新闻,kellyone的茶产品“一茶”卖得不好,去年一年让各子公司买去给员工当福利发放。
对于宏胜饮料集团法定代表人的变动,娃哈哈官方未对界面新闻做出回应。
而祝丽丹的离职,自10月已有信号。此前的10月27日,界面新闻从知情人士处确认,宏胜饮料集团有限公司法定代表人祝丽丹已离职,办公室已搬空。祝丽丹曾是娃哈哈的核心高管,在158家“娃哈哈系”“宏胜系”企业中担任法定代表人或高管。
上述知情人士告诉界面新闻,“祝丽丹不愿意当法人了,宗馥莉就让她走了”。
而天眼查信息显示,祝丽丹仍在娃哈哈系、宏胜系相关的157家公司担任法定代表人以及经理或董事职务,随着她的离职,这些任职可能会陆续变更。
自今年9月12日宗馥莉再次辞去娃哈哈集团董事长等相关职务以来,娃哈哈以及宗馥莉的左膀右臂们风波不断。
除了祝丽丹的离职风波,娃哈哈集团的核心成员严学峰也“差点离职”,他此前被传出被杭州市上城区纪律检查委员会立案审查,后在10月5日被解除立案审查。根据界面新闻了解,严学峰现为宏胜饮料集团有限公司生产中心总监,是宏胜集团公司的核心高管之一。天眼查的工商资料还显示,严学峰还在娃哈哈有关联的189家公司中担任监事。
在10月14日,严学峰曾提出辞职,通讯录岗位状态变更为“待定”,但到了10月24日,他官复原职,重新担任宏胜饮料集团的生产中心总监兼讯尔公司总经理。
与这些辞职闹剧同时发生的,还有宗馥莉在9月辞职后推出的“娃小宗”品牌的短暂流产——宏胜系销售各分公司在10月接到通知,2026年继续使用娃哈哈品牌,不会出现其他品牌,这意味着宏胜与娃哈哈集团就品牌使用已经暂时达成一致。
不过这一系列的动荡对于经销商而言,令其增加一重不确定性。山西一名娃哈哈代理商告诉界面新闻,今年行情并不好,最近一次打款发生在10月份,不过这次的货品卖完后,他不打算继续做下去了,和去年相比,他的部分产品出现了积压,需要更长的周期去消化库存,如果娃哈哈在产品品牌上还存在不确定性,那他“明年就不会继续打款了”。