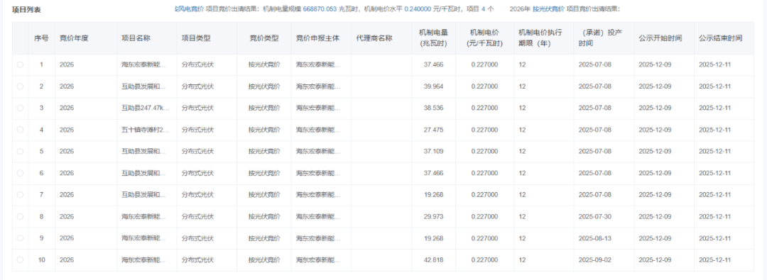
根据公示,青海2026年按光伏竞价项目竞价出清结果:机制电量规模781040.337兆瓦时,机制电价水平0.227000元/千瓦时,项目49个;2026年按风电竞价项目竞价出清结果:机制电量规模668870.053兆瓦时,机制电价水平0.24元/千瓦时,项目4个。风电竞价结果和首轮竞价结果相同。

11月13日,青海省发改委发布《关于组织2026年新能源增量项目开展机制电价竞价工作有关事项的通知》指出,主体范围为2025年6月1日-2026年12月31日全容量投产,且未纳入过机制电价执行范围的新能源项目。区分风电、光伏发电组织竞价。
电量规模。本次竞价的机制电量总规模28.59亿千瓦时,其中,风电10.44亿千瓦时,光伏18.15亿千瓦时。
竞价限价水平。光伏竞价上下限分别为0.2277元/千瓦时、0.15元/千瓦时。风电竞价上下限分别为0.24元/千瓦时、0.205元/千瓦时。
10月17日,青海启动首次竞价,竞价主体范围包括,2025年6月1日至2025年12月31日期间投产的新能源项目。风电、光伏竞价上限均为0.24元/千瓦时。风电竞价下限0.205元/千瓦时,光伏0.18元/千瓦时。
11月12日,青海公示首批增量竞价结果。根据结果公示,首批风电竞价机制电量为5.43亿千瓦时,出清价格为0.24元/千瓦时,项目4个;
光伏竞价机制电量为11.25亿千瓦时,出清价格为0.24元/千瓦时,项目23个。
执行期限。保障期限12年。
申报电量上限。其中,风电、光伏年度发电利用小时数分别为1509、1222,厂用电率分别为0.65%、0.49%。分布式光伏、分散式风电年度自发自用电量占发电量比例13.12%。上限比例40%。
本次竞价光伏(风电)申报充足率下限均为130%
风电项目详情见下:
