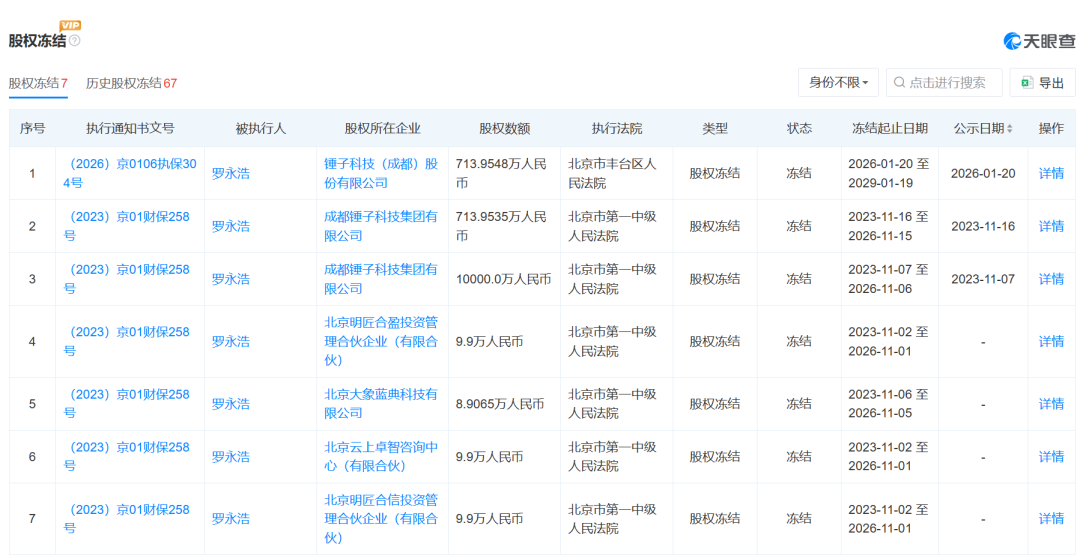
据天眼查天眼风险信息显示,近日,罗永浩新增一则股权冻结信息,股权所在企业为锤子科技(成都)股份有限公司,冻结股权数额713.9548万元人民币,冻结期限自2026年1月20日至2029年1月19日,执行法院为北京市丰台区人民法院。


工商信息显示,锤子科技(成都)股份有限公司成立于2012年5月,法定代表人为管志良,注册资本约3149.8万元人民币,经营范围含基础软件服务、应用软件服务、组织文化艺术交流活动、维修通讯设备、生产手机等。股东信息显示,该公司由罗永浩、成都东方广益投资有限公司、北京明匠汇智投资管理合伙企业(有限合伙)等共同持股。

截至发稿,罗永浩及锤子科技公司尚未对股权被冻结一事作出回应。
据记者翻查以往公开资料了解到,2018年资本市场遇冷,锤子科技没能完成新一轮融资,资金链彻底断裂,巨债危机爆发。罗永浩最初公开的锤子债务约6亿元,主要是供应商货款、员工工资、银行贷款;加上此前未计入的6亿元国资债务(3亿元股权+3亿元借款),再加上官司纠纷产生的赔偿、滞纳金、罚款,债务总额飙升至13亿元。此外,作为创始人,罗永浩为公司多笔债务承担连带责任,公司债务变成个人债务——这意味着,这13亿元,全要他自己还。
锤子创业6年,罗永浩砸光了自己的近千万元积蓄,融资数十亿元,最终不仅没赚到钱,还欠下了13亿元巨债,从“千万富翁”沦为“失信被执行人”(老赖)。其间他尝试过子弹短信、小野电子烟、鲨纹科技等自救项目,均以失败告终,没赚到一分钱。
从2020年至今,罗永浩开启自己的“直播+脱口秀+IP变现”的还债人生,目前已还8.24亿元,剩余5亿多元。截至目前,罗永浩被冻结的股权数额合计约1.15亿元。

罗永浩近期还曾因为西贝相关事件而广受外界关注。
此前,西贝餐饮董事长贾国龙确认将关闭全国30%的门店,共计102家。1月16日,罗永浩发文回应贾国龙言论,强调企业倒闭主因并非遭受网络攻击,并提及锤子科技关闭系自身原因所致。同日,贾国龙称将就罗永浩的“污蔑诽谤”全面回应,但未如期在微博发布相关内容。
其后,@罗永浩的十字路口与@西贝贾国龙账号均遭禁言。微博CEO王高飞发文指出,网络名人不得组织约架论战,应通过媒体采访方式表达争议,引用“网络名人账号行为负面清单”相关规定。
1月17日,罗永浩在微信朋友圈发文确认被微博平台禁言15天,并表示会将禁言善意解读为对他的保护。