DC娱乐网

捷豹路虎获得一项专利,可提高整车操控性

随着技术的不断发展,车辆变得逐渐普及,市场对于车辆的多方面性能提出了更高的要求。副车架是车辆的重要零部件,起到连接底盘和

随着技术的不断发展,车辆变得逐渐普及,市场对于车辆的多方面性能提出了更高的要求。副车架是车辆的重要零部件,起到连接底盘和车身的作用,同时对整车的操控和隔振性能有显著影响。

目前,在一些车辆中,副车架通过套管与车身进行连接,以提高整车操控性。由于套管内存在腔体,车辆在涉水行程中或在雨天环境中,腔体内会产生积水,使得副车架与车身连接处的固定件产生腐蚀,导致其结构稳定性较差。

为此奇瑞捷豹路虎汽车有限公司申请并获得了一项名为“连接结构及车辆”的专利,可以解决上述问题。

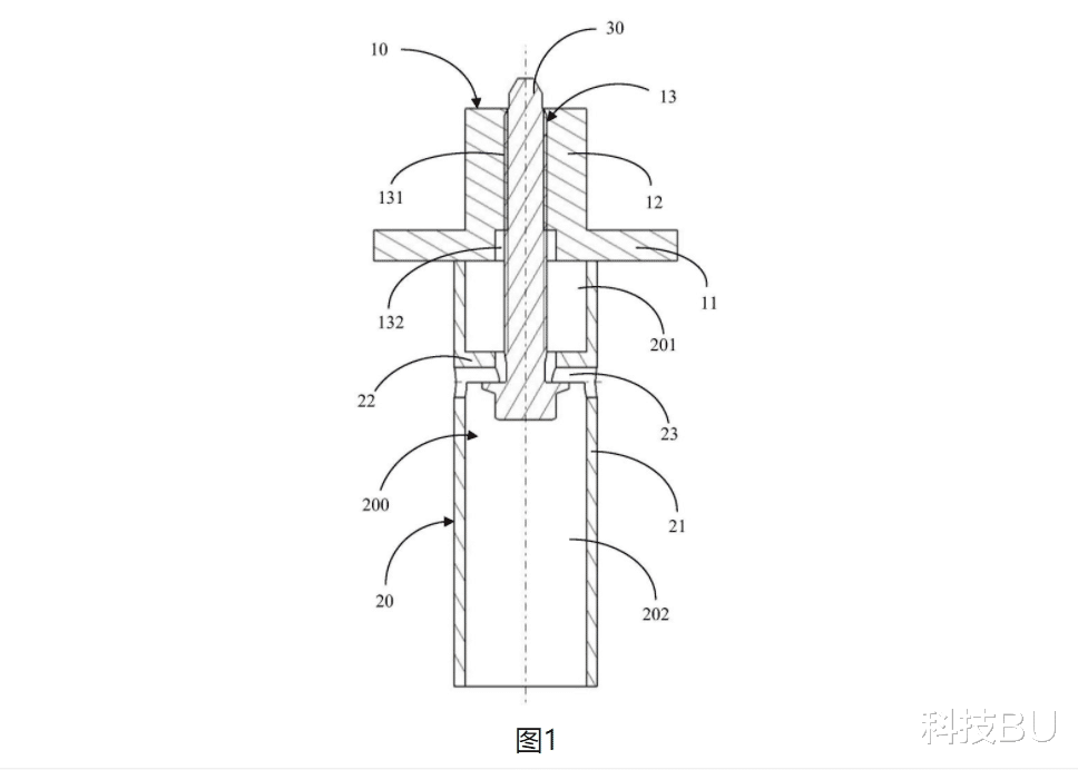
摘要显示,本申请提供一种连接结构及车辆。所述连接结构用于车身与副车架的连接,其包括车身连接件、副车架套管与固定件。副车架套管包括管体,管体内设置有腔体。

管体的内侧壁上设置有固定板,固定板沿径向设置,以将腔体分隔为第一腔体与第二腔体。管体靠近第一腔体的一端与车身连接件相抵接。固定件组装至固定板。固定件伸入第一腔体并连接至车身连接件。固定板设置有连通第一腔体与第二腔体的排液流道。通过设置排液流道,能够将第一腔体内积聚的液体排出,避免对固定件产生侵蚀,提高了连接结构的结构稳定性。