IT之家2月20日消息,科技媒体Appleinsider昨日(2月19日)发布博文,挖掘苹果公司最新获批的专利,发现其正探索内置“相控阵天线”的可拆卸保护壳,突破iPhone和iPad卫星通信的物理瓶颈。
自2022年iPhone14发布以来,苹果推出的“卫星紧急求救(EmergencySOS)”功能虽已挽救多条生命,但仍面临物理定律的硬性限制。
目前的低轨卫星(LEO)仅有约7分钟的过境窗口,加之建筑物和树木的遮挡,实际连接时间往往更短。此外,iPhone内部天线表面积较小且功率有限,导致用户必须举着手机精准对准卫星才能发送少量数据,且一旦卫星移动,连接极易中断。

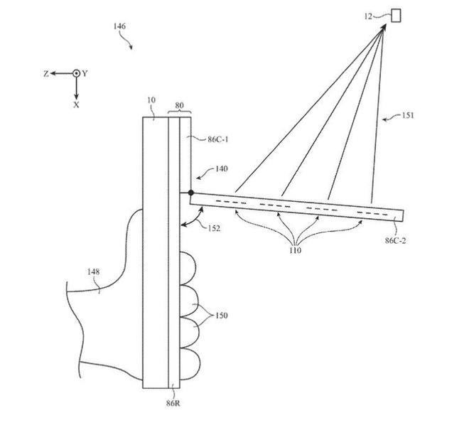
根据苹果2024年提交、2026年公示的专利“具有卫星通信功能的电子设备与保护壳”,苹果公司为了突破这一限制,设计了一种内置“相控阵天线(PhasedArrayAntenna)”的可拆卸保护壳。
与普通手机壳不同,这款外设展开后能将天线阵列指向天空,并通过波束成形电路增强信号。图纸显示,该设备甚至可以通过智能连接器(SmartConnector)与iPad连接供电。
IT之家援引博文介绍,这项技术的核心在于“多点连接”与“自动追踪”。传统的单一天线需对准单一卫星,而相控阵天线拥有多个发射和接收单元,能同时连接一组卫星并在星座移动时自动切换。

苹果在专利中指出,该保护壳可通过无线射频连接器或NFC(近场通信)与iPhone传输数据。这种设计不仅大幅提升了数据传输量,还解决了用户手持设备时手部遮挡信号的痛点,未来用户在无地面基站覆盖的区域,不仅能发送求救信号,或许还能浏览网页或传输大数据。