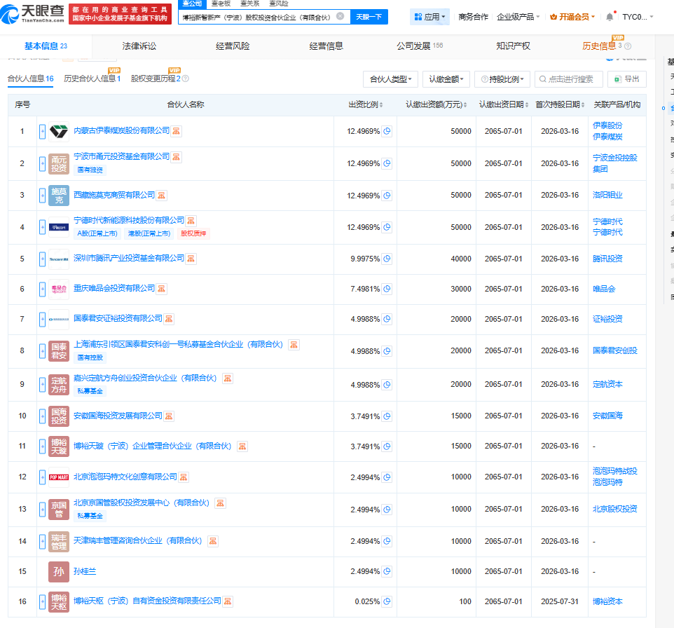
投资界(ID:pedaily2012)3月20日消息,近日,博裕新智新产(宁波)股权投资合伙企业(有限合伙)发生工商变更,新增宁德时代、深圳市腾讯产业投资基金有限公司、重庆唯品会投资有限公司、北京泡泡玛特文化创意有限公司等为合伙人,同时出资额由200万元增至40.01亿元。
据悉,博裕新智新产(宁波)基金,存续期12年,将主要通过适用法律所允许的股权及股权相关的投资方式,投资于中国境内外的科技、医疗健康、消费品和零售领域的成长期及成熟期企业;由“博裕陶然”作为基金管理人。


https://www.pedaily.cn/s104/