【#医美公司自曝有换血美容业务#】#起底宣称换血美容的虞美人公司#3月30日,海尔集团(青岛)金盈控股有限公司发布紧急声明,矛头指向虞美人集团董事长于文红。于文红对外宣称其公司为海尔集团、盈康一生投资企业,甚至推出“提取年轻人血液、换血治疗”的离谱业务,让不少人信以为真。海尔金控直接下场澄清,于文红和虞美人与海尔无任何关联,所谓“换血”相关业务均与海尔无关。#被海尔打假的医美老板有多野#
企查查APP显示,虞美人集团关联的杭州虞美人健康管理有限公司成立于2009年10月,注册资本800万元,法定代表人杜军钢,经营范围包含医疗服务、美容服务、保健食品销售、特殊医学用途配方食品销售等,由于文红、浙江美莲舍投资有限公司分别持股90%、10%。知识产权信息显示,该公司已申请注册多枚“虞美人”、“少女线”、“十三岁的洛丽塔萝莉针”、“俏娃娃”、“新萝莉”等商标,国际分类涉及广告销售、医疗器械、日化用品等,目前部分商标已注册成功。
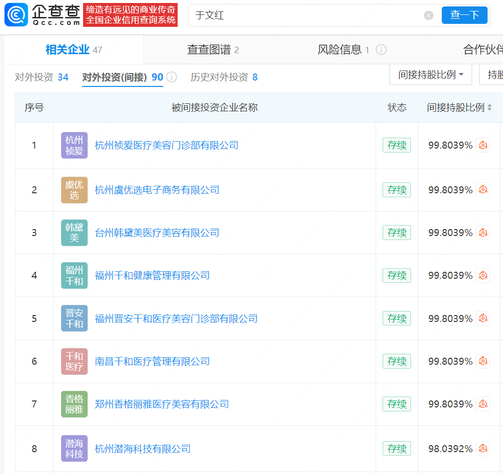
此外,虞美人集团实控人于文红名下现关联47家公司,其中26家存续,包括成都虞美人健康管理有限公司、杭州香格里拉整形外科门诊部有限公司、杭州鱼仙儿健康管理有限公司、杭州古名文化艺术策划有限公司等,涉足健康管理、整形美容、生物科技等多个领域,于文红在上述公司任董事长、监事等职务。对外投资信息显示,其直接或间接对外投资企业超120家。
值得注意是,据媒体此前报道,杭州古名文化艺术策划有限公司曾因在2017年1月至2021年11月隐匿收入超47.55亿元,被罚超8827万元。2023年5月,杭州虞美人健康管理有限公司还因涉嫌多项医美违法问题被罚200万元,包括发布无合法审查证明的医疗广告、价格欺诈等。




