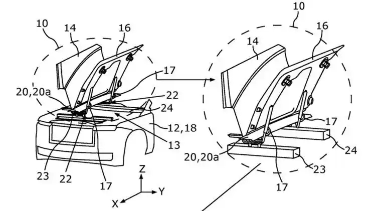
劳斯莱斯也来卷电动SUV了!最近谍照摄影师在慕尼黑街头拍到一台伪装车,目标直指宾利Barnato。最吸睛的不是“库里南要出电动版”,而是它那个“抽屉式”引擎盖——竟然能像后备箱一样向上掀起!中央还杵着欢庆女神立标,两边盖板独立开启,这仪式感拉满了。仔细一看,引擎盖上还挂着一把电钻,大概是临时工忘收工具了吧😂。前脸封闭格栅、分层大灯,气势不减。技术大概率延续闪灵:双电机577马力,530公里续航。但按劳家惯例,价格嘛……懂的都懂,反正不是咱们该操心的。👑




劳斯莱斯也来卷电动SUV了!最近谍照摄影师在慕尼黑街头拍到一台伪装车,目标直指宾利Barnato。最吸睛的不是“库里南要出电动版”,而是它那个“抽屉式”引擎盖——竟然能像后备箱一样向上掀起!中央还杵着欢庆女神立标,两边盖板独立开启,这仪式感拉满了。仔细一看,引擎盖上还挂着一把电钻,大概是临时工忘收工具了吧😂。前脸封闭格栅、分层大灯,气势不减。技术大概率延续闪灵:双电机577马力,530公里续航。但按劳家惯例,价格嘛……懂的都懂,反正不是咱们该操心的。👑



