截止到26年上半年,零跑D19的80度电池应该都是增程车型里面最大的
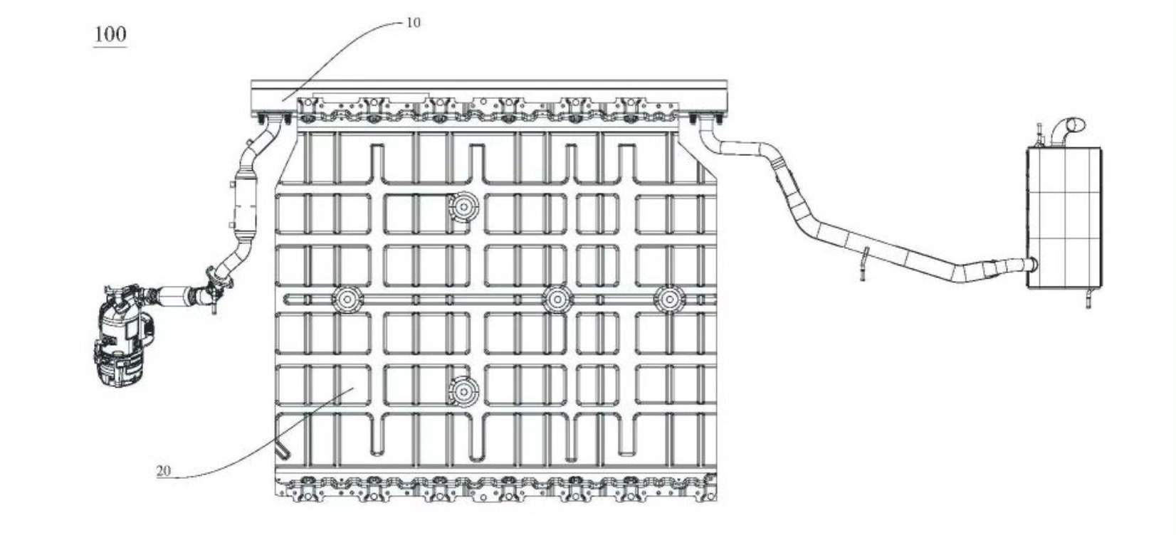
核心的技术改变就是在门槛梁里集成了排气管
这个其实我也问过很多主打增程的汽车品牌,目前在技术上大家还是比较犹豫的,主要是担心排气管的热量以及侧碰的安全性
零跑是通过增加气凝胶隔热,以及侧面强度来解决这个问题,其他家还处于观望状态
但我认为大家最终都会走这个技术路线,技术上的问题可以通过发展来解决,但是增程车型电池越做越大是必然的趋势
我的观点一直很明确:增程车型的发动机是情绪价值的部件,用户其实一年用不到几回,但你必须得有;而在平时开的时候,绝大多数用户都是当纯电来用,所以你电池必须要大

评论列表