biw小偏置碰撞前行李舱
纯电的前行李舱很快将成为标配这时对付小偏置碰撞的结构设计成为新话题,蔚来集团3台大车做法可以关注下
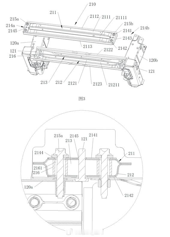
乐道L90/80开始看到图的时候,以为底部这个横梁是一块热成形钢板;看来专利图才知道这是个上下两块板热成形钢板冲压对接的空心腔体P5失敬失敬(看实物的重要性)
这个横梁部件的主要作用是小偏置碰撞时通过该横梁及时将撞击作用分散传递到第一前纵梁和第二前纵梁上,将避障偏转推出,从而减少整车在事故碰撞过程中的受力
ES8做法和L90类似,材料改成了铝合金挤出型材,型材更粗,空腔体积更大,整个安装位置都放到和纵梁齐平而不是乐道那种纵梁之上P6
ES9ES9是更高级的ET9的伴生物,所以整个车头基本按ET9来ET9的办法不是做底部横梁,而是P7图中的两个外八中的最前那个外八的支撑杆(白色箭头),充当力传递,详见我的置顶帖,这个体系还包括了最重要的节点(P7图中红色箭头)







