欢迎关注科粤知识产权,获取更多知产资讯!知产业务选科粤,助您成功!

11月12日,因为与MCN公司的合约纠纷,以及个人品牌和商标问题而停更多日的博主李子柒更新了微博,她复出的消息直接登上热搜。目前四川子柒文化传播有限公司由李子柒个人持有99%股权,前公司杭州微念品牌管理有限公司已退出股东行列,杭州微念表示,目前和李子柒之间的所有案件已经完全和解,李子柒成功拿回商标权。

李子柒拿回商标权的过程,主要包括以下几个步骤:
法律诉讼与调解:李子柒与杭州微念之间因商标和收益纠纷而进入法律诉讼流程。最终在法院的调解下,双方达成和解。
商标转让:杭州微念将100余件“李子柒”相关商标转让给了李子柒和子柒文化。
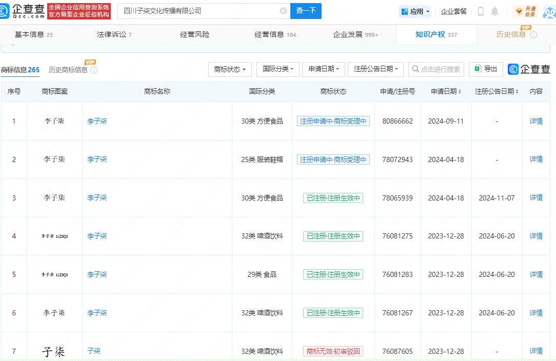
异议申请:在停更期间,李子柒和子柒文化申请注册了数件“李子柒”商标,并就他人的“李子柒”相关商标提交了数十份异议申请,大部分得到支持。
公司控制权变更:李子柒完成了对四川子柒文化传播有限公司的绝对控股,将所有注册商标注册在子柒文化旗下。

商标维权措施:李子柒采取了一系列商标维权措施,包括从杭州微念手中拿回全部“李子柒”相关商标,抢回他人恶意注册的“李子柒”商标,向商标局异议他人傍“李子柒”名牌的类似商标,并申请注册相关类似商标以避免被再次混淆,以及补充完善近似商标注册、扩大商标注册品类。
姓名权的法律保护:李子柒将自己的真实姓名从李佳佳正式更改为李子柒,从此“李子柒”不再只是她的账户名称或者艺名,而是成为她的正式姓名,在法律上进一步保护了姓名权。
通过这些措施,李子柒成功地拿回了“李子柒”商标权,并加强了对个人IP的法律保护。
如果你对ip维权还有其他的想法和意见,也可以发在评论区哦。
这里是科粤知识产权,欢迎点赞关注留言,让你获取更多有用的知产讯息!