保时捷申请隐藏式赛车条纹」专利|用于驾驶模式显示或充电状态指示|人车互动功能保时捷保时捷已申请一项隐藏式赛车条纹的新专利
保时捷申请隐藏式赛车条纹」专利|用于驾驶模式显示或充电状态指示|人车互动功能


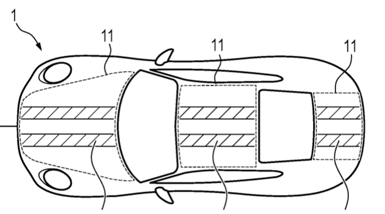
保时捷保时捷已申请一项隐藏式赛车条纹的新专利。 这项技术在车身外部使用一种薄膜材料,保时捷称之为电子纸或顺磁性涂层,当施加电压时,材料会改变颜色。该专利展示保时捷如何运用这项技术的几种方式,包括尾灯旁与后下进气隔栅处,其中最引人注目的是可消失的赛车条纹。 根据德国的专利申请文件,这些条纹可以根据车辆的驾驶模式改变颜色,例如绿色代表节能模式,红色代表运动模式,或者只需轻按一个按钮,条纹即可完全消失。 图片也展示了将此薄膜应用于后轮后方和后扩散器上的条纹图案。 该专利还描述了将这项技术应用于电动车,以便在车身外部直接显示车辆的充电状态。


这项技术虽然巧妙,但并非什么新科技,汽车制造商早已在使用电致变色玻璃最常应用于天窗或玻璃车顶,这种玻璃的透明度会随着电流的变化而改变,因此保时捷这项技术只是将这种变化向前推进一步。 变色汽车并非新概念宝马几年前就推出采用电子墨水屏幕的i Vision Dee概念车,该车可呈现32种不同的颜色。 保时捷的专利则展示了汽车制造商如何以创新且实用的方式运用变色外观技术,而不是仅仅为着美观。