DC娱乐网

速途网独家 | 追觅汽车已申请注册“星域”“遥穹”等商标,或用于新车或相关技术命名

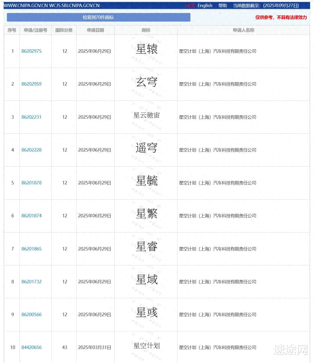
速途网独家获悉,追觅汽车新车或相关技术命名或已确定。天眼查显示,追觅汽车运营主体公司“星空计划(上海)汽车科技有限责任公

速途网独家获悉,追觅汽车新车或相关技术命名或已确定。

天眼查显示,追觅汽车运营主体公司“星空计划(上海)汽车科技有限责任公司”已申请注册“星域”、“遥穹”、“星云驰宙”、“玄穹”、“星辕”、“星睿”、“星毓”、“星繁”等商标,国际分类均为运输工具。

以“遥穹”为例,国家知识产权局商标局显示,“遥穹”商标由星空计划(上海)汽车科技有限责任公司于2025年6月29日申请,目前处于“等待实质审查”阶段。

该商标的商品类别包含电动汽车;汽车;汽车用离合装置;汽车车身;汽车用发动机;汽车车座;补内胎用全套工具;汽车轮胎;挡风玻璃;运载工具用刹车等。追觅汽车申请的其他商标的公告日期、商品类别等与“遥穹”相似。

据速途网了解,目前追觅汽车已经披露两款车型,即对标劳斯莱斯库里南的首款超奢旗舰SUV与对标布加迪威龙的性能纯电轿跑,从此次商标申请来看,两款车的名字或相关技术命名就在其中。而从商标保护性注册来看,“星域”成为新车或相关技术名称可能性较大。

据速途网了解,追觅于8月28日官宣造车,已组建近千人的造车团队并持续扩张;9月12日,追觅汽车宣布完成了首轮融资;近日,追觅汽车宣布已获超150亿元订单。(编辑:李楠)