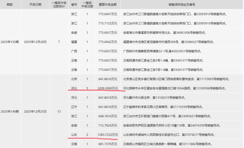
近两期一等奖明细河北一人中5注共3209.3080万元,河北邯郸市永年区建安街与富强路交口南100米路西,第13100598号销售网点。
一起来回顾一下前两期的开奖号码第2025150期红球:06、13、17、19、24、31 蓝球:08
跨度本期最小号为06,最大号为31,跨度 = 31 - 6 = 25。跨度属于中等偏大,说明号码分布较为分散,中间区域(如10-20)虽有出号,但首尾跨度较大。和值6 + 13 + 17 + 19 + 24 + 31 = 110。和值在双色球中一般介于70-130之间,110属于中高区间,说明本期大号(24、31)贡献较大。奇偶比奇数为:13、17、19、31(共4个)偶数为:06、24(共2个)奇偶比 = 4:2,奇数明显占优。第2025149期红球:01、02、04、06、22、30蓝球:10
跨度跨度 = 30 - 1 = 29。跨度较大,尤其是前区密集出现01、02、04、06,后区则跳出22、30,形成“前密后疏”分布。和值和值 = 1 + 2 + 4 + 6 + 22 + 30 = 65。相比上期大幅下降,属于低和值区间,说明本期号码整体偏小,仅靠22、30两个后区号码支撑。奇偶比奇数只有01(共1个)偶数为02、04、06、22、30(共5个)奇偶比 = 1:5,偶数占据绝对优势。下面是近二十期开奖结果
二十期数据来看:
跨度:常见在20-30之间,极端大于30或小于20的情况较少。和值:多数落在80-110之间,偶尔出现65以下或120以上的极端值。奇偶比:以3:3、4:2为主,极端如1:5或5:1出现频率较低。蓝球:近二十期出现频率较高的有:08、10、12、16等,小号(01-08)与大号(09-16)分布较为均匀。提醒:1、每期投入少于10元,每月投入不超过100元。
2、任何分析都无预测功能
备忘:看点:03、07、11、18、25、28、32+04、09、14
本文由小编根据中国福彩网开奖信息所得,无任何预测引导功能。
评论列表