作者 | 郝文
编辑 | 趣解商业资讯组
近日,昔日在线教育明星企业VIPKID,被曝通过引导用户使用境外账号、包装“成人家庭课”等方式,规避针对境内未成年人的在线外语培训监管。同时,其经营主体被指缺乏教育培训资质,并在销售过程中存在诱导囤课、隐瞒关键条款等侵害消费者权益的行为。

图片来源:微博截图
据“北京商报”报道,有家长表示,2021年,伴随着政策调整,VIPKID暂停了外教一对一课包,即“Major Course—新版VIPKID主修课”(以下简称“新版主修课”)。两年后,其突然收到VIPKID班主任赠送1v1英语直播体验课的消息。然而,登录方式发生了很大变化。
在使用账号密码登录时,班主任要求她选择“+852”的手机区号,并主动向她提供了以“+852”开头的账号和一组密码。据班主任的说法,登录进去后选择孩子的名字,就可以看到约好的体验课。对方表示,“+852是HongKong香港手机号”。
对此,有律师指出,VIPKID境外入口授课、境内企业卖课的行为,存在明显的以技术手段规避境内监管的嫌疑。同时,境外渠道登录上课可能导致境内监管部门难以获取学员信息、课程数据等完整数据,影响其对教学内容、师资资质等的监管,增加了监管工作的复杂性和执行难度,也存在学生数据泄露或境内家长难以维权的风险。
此外,VIPKID一边向家长推销课包,另一边,课程还设置了每月最低课消——如果每个月上不够4节课,就会有4个课时自动过期(不同课包的最低课消数量不同)。
但上述这位家长表示,从推销、付款到约课,自始至终,VIPKID的班主任、客服都没有告知课程存在每月最低课消。
并且,在家长在提出课程延期要求,并获得了班主任的承诺后,客服推诿拒绝了她的退费要求。直到其向有关部门投诉后,VIPKID才退了费。
随后,多位家长反映,VIPKID重新推出的“家庭外教口语课”,还存在课程名称、用户账号标注上刻意模糊学员身份,其课程服务协议中区分学员与成人的关键表述亦被删除。
对于课程名称的变化,VIPKID客服曾在一次推荐购课电话中向一位家长承认,为了尽快让孩子恢复一对一课程,以成人课程名义开设了英语口语课,实际由孩子来上课。
这个取而代之的“家庭课包”,疑似规避针对未成年人外语培训的监管。
暂停外教一对一课包后,VIPKID曾启用过境内的上课软件“大咖英语”。大咖英语官网明确标注,其英语体系课和一对一外教口语课的适用学员都是“成人”。
更令家长不安的是,有关部门接到相关投诉后,北京市海淀区教委在回复中称,经核实,VIPKID经营主体北京大米科技有限公司(以下简称“大米科技”)仅持有营业执照开展业务,且不是海淀区教委审批的培训机构,教委校外培训工作科已立即进行调查。

图片来源:“北京商报”公众号
同时,收款商户和协议乙方还包括一家成都育迪科技有限公司,这家公司的经营范围中也没有教育培训等相关内容。该公司的法定代表人、实际控制人,与大米科技的法定代表人和实际控制人均为米雯娟。
相关人士表示,若企业的经营范围不包括教育培训活动,从法律角度讲,则不具备直接开展教育培训活动的资格。
“趣解商业”注意到,2021年“双减”政策颁布后,VIPKID就曾被多位家长吐槽退费难,甚至到诉诸公堂的地步。除此以外,遭遇家长吐槽最多的,还有班主任以各种方式拒绝或拖延退费请求,诱导他们兑换“智学AI课”。但根据家长们的反馈,智学AI课的真实效果并不理想。“就是个录播课,没有互动,孩子不爱上。”“智学AI课一共8级,我们现在的程度是6级,换了几百节课有效期到2023年底,根本上不完。”
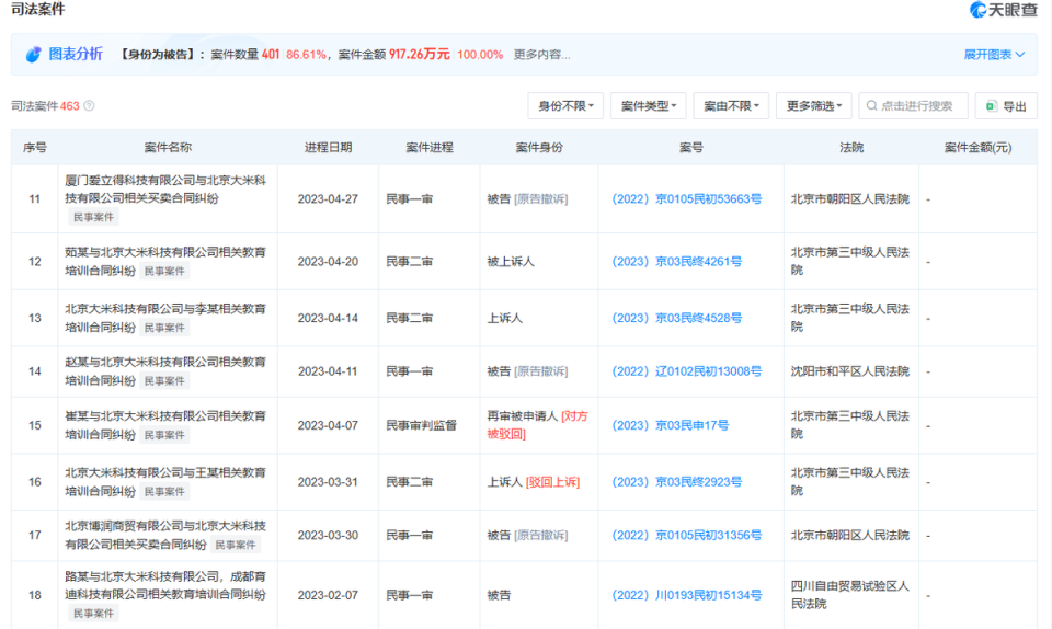
天眼查平台显示,大米科技涉及的司法案件达463条,案件金额达917.26万元。其中,86.61%的案件身份为被告,77.32%的案件案由为教育培训合同纠纷。

图片来源:天眼查截图
截至12月10日,黑猫投诉平台上,共有6183条投诉中包含搜索词“VIPKID”,投诉原因包括承诺不兑现、退款难等。

图片来源:黑猫投诉截图
除此以外,消费纠纷调解平台“电诉宝”上也有多条关于“VIPKID”存在申请退费后流程陷入长期停滞、客服渠道失效、态度恶劣、欺诈消费者等的投诉。
8月9日,湖北省的一位用户向电诉宝反映,学员2017年8月开始在VIPKID学习,因武汉疫情在2020年初中断了课程至今。家长于2025年8月8日联系客服人员,说孩子目前已进入高三年级,VIPKID系统目前没有合适的课程可以学习,询问是否有解决办法。客服人员表示第一不能退费;第二剩余的课程即将于2025年12月30日到期,不确定能否延期;第三课程不能转让他人,目前没有解决办法,也不用向上级反映。
2025年至今,“电诉宝”受理投诉中涉及的数字教育中语言领域用户有效投诉显示(依据投诉量排行),“VIPKID”排名第1位。最新评级为“不予评级”。

图片来源:“电诉宝”小程序截图
从销售人员的频繁推广到后续退费的繁琐流程中,可以观察到,不少家庭在营销影响下批量购入了多达数百课时的课程包。这直接导致了后续课程难以在有效期内消化,而希望退掉未上课时也面临诸多条件限制。
有相关人士表示,“培训机构预收费模式的商业风险很大,根本原因在于机构把预收费作为了融资手段,进行资本化运作。因此‘双减’严禁学科类培训机构进行资本化运作。”多年来,一次性大量预收费是造成培训机构“暴雷”“跑路”的主要原因。
官方账号介绍,VIPKID 成立于 2013 年,12 年来始终践行 “做家庭语言学习的陪伴者,培养具有全球胜任力少年” 的核心使命。目前已累计服务全球 180 万 +中英文学习者,覆盖 100 多个国家和地区,完成 1 对 1 授课 2.8 亿节,录用 20 万优质教师,打造了 “1V1 在线直播课 + AI 互动课程 + KET/PET 考试线 + 原版绘本阅读” 的完整学习生态。
VIPKID被投诉,并非简单的消费纠纷。VIPKID为何能长期、大规模地开展培训业务?其商业模式的根基究竟是什么?这些问题需要明确的解答。