作为财务人,你是不是总遇到这些问题:
● “这个月的税务预算算错了三个数,老板盯着要调整方案”
● “税负率突然异常,到底是哪个环节出问题了?”
● “汇总表改到凌晨,数据还是对不上”……
一边是密密麻麻的Excel公式,一边是精准到分的财务数据,稍有不慎就可能踩坑。
今天,我要给各位财务小伙伴们安利4套“税务神器”——涵盖预算、汇总、分析全流程的税务看板,千万别错过~还想深入了解财税看板?
12 月 11 日(周四)19:00,锁定【电商财税安全与降本增效】直播,炬财首席咨询师安心老师带你拆解风险、避坑增收 —— 不仅教你 “四大避险策略”,还能 get “利润倍增路径”,连工具实操都安排得明明白白!
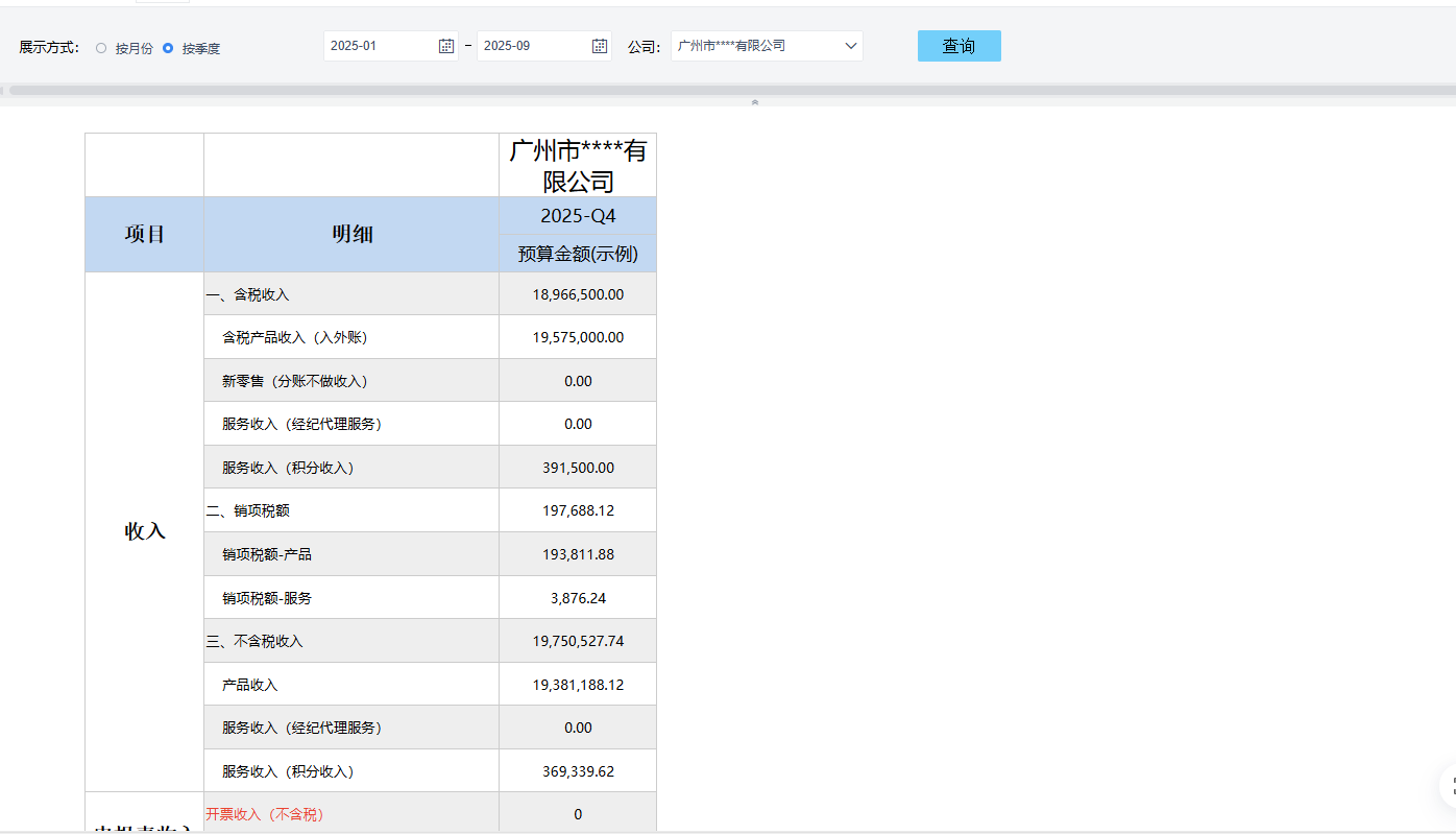
02 精选4套财税分析看板“店铺公司-税务预算”表:税务预算神器
做税务预算最头疼的是什么?预算决算需要翻遍几十张表找数据;改了公司的数值,集团汇总跟着出错......但有了“店铺公司-税务预算”表,这些麻烦事直接被一键清空!它支持“月份”“公司”“集团”三个条件筛选,帮你精准定位每一组数据,表格还把“税务预算”这个核心目标拆解得明明白白,收入、成本、销售费用、管理费用、利润、税费六大科目和明细一个不落,每个科目都细化到具体的财务环节,数据自动关联,生成精准预算,现在有了这套表,不仅能帮企业提前预估纳税金额,还能清晰看到每笔支出的来龙去脉,让税务规划更合理,老板看了都夸“专业”!

“预算汇总”表:季度数据一目了然
做财务的都知道,月底、季末的汇总工作堪称“地狱模式”,各门店的数据杂乱无章,含税收入和不含税收入要区分,销项税额要单独核算,还要对比预算和决算的差异......这套“预算汇总”表覆盖收入、申报表收入、成本、销售费用四大模块,直接呈现各季度的预算金额、占比、决算数据以及差异额,一眼就能看出哪些环节超了预算,哪些环节有结余,为后续的税务申报和经营调整提供精准依据。

“税务分析”:看板:做你的“税务安全卫士”
打开“税务总览”页面,各公司的税务状况、税种分析、税收优惠分析以及税务趋势分析一目了然;税种分析展示税种核心指标及趋势分析;税务风险分析展示税务风险的预警情况。有了这个“安全卫士”,财务人再也不用提心吊胆,只需盯着预警提示,就能精准控制税务风险,妥妥的“定心丸”!

“企业纳税分析”:管理者的“税务导航图”
对于企业管理者来说,只看单个门店的税务数据远远不够,需要的是能掌控全局的“税务导航图”,企业纳税分析从集团层面出发,呈现纳税总额、增值税税负率和综合税负率等核心指标,展示不同税种的实缴金额与应缴金额,增值税、企业所得税、个人所得税等税种的差异,通过地图展示了不同地区的纳税情况,全方位监控各公司的税务状况,确保企业税务合规,同时帮管理者评估税负对财务状况的影响。

财务工作不应该是“埋头算账”,而应该是“精准掌控”。这几套税务看板帮你把复杂的税务数据转化为清晰的决策依据。想了解这些复杂看板的搭建流程,快来直播间!
这场直播,你将会收获:
✅ 新规下电商财税 “5 大风险核爆点” 的精准拆解,提前避开合规雷区;
✅ “四大新规避险” 的落地策略,直接抄走能落地的财税安全方案;
✅ “利润倍增” 的实操路径,从成本优化到收益提升的具体方法;
✅ 工具应用的现场演示,上手就能用的财税提效技巧。
12 月 11 日周四 19:00,把这些干货一次性打包带走,让电商财税既安全又能帮你赚更多,快来扫码报名吧!
