近期,多家同步齿科门诊部接连闭店易主,导致消费者治疗中断、退款无门,引起关注。
深圳特区报&读特记者采访发现,这些门诊部普遍存在欠租欠薪问题,其所属深圳市同步齿科医疗股份有限公司截至12月28日涉及司法案件数量已达47起,涉及案件金额超5900万元。
作为一家经营了30余年的口腔机构,曾经讲出“1元种植牙”营销故事的同步齿科,为什么会走到这个地步?

12月15日,深圳同步齿科同创口腔门诊部关门停业。
有门诊欠租近4个月,员工薪资11个月未发
据此前报道,多人向深圳特区报&读特新闻报料称,他们分别在多家同步齿科门诊部进行口腔治疗,已预付上万元的治疗费,却忽然遭遇门诊部闭店易主、负责人失联,导致患者治疗中断,退款无门。
受此事影响的患者在社交平台上建立了互助群,从10月15日建群至今已有400多人加入,涉及位于深圳龙岗区、福田区、宝安区、罗湖区以及珠海等地多家同步齿科门诊部。
此外,同步齿科门诊部还普遍存在欠租欠薪问题。记者走访了解到,深圳同步齿科同源口腔门诊部的房屋出租方曾发告知函,称截至2025年10月31日,该诊所已逾期支付2025年9月-10月的租金、物业费、水电费等费用超13万元。
深圳同步齿科同富口腔门诊部也从今年开始拖欠租金、物业管理费等费用,物业方表示向诊所负责人多次追讨无果。
曾接收闭店门诊部患者的深圳同步齿科同创口腔门诊部也于今年12月中旬停业,业主方12月15日发布公告称,该诊所近4个月未付租金。

业主方发函称同创口腔门诊部近4个月未付租金。
记者走访期间,也有同步齿科员工透露已多月未领到工资。同步齿科欠薪问题在官方公告中也得到证实。
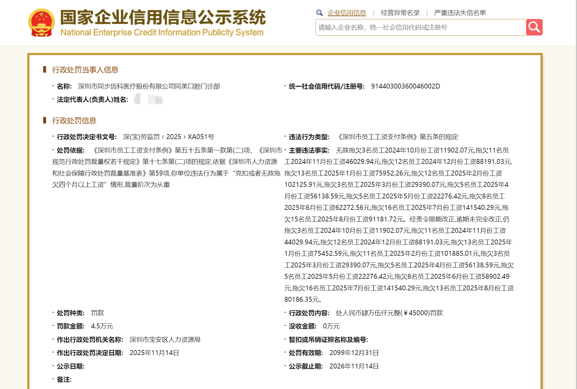
11月14日,国家企业信用信息公示系统发布公告称,深圳市同步齿科医疗股份有限公司同美口腔门诊部因克扣或者无故拖欠四个月以上工资,被深圳市宝安区人力资源局处以4.5万元罚款。
公告显示,同美口腔门诊部无故拖欠员工2024年10月份至2025年8月份的工资,总计72万余元。经责令限期改正,逾期未完全改正,仍拖欠员工工资70多万元。

11月21日,深圳市福田区人力资源局在官网发布公告称,深圳市福田区劳动人事争议仲裁委员会已受理余某某诉深圳同创同步口腔门诊部与深圳市同步发展口腔有限公司劳动争议案件,并定于2026年1月7日开庭审理此案。
此前记者走访同源口腔门诊部时亦看到,深圳市福田区人力资源局于10月10日给该诊所发出《劳动监察询问通知书》,要求提供营业执照、全体员工劳动合同书、多名员工2025年7月至9月的工资表及支付凭证等材料。
针对同步齿科门诊部接连关店、欠租欠薪等问题,记者多次联系该公司法定代表人唐某强,但其电话无人接听或接听后挂断,短信也无回复。记者走访同步齿科总公司所在地了解到,该公司已在两年前搬走,原因是与写字楼的续租合同没有谈妥。
一天之内增加8起被执行记录
同步齿科门诊部接连倒闭,从公司经营状况中已显露端倪。
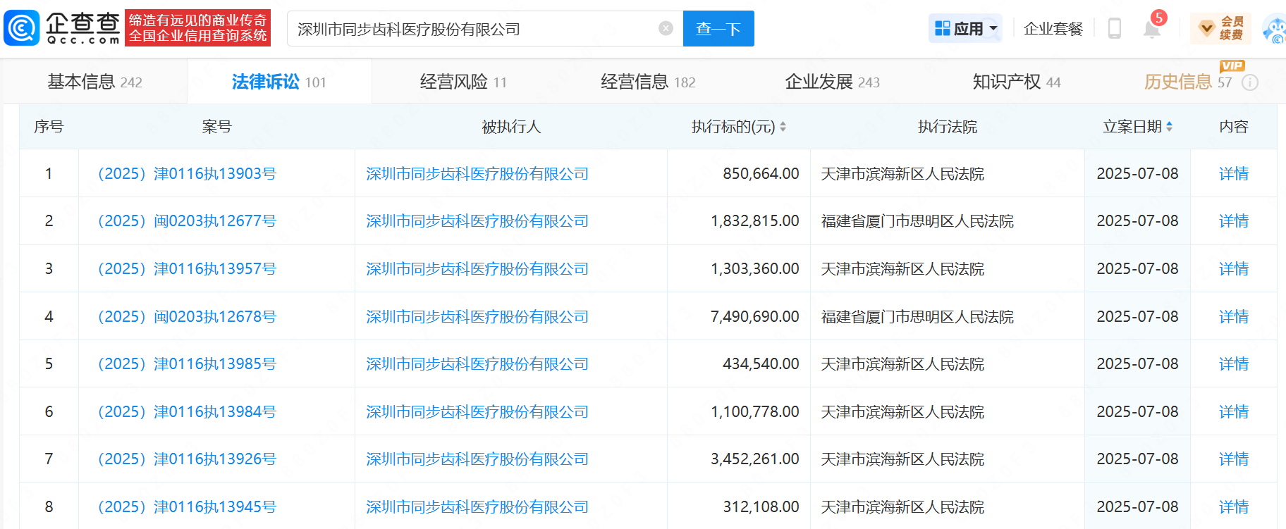
同步齿科门诊部所属主体为深圳市同步齿科医疗股份有限公司。企查查App显示,该公司成立于2006年12月,注册资本超2229万元,法定代表人为唐某强。目前,该公司及相关负责人、管理人员已被列入失信被执行人、被执行人,并被限制高消费。

据企查查APP,今年7月8日,深圳市同步齿科医疗股份有限公司在一天之内增加了8起被执行的立案记录,执行法院分别位于天津和福建,执行标的达1677.72万元。
执行案件内容显示,在天津地区法院执行的案件被执行人,包括刘某荣、唐某强、唐某、彭某等人,以及深圳同创同步口腔门诊部、深圳同富口腔门诊部、深圳同步投资管理合伙企业(有限合伙)、深圳同源口腔门诊部、深圳同源投资管理合伙企业(有限合伙)、深圳同裕口腔门诊部、深圳学府同步口腔门诊部、深圳市同步齿科医疗股份有限公司、珠海市同步口腔医疗管理有限公司、珠海市同美口腔医疗管理有限公司等;在厦门地区法院执行的案件被执行人大多与天津地区的一致,均为同步齿科公司相关负责人、管理人员及关联企业。

今年7月8日,深圳市同步齿科医疗股份有限公司增加了8起被执行记录。
据企查查统计,截至12月28日,深圳市同步齿科医疗股份有限公司涉案数量已达47起,涉及金额达5976.15万元。
其中,61.7%的案件身份为被告;近五年内84.09%的案件年份为2025年,占比最高。
此外,该公司截至12月28日已有7条终本案件(即由于被执行人没有可供执行的财产,而裁定终结本次执行程序),未履行金额为2125.47万元。
上市不足一年草草收场
作为一家老牌连锁口腔机构,同步齿科的发展曾经备受瞩目。
公开资料显示,同步齿科起源于1993年,唐某强在深圳罗湖开设了第一家口腔门诊部,后于2004年9月设立深圳市同步齿科投资顾问有限公司,并成立深圳同步口腔门诊部。
2016年,同步齿科获得枫海资本的首轮融资,之后进入品牌高速发展期。2017年10月,深圳市同步齿科投资顾问有限公司变更名称为深圳市同步齿科医疗股份有限公司,并于2018年6月在新三板上市。
据同花顺金融研究中心公布的财务数据,2015年至2018年上半年,同步齿科分别实现营业总收入2019.71万元、7405.01万元、1.35亿元、7719.11万元。

深圳市同步齿科医疗股份有限公司于2018年6月11日起在全国股转系统挂牌公开转让。(图源网络)
但在2019年1月29日,深圳市同步齿科医疗股份有限公司召开2019年第二次临时股东大会,审议通过《关于申请公司股票在全国中小企业股份转让系统终止挂牌的议案》等文件。
议案内容显示,根据公司目前所处的行业发展情况,为进一步降低公司运营成本,配合公司长期经营发展战略需要,经公司审慎研究决定,拟向全国中小企业股份转让系统申请终止挂牌。
2019年2月27日,全国中小企业股份转让系统有限责任公司发布公告称,自 2019年3月4日起终止同步齿科股票挂牌。至此,同步齿科的上市之路不足一年便草草收场。

在冲击上市的同时,同步齿科也在向深圳周边城市快速扩张。
2020年,唐某强与某投资企业访谈时表示,从自主创业到合伙开设门诊,再到创立同步齿科的品牌,经过27年的发展,同步齿科在深圳、珠海、东莞三地建立了50家口腔连锁机构,有将近1000名员工。
但根据企查查APP,截至12月28日数据,深圳市同步齿科医疗股份有限公司旗下的口腔连锁机构已不足30家。
业内人士:同步齿科倒闭与其经营策略有关
曾经发展火热的同步齿科,为何落得欠费倒闭、官司缠身?近日,记者从一位接近同步齿科的业内人士了解到,同步齿科倒闭与其采取价格战的经营策略有关。
2023年12月,同步齿科面向65岁以上人群推出“1元种植2颗牙”优惠活动,在业内引发关注。据同步齿科创始人唐某强在直播间讲述,该优惠价格包括植体、基台、全瓷牙冠、骨粉、骨膜以及手术费用,活动时间从2023年12月一直持续到2026年12月。

2023年12月,同步齿科推出“1元种植2颗牙”活动。(图源网络)
“1元种植牙成本都不够。”业内人士表示,不算场地、人工的费用,仅仅是种植体加冠修复的费用就要至少上千元。在成本不足的情况下,诊所往往会通过各种套路来增加收费。比如患者的骨量其实是正常的,但诊所人员可能会称骨量不好,需要加骨粉;或称植体不适合这名患者,可能选另一种更好的会更适合……
而该业内人士表示,同步齿科1元种牙是真实存在的,也有人就选择做1元的种植项目,那诊所赔钱也得做。
为什么同步齿科要做“亏本生意”?业内人士表示,同步齿科与许多大型民营口腔诊所类似,属于以利益为导向的资本型口腔机构。它们主要目的是把盘子做大,做到上市吸引资本,所以同步齿科公司内部曾有不少主力医生和门店经理花钱入股。
口腔诊所要把盘子做大,首要办法就是砸钱做广告。业内人士称,一家资本型口腔诊所每月营业额上千万,但实际利润可能仅在十几万到二十几万之间,其中不少收入都耗费在了广告等方面,实际上并不怎么赚钱。但广告多起来后,患者便会不断增加。随着经营规模越来越大,营业额越来越高,公司股份也就会变得越来越值钱,这其中的增益部分才是他们想要的。
记者在同花顺金融研究中心查询同步齿科(872700)财务数据发现,虽然2015年至2018年上半年,同步齿科分别实现营业总收入2019.71万元、7405.01万元、1.35亿元、7719.11万元,但同一时间,其净利润分别为129.25万元、513.03万元、1321.73万元、588.07万元。
此外,记者从深圳同步齿科微信公众号了解到,今年5月25日,同步齿科推出“同步AI健康家”智慧健康社区服务诊所,同步齿科创始人兼董事长唐某强也出席了发布仪式。

今年5月25日,同步齿科推出“同步AI健康家”项目并面向全国开放加盟。(图源网络)
据介绍,上述项目包含AI中医智能诊断、机器人智慧理疗、数字3D美牙、全周期健康管理功能,发布的同时面向全国开放加盟,个人消费2万即投资2万元,享门店2%的股权,20家首批席位限时开放。
在收益方面,基础服务(洁牙、儿童护理等)贡献30%收入,增值服务(AI面诊、机器人理疗等)占比35%,牙齿美容+中心门诊转诊占比35%,并承诺24个月内保底回本,月均营收预估最高达30万元。
然而在一个多月后,同步齿科连同其相关人员和企业都成为了被执行人。