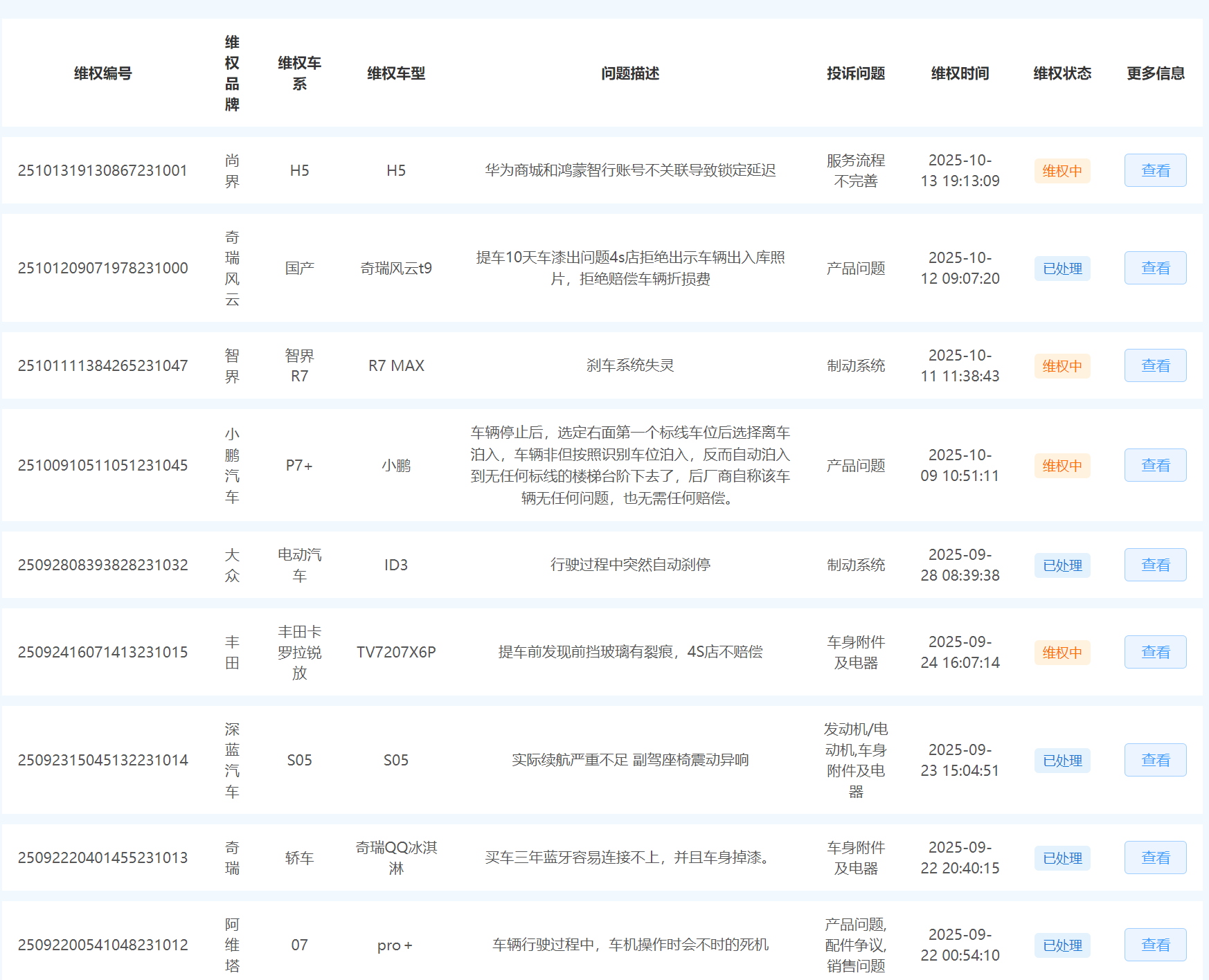
近日,专业车主维权投诉平台车质帮投诉量呈现显著增长态势,被投诉品牌涉及丰田、上汽大众、智界、丰田等主流汽车品牌,投诉焦点则主要集中在质量故障与服务纠纷两大领域。面对车友的维权诉求,车质帮工作人员积极响应,协助车友高效维权,赢得车主群体广泛认可。

当前汽车消费市场中,质量问题与服务短板仍困扰着广大车友,尤其是新能源车型智能化故障、续航不足以及交付过程中的服务纠纷,因为取证难、投诉渠道少,从而加剧了维权难度。”针对买车、用车、卖车全链条可能出现的问题和纠纷,车质帮平台不断升级维权服务矩阵,联合多家汽车行业媒体,为车友提供证据留存、协商调解等全流程支持。
所以,当您遭遇车辆质量故障、销售欺诈、售后推诿等问题,不必被 “正常现象” 的借口劝退。您可以搜索车质帮小程序与或者登录WWW.AUTO315.CN网站,以规范的流程、明确的证据主张权益,既能避免陷入 “维权耗力” 的困境,也能推动车企重视售后责任。

需要提醒各位维权车友的是,针对反馈的问题,我方将依据提供的资料整理成专题文章,同步发布于车质帮官网及合作媒体平台;若您能提供相关视频素材,亦可制作成维权专题视频,通过全平台矩阵进行推广传播。此举旨在最大化引发厂商关注与重视,为维权行动提供助力。
当然,车质帮平台旨在帮助车友维护自身的合法权益,维权车友必须保证所提供的全部资料及陈述内容均真实、准确,无任何虚构或夸大成分。否则,车质帮有权单方面删除维权信息,并追究相应法律责任。
最后我们希望,“车质帮” 能够成为您买车、用车、卖车的 “好帮手”。
买车用车卖车遇难题,就找车质帮!