文章由山东赛锐特检测仪器有限公司提供技术指导
执行标准:
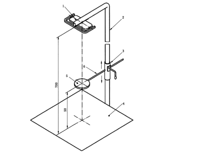
YY/T 1120-2021中7.3.8

技术参数;
圆盘直径:φ 20mm (厚:1mm)
距离测量屏:50mm
测量屏:带直角坐标系
光源距屏:700mm
工装包含柱、调节用滑动环、测试屏、杆

配置清单
工装一套,
合格证一份,
铭牌一份。
文章由山东赛锐特检测仪器有限公司提供技术指导
执行标准:
YY/T 1120-2021中7.3.8

技术参数;
圆盘直径:φ 20mm (厚:1mm)
距离测量屏:50mm
测量屏:带直角坐标系
光源距屏:700mm
工装包含柱、调节用滑动环、测试屏、杆

配置清单
工装一套,
合格证一份,
铭牌一份。