欢迎关注科粤知识产权,获取更多知产资讯!知产业务选科粤,助您成功!
今日,爱奇艺官宣由胡歌主演的新剧《楠丁格尔先生》,片名引发网友争论,登上热搜。
该剧由胡歌主演,英文名为《Male Nurse》,直译为“男护士”。然而,剧名中的“楠丁格尔先生”被指出是对历史上著名的女护士弗洛伦斯·南丁格尔的不敬,因为南丁格尔是现代护理事业的奠基人,她的名字与护理职业紧密相连。批评者认为,将“南丁格尔”改为“楠丁格尔先生”不仅缺乏对南丁格尔女士的尊重,还可能误导观众,造成历史认知的混乱,并加剧性别角色的刻板印象。
网友们认为这是典型的“女冠男戴”,即女性的荣誉被错误地赋予男性。尽管剧方声称,该名字意在向医护人员致敬,但多数人认为这种做法有失尊重,并呼吁剧方重新考虑剧名,以更加恰当的方式展现对医护人员的尊敬。

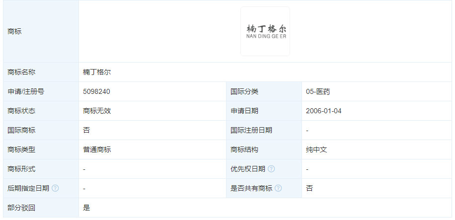
这个备受争议的“楠丁格尔”,居然都被注册过商标。根据天眼查信息显示,“楠丁格尔”曾于2006年被武汉某医药公司申请注册为商标,国际分类为医药,该商标已于2008年被驳回,目前处于无效状态。此外,“男丁格尔”“南丁格尔”也被多方申请注册为商标,申请人包括文化创意、服饰、药业公司等及多位自然人,国际分类涉及医药、广告销售等,当前商标多为被驳回,处于无效状态。
欢迎点赞,留言,加关注,带你一起获取更多有趣的知产消息!