
文末有双色球红球同尾数2-12-32, 及2-6-12, 24-25-32的历史统计。【福彩双色球26035期开奖结果及统计】红球号组合历史上有1期四球相同,蓝球2,6注一等奖,奖池21.09亿(2108784926)。双色球26035期开奖结果及中奖情况:出奖时间: 2026-03-31 星期二 红球: 2-6-12-24-25-32蓝球: 2双色球红球隔期下落:6红球奇偶比:1:5红球和值:101红球跨度:30 三区比:2:1:3连号: 24-25


双色球26035期一等奖: 6注二等奖: 268注本期全国销售金额:389527084 元 奖池滚存:2108784926 元.近15期奖池滚存, 中奖情况等信息:

双色球2026035期红号在过去是否出现过?双色球2026035期红号: 2-6-12-24-25-32经查,历史上没有出现过与这一期6个红号一样的,5个红号一样的有1期,如下:


与这一期4个红号一样的有21期,如下:


相似号下一期的近10期统计:


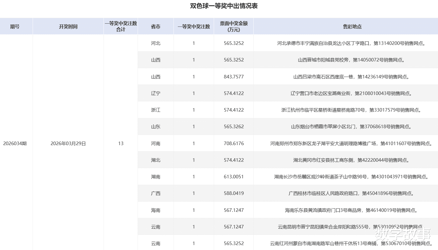
奖池滚存及一等奖数量:

统计近1500期蓝号2之后, 各蓝球的出现次数双色球26035期蓝号是2找出近1500期蓝球2号之后, 下一期出现的所有蓝号,统计其出现次数。,除开这一期,总共出现了89次2号球那么统计的样本数据是89个

=> 双色球近1500期蓝号2之后的冷热号蓝球热号:16,9,6,14蓝球冷号:1,3,5,10,15
双色球26035期开奖号码 VS 各冷热号

博弈心理,挑战概率: 看近期开奖号码,也可看历史数据统计!【双色球26036期多角度冷热号】双色球26036期四维走势图,红蓝号统计及冷热号1) 历史同一天: 04月02日 (共9期)


2) 历史同一期: 每年036期 (共23期)


统计每年036期的样本数据:138个红球 23个蓝球

3) 追溯10期 每月02日:


4) 双色球最近20期:

=> 统计出现概率综合以上4个纬度的号码, 共62期根据出现的次数,分为热号,冷号,其他的为温号。统计样本数据:372个红球 62个蓝球

=> 双色球26036期四维度冷热号红球热号:2,18,13,30,3,31,28,22,25,24红球冷号:4,20,29,14,15,27,33,5,8蓝球热号:3,2,10蓝球冷号:12,1,8,11,13,14
双色球近200期红蓝号统计情况统计样本数据: 1200个红球 200个蓝球

=> 双色球近200期冷热号红球热号:2,13,9,6,3,10,22,16,30,25红球冷号:26,29,31,12,21,27,28,1,20,32蓝球热号:11,10,15,6,16蓝球冷号:9,3,4,13
双色球近10期红蓝号统计情况统计样本数据: 60个红球 10个蓝球

=> 双色球近10期冷热号红球热号: 2,3,6,13,18,22,25,28红球冷号: 4,5,8,15,20,27,30蓝球热号: 2蓝球冷号: 1,9,10,11,12,14,16
多角度蓝球次数汇总

=> 汇总的蓝球冷热号:热号:16,6,2,11,10冷号:12,1,9
【其他历史数据查询统计】双色球历史上的今天2026-04-01 星期三 双色球不开奖每年04月01日出号情况:

奖池滚存&一等奖数 走势图:

双色球每年037期的出奖号


双色球红球含24-25-32历史统计



双色球红球含2-6-12历史统计



双色球红球含2-12-32历史统计



双色球26034期一等奖中奖详情

