#鞠婧祎宣布已是独立艺人#
据报道,12月16日,鞠婧祎工作室联合律师连续发布声明,明确指控前经纪公司丝芭传媒伪造合约、恶意诉讼,并强调双方经纪合约已于2024年6月15日依法解除。
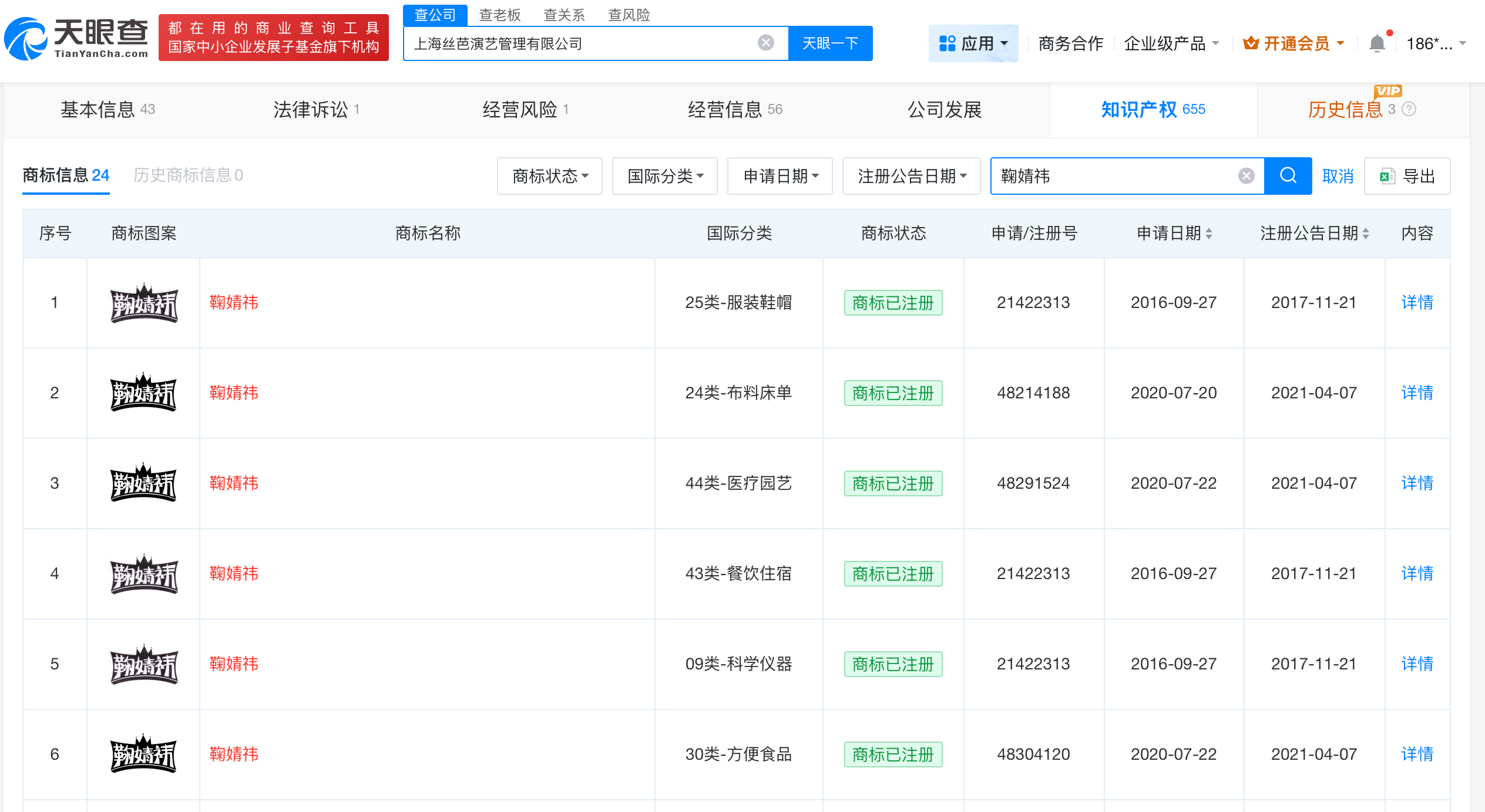
天眼查知识产权信息显示,上海丝芭演艺管理有限公司已注册多枚“鞠婧祎”商标,国际分类涉及服装鞋帽、布料床单等,当前商标状态均为已注册。

#鞠婧祎宣布已是独立艺人#
据报道,12月16日,鞠婧祎工作室联合律师连续发布声明,明确指控前经纪公司丝芭传媒伪造合约、恶意诉讼,并强调双方经纪合约已于2024年6月15日依法解除。
天眼查知识产权信息显示,上海丝芭演艺管理有限公司已注册多枚“鞠婧祎”商标,国际分类涉及服装鞋帽、布料床单等,当前商标状态均为已注册。
