一天豪掷22亿,顺控城投连夺两宗靓地。今天(12月18日),继大良欢乐海岸地块后,陈村新城区地块也被顺控城投收入囊中。经
一天豪掷22亿,顺控城投连夺两宗靓地。
今天(12月18日),继大良欢乐海岸地块后,陈村新城区地块也被顺控城投收入囊中。
经企查查显示,佛山市顺德区楹德置业有限公司为顺控集团旗下子公司。

|陈村地块成交截图

|大良欢乐海岸地块成交截图
其中陈村镇景成路以东、缤纷一路以南地块成交总价为69232万元,折合楼面价约5295元/平。
该地块位于陈村新城区中心,东侧为陈村公园,北为陈村总商会大厦,靠近广州地铁7号线顺德段锦龙站。

|来源:高德地图
出让文件显示,该地块总面积为6.9万平,分为A、B、C、D四个地块规划。其中,A区占地19999.43平,C区总占地24108.51平,两块地均规划为城镇住宅用地兼容零售商业用地、批发市场用地、餐饮用地、旅馆用地,容积率≥1.2且≤2.5,建筑密度≤25%,绿地率≥30%。B区占地17053.38平,规划为零售商业用地、批发市场用地、餐饮用地、旅馆用地,容积率≤1.2,建筑密度≤45%,绿地率≥30%。D地块为公园与绿地用地,占地面积为7978.29平。

|来源:佛山市公共资源交易中心根据开发建设要求,竞得人须在本宗地A区及C区统筹配套建设并无偿移交社区用房及其配套车位,同时须在本宗地D区配套建设并无偿移交公园绿地及公共慢行步道,总建设成本不低于798万元。

|来源:佛山市公共资源交易中心与此同时,该地块也有打造超新规产品的条件。出让文件提到如符合相关政策要求,套内阳台(含空中花园、入户花园)面积不超过套内建筑面积30%时,套内阳台面积折半计算;超过套内建筑面积30%时,30%以内折半计算,超过30%部分全部计算。

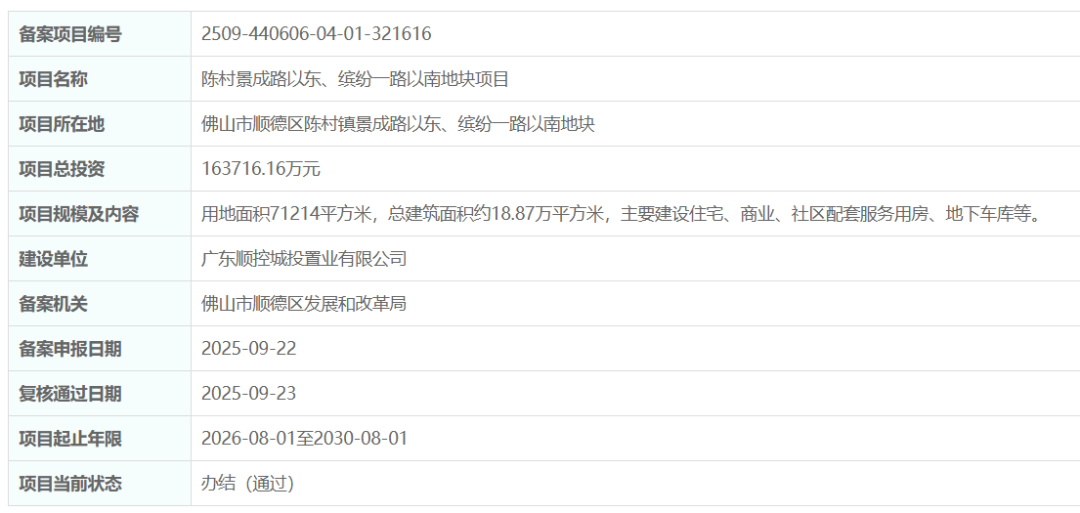
|来源:佛山市公共资源交易中心其实,该地块被顺控城投拿下也意料之中。据了解,该地块在9月时已完成备案。根据备案网信息显示,地块用地面积71214平方米,与此次挂牌总面积略有出入。项目主要建设内容为住宅、商业、社区配套服务用房、地下车库等,建设单位为广东顺控城投置业有限公司。

|来源:广东省投资项目在线审批监管平台算上今天成交的大良、陈村两宗地块,顺控城投的布局版图又在扩容。据楼市君不完全统计,目前顺控城投持有在售在建商住项目已达9个,遍布顺德各个镇街。

今年以来,部分待入市的新盘项目也动作频频,预计将会在2026年面市。其中,顺控珺璟已经开始动工,规划6栋超高层住宅,和产品涵盖90-144平的超新规户型;以及24栋4层滨水商墅,景观资源丰富。

|顺控珺璟效果图| 图源:顺控城投美好家就在11月,顺控大良德胜河北岸项目开始动工,定名顺控德胜壹号。整个小区规划10栋住宅,均为T2/T3设计,主打“第四代住宅”产品,面积段覆盖142/195/245/258/332平。

|顺控德胜壹号效果图| 图源:顺控城投美好家另外,顺控城投在乐从的项目,效果图也已曝光。作为佛山新城十年罕见的容积率仅1.5的地块,顺控乐从项目将打造低密墅居产品,并搭配部分高层产品。同时,地块紧挨良沙河,可一线望江,形成自然围合的景观优势。

|顺控乐从项目效果图| 图源:广东省设计建筑研究院除了常规的项目,顺控城投还参与设计开发了新式自建房——顺控榕禾院,并已开放示范区。据了解,示范区分为东地块9栋自建房和西地块4栋自建房,共13栋楼。每一栋楼的基地面积都不同,在83-142平之间,但建面基本都在300平以上,采取拍卖形式出售。

|顺控·榕禾院实景|佛山楼市发布 摄值得一提的是,12月26日顺德大良顺德学院旁还有1宗宅地挂牌网拍,起拍楼面价约1万/平。有意思的是,该地块正位于2024年顺控城投拿下的逢沙地块旁,不止这次是否又会拿下连片开发呢?我们拭目以待~最后,对于顺控城投旗下的新盘,你最期待哪个呢?欢迎评论区留言~