DC娱乐网

标签: 零跑d19

零跑D19开启盲订,能闭眼买吗? 进入11月第一天,零跑D19正式官宣盲订,

零跑D19开启盲订,能闭眼买吗? 进入11月第一天,零跑D19正式官宣盲订,

零跑D19开始盲订了,大电池增程车是当下最优解吗? 在我看来是的!为啥这两年

零跑D19开始盲订了,大电池增程车是当下最优解吗? 在我看来是的!为啥这两年

零跑D19,我先订了!这两天看到零跑D19这车开始接受预订了,先预订一个试试水,

零跑D19,我先订了!这两天看到零跑D19这车开始接受预订了,先预订一个试试水,

浅谈一下即将上市零跑D19先说几句废话,早前就听说零跑申报了一款中大型SUV,

浅谈一下即将上市零跑D19先说几句废话,早前就听说零跑申报了一款中大型SUV,

别急着买问界M7!零跑D19盲订开启,增程版也有500km纯电续航

此外,从零跑D19智能化表现来看,这台车出自零跑LEAP 4.0架构,辅助驾驶这块将配备综合算力1280TOPS的双8797芯片,并融入VLA世界模型、激光雷达等硬件,用车维度能实现车位到车位全场景辅助驾驶。至于智能座舱,零跑D19并未...
零跑D19盲订开启,卖多少钱合适呢?这车哪哪都好,要是尾门上面这一串英文设计得

零跑D19盲订开启,卖多少钱合适呢?这车哪哪都好,要是尾门上面这一串英文设计得

零跑D19已经开启盲订,再做一些多场景图给大家来个参考。不得不说D19的造型挑不

零跑D19已经开启盲订,再做一些多场景图给大家来个参考。不得不说D19的造型挑不

零跑D19的增程四驱有意思:两个电机实现了四驱,类似于长城的Hi4技术用两个电

你有没有想过,电动车能做到像零跑D19那样的豪华配置和超强性能吗?看着现在市面上

你有没有想过,电动车能做到像零跑D19那样的豪华配置和超强性能吗?看着现在市面上

零跑D19正式开启盲订!999元意向金,定位6座旗舰大型SUV

零跑D19正式开启盲订!999元意向金,定位6座旗舰大型SUV

日前,我们了解到零跑汽车宣布旗下新车零跑D19开启盲订。新车定位6座旗舰大型SUV的车型...新车整体座舱基于LEAP4.0中央域控架构打造,首发搭载高通骁龙双8797至尊芯片,算力可达1280TOPS,支持VLA辅助驾驶,包含车位到车位功能。...
零跑D19正式盲订,定价多少合适?​​​

零跑D19正式盲订,定价多少合适?​​​

零跑D19居然能下单了,先盲订一波​​​

零跑D19居然能下单了,先盲订一波​​​

零跑D19居然能下单了,先盲订一波​​​
月销破“7万大关”!零跑汽车再创销量纪录,零跑D19即将开启盲订! 大家都知

月销破“7万大关”!零跑汽车再创销量纪录,零跑D19即将开启盲订! 大家都知

孙少军:零跑继续第一个发战报,10月交付突破7万!零跑D19开启盲订!零跑汽车

孙少军:零跑继续第一个发战报,10月交付突破7万!零跑D19开启盲订!零跑汽车

零跑D19,这次真是纯盲定。我跟大家一样,除了公开已知的信息,其他一概不知了。

零跑D19,这次真是纯盲定。我跟大家一样,除了公开已知的信息,其他一概不知了。

新势力“9系”大比拼,零百加速到底谁最快?随着零跑D19的全球首秀,新势力阵营

新势力“9系”大比拼,零百加速到底谁最快?随着零跑D19的全球首秀,新势力阵营

技术破局者零跑汽车(09863)D19如何重塑高端市场格局?

2025年10月,零跑汽车(09863)在历经十年全域自研后,正式发布其旗舰D平台,并全球首秀首款全尺寸SUV—零跑D19,随后掀起市场预订的热浪。...此外,D19还搭载LMC2.0底盘系统,集成高速双轮爆胎控制、3.6米级“圆规掉头”等黑科技...
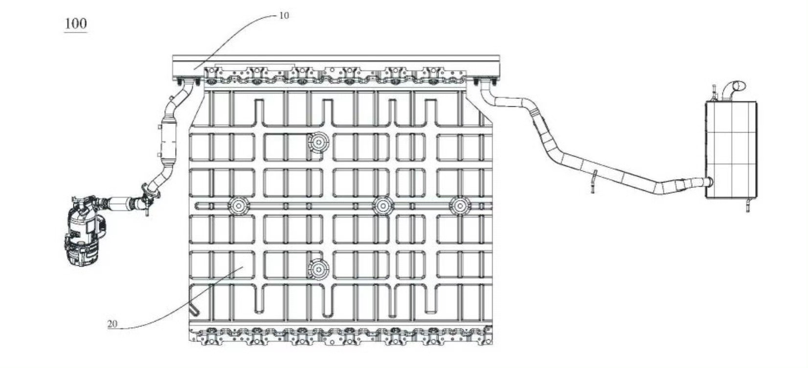
零跑D19增程版将排气管“藏”进车门门槛,这一反常规的设计是典型的“成本敏感型

零跑D19增程版将排气管“藏”进车门门槛,这一反常规的设计是典型的“成本敏感型

零跑D19去掉伪装之后,小伙伴们觉得这个气场对比市面上主流的大型SUV怎么样?阿

零跑D19去掉伪装之后,小伙伴们觉得这个气场对比市面上主流的大型SUV怎么样?阿

零跑D19上路的姿态是真的好看,就是50w+车的感觉。​​​

零跑D19上路的姿态是真的好看,就是50w+车的感觉。​​​

零跑D19,颜色、质感、设计感觉不错,价格预计也不会太贵​​​

零跑D19,颜色、质感、设计感觉不错,价格预计也不会太贵​​​

零跑D19纯电版,115度电池包,如果定价23万,大型SUV通通卷死。来看看

零跑D19纯电版,115度电池包,如果定价23万,大型SUV通通卷死。来看看

零跑D19无伪装出街,这气场可还行。[思考]零跑D19新能源汽车​​​

零跑D19无伪装出街,这气场可还行。[思考]零跑D19新能源汽车​​​

零跑持续向上,零跑D19搭载多项新技术,能否坚持好而不贵的理念?

零跑持续向上,零跑D19搭载多项新技术,能否坚持好而不贵的理念?

驾控方面,零跑D19搭载LMC 2.0底盘系统,支持双轮爆胎控制、凌波微步平顺体验和圆规掉头半径等技术。在高速行驶时遇到爆胎也是个比较危险的情形,处置不当就会引发更大的损失,然而零跑D19的双轮爆胎控制功能可通过底盘检测...
零跑D19全新「液态银」来了!将晨曦的温柔与金属的力量合二为一,诠释一种有温

零跑D19全新「液态银」来了!将晨曦的温柔与金属的力量合二为一,诠释一种有温

零跑D19全新「液态银」来了!将晨曦的温柔与金属的力量合二为一,诠释一种有温度的未来奢华感。​​​
原来零跑D19的VLA方案是元戎启行提供的,元戎又再一下城。目前用元戎启

原来零跑D19的VLA方案是元戎启行提供的,元戎又再一下城。目前用元戎启

零跑D19全球首搭115kWh宁德时代超混电芯,直接打破电池“续航、安全、寿命”

零跑D19全球首搭115kWh宁德时代超混电芯,直接打破电池“续航、安全、寿命”

电池的续航、安全、寿命,只能做单选题?零跑D19全球首搭115kWh宁德时代

电池的续航、安全、寿命,只能做单选题?零跑D19全球首搭115kWh宁德时代

增程有500公里纯电续航,零跑D19把“增程”二字撕下来重写了

增程有500公里纯电续航,零跑D19把“增程”二字撕下来重写了

80度大电池、500公里纯电续航、800V高压平台,零跑D19的这套配置组合,让增程车不再是“背着油箱的电动车”,而是变成了“带着备份的纯电车”。(零跑D19) 10月16日,上海浦东美术馆,演员费翔作为代言人现身站台,零跑汽车...
零跑杀进全尺寸SUV领域!高端D19迎首发,矛头直指问界M9、理想L9

零跑杀进全尺寸SUV领域!高端D19迎首发,矛头直指问界M9、理想L9

它的算力高达1280TOPS,可实现端侧大模型智能座舱及VLA辅助驾驶功能,为了追求好的驾控,零跑D19采用3电机矢量控制,实现3秒级零百加速,并配备了双腔闭式空悬、CDC减振、主动预瞄系统、LMC2.0底盘系统等等,能够支持双轮爆胎...
零跑D19,你觉得卖多少能爆?🌟刚看完实车,跟大家分享几个我觉得好的点1️⃣诚

零跑D19,你觉得卖多少能爆?🌟刚看完实车,跟大家分享几个我觉得好的点1️⃣诚

每个人都有自己的主场,无需竞逐他人设定的中心零跑D19现邀请你和费翔一起D位出道

每个人都有自己的主场,无需竞逐他人设定的中心零跑D19现邀请你和费翔一起D位出道

你别说,由于费翔的代言,零跑D19看着逼格都高了不少[doge]​​​

你别说,由于费翔的代言,零跑D19看着逼格都高了不少[doge]​​​

零跑D19​​​​​​

零跑D19​​​​​​

零跑D19这个“液态银”颜色绝了!在光线下跟流动的金属似的,做工和审美都在线。既

零跑D19这个“液态银”颜色绝了!在光线下跟流动的金属似的,做工和审美都在线。既

80度电池的混动车?零跑D19首秀!这配置简直是旗舰天花板!家人们,看完零跑D

80度电池的混动车?零跑D19首秀!这配置简直是旗舰天花板!家人们,看完零跑D

零跑D19vs理想L9Ultra。在新能源全尺寸SUV市场,零跑D19(预

零跑D19vs理想L9Ultra。在新能源全尺寸SUV市场,零跑D19(预

自研65%核心成本,零跑D19能否撼动理想L9市场地位?

新能源车市场越来越热闹,各家新势力和传统品牌都在加速布局,但零跑D19的出现让人眼前一亮。这款车型瞄准30万级市场,并非单纯靠价格竞争,而是通过 全域自研技术 实现了动力、续航、智能化和制造成本的全面突破。D19搭载六大...
配80.3度大电池!零跑D19亮相,定位六座大型SUV,纯电增程都有

配80.3度大电池!零跑D19亮相,定位六座大型SUV,纯电增程都有

而对于纯电版本的零跑D19,该车则是采用了1000V电压平台和前后三电机技术,从动力参数上来看,这三电机的综合功率达到了540kW,同时作为一台大型SUV,零跑D19的零百加速性能也做到了3秒级的水平。而对于零跑D19纯电版的续航...
这外形怎么有点眼熟呢?零跑D19官图公布,定价多少能大卖

这外形怎么有点眼熟呢?零跑D19官图公布,定价多少能大卖

先来感受一下零跑D19的外观设计,作为一款旗舰级车型,零跑D19自然要比其他车型看起来更加高端大气一些,一眼看去能感受到它的创新与传承,贯穿灯带是零跑家族的标志性设计,左右两侧灯组采用分段设计,点亮之后辨识度更高。...
作为全球首搭高通骁龙双8797至尊芯片的车型,零跑D19以双芯协同实现

作为全球首搭高通骁龙双8797至尊芯片的车型,零跑D19以双芯协同实现

小米YU9遇到“硬茬”了,全是一流供应商,零跑D19砸场子来了

如今零跑汽车作为一家长年主打“10-20万家用车市场”的造车厂商,其将推出的零跑D19或许有望拔高品牌的市场地位和影响力,毕竟参考今年1-8月的销量数据,零跑累计交付突破32万台,上半年净利润0.3亿元,并且BCD系列已经完成量...
零跑D19&理想L9,谁家的设计更好看?[思考][思考]​​​

零跑D19&理想L9,谁家的设计更好看?[思考][思考]​​​

短时间内,零跑D19的80度电池没有任何对手。800V大电池的增程产品,还买啥纯

短时间内,零跑D19的80度电池没有任何对手。800V大电池的增程产品,还买啥纯

每一束光,皆有言语零跑D19​​​

每一束光,皆有言语零跑D19​​​

零跑D19发布会炸场!80度增程电池续航500km,双8797芯片直

零跑D19发布会炸场!80度增程电池续航500km,双8797芯片直

零跑D19外观来看,不输于问界M9,30万能卖爆不?

零跑D19外观来看,不输于问界M9,30万能卖爆不?

零跑D19:定位25-30万是不是太贵了?

零跑D19:定位25-30万是不是太贵了?

零跑 D19 的定价争议,首先需要用配置清单回应。作为品牌冲击高端的旗舰 SUV,其核心硬件确实突破了传统价位认知:搭载双高通骁龙 8797 芯片,1280TOPS 算力远超同级,配合车顶激光雷达可实现“车位到车位”自动驾驶;增程版纯...
一块电池“打天下”零跑D19凭什么敢叫“超混电池之王”

一块电池“打天下”零跑D19凭什么敢叫“超混电池之王”

最近我看到零跑D19的电池技术,宁德时代搞的那个“三元锂+磷酸铁锂二合一超混电池”,这波操作,真把整个行业给整震了。其实我对零跑这个品牌,一开始关注并不算多。毕竟,比亚迪、特斯拉那一波太猛了,零跑总感觉低调得有点...
[doge]这么看,零跑D19侧颜真的还不错~​​​

[doge]这么看,零跑D19侧颜真的还不错~​​​

零跑D19正式亮相,增程版纯电续航500km。新车车身长度超5.2米、车身宽度近

零跑D19正式亮相,增程版纯电续航500km。新车车身长度超5.2米、车身宽度近

D19冲刺高端,零跑能否持续领跑?

D19冲刺高端,零跑能否持续领跑?

10月16日,零跑D19豪华旗舰SUV完成全球亮相。作为一款号称承载零跑“十年全域自研能力”和“一流供应链加持”的超级旗舰车型,...值得注意的是,零跑在今年上半年实现净利润0.3亿元,成为继理想之后又一家实现盈利的新势力车企。...
零跑D19:三重击破需求痛点,上市即领跑的必然

零跑D19:三重击破需求痛点,上市即领跑的必然

当理想 L9 以 40 万级定价占据全尺寸 SUV 市场,当消费者为大空间与低预算的矛盾纠结时,零跑 D19 的亮相给出了最优解。...当大空间、低价格、长续航混动三大需求被同时满足,零跑 D19 的销量领跑,已是市场选择的必然。
零跑D19首秀!费翔站台,这波「百万级体验」赚麻了!

零跑D19首秀!费翔站台,这波「百万级体验」赚麻了!

10月16日,零跑旗舰D平台首款车型D19全球首秀!费翔作为代言人现场助阵,一句经典需要时间沉淀瞬间拉满品牌质感。5.2米车长+3.1米轴距,气场堪比百万豪车。D19定位科技豪华旗舰SUV,车身尺寸直接对标奔驰GLS!寰宇之境」前脸+...
国产9系SUV配置大PK!零跑D19掀桌子杀入国产9系旗舰SUV阵营30万级价位

国产9系SUV配置大PK!零跑D19掀桌子杀入国产9系旗舰SUV阵营30万级价位

国产9系SUV配置大PK!零跑D19掀桌子杀入国产9系旗舰SUV阵营30万级价位,百万级配置,硬件拉满,人无我有,人有我优!零跑D19​​​
零跑d19闯入9字辈豪华赛道零跑在零跑专访回来,印象最深刻的是这家公司的坚持。

零跑d19闯入9字辈豪华赛道零跑在零跑专访回来,印象最深刻的是这家公司的坚持。

零跑D19真是降维打击友商!

零跑D19真是降维打击友商!

零跑D19正式亮相并公布技术亮点

10月16日,零跑D19正式亮相并公布技术亮点。...座舱方面,新车采用LEAP 4.0舱驾一体中央域控方案,首发高通骁龙双8797芯片,总算力1280TOPS,支持VLA辅助驾驶系统、4-150km/h AEB、120km/h双轮爆胎稳定系统、3.6米圆规掉头等功能...
D平台、零跑D19发布,零跑开启高端化突围

D平台、零跑D19发布,零跑开启高端化突围

10月16日,零跑汽车正式发布其全域自研的最新成果零跑旗舰D平台,以及首款基于该平台打造的首款全尺寸旗舰SUV零跑D19,这标志着又一家车企正式加入了国内...其净利润也达到0.3亿,也成为继理想汽车之后第二家实现半年度盈利的中国...
零跑D19那条视频很多平台都爆了,全网真实流量大概超过了500万,我翻看了很多评

零跑D19那条视频很多平台都爆了,全网真实流量大概超过了500万,我翻看了很多评

零跑D19为了同时实现增程发电,四驱,和大电池,把前电机做成了发电+驱动两用,这

零跑D19为了同时实现增程发电,四驱,和大电池,把前电机做成了发电+驱动两用,这

零跑汽车旗舰D平台技术发布会上,零跑D19首次亮相,如果这款车的销量打开,那真没

零跑汽车旗舰D平台技术发布会上,零跑D19首次亮相,如果这款车的销量打开,那真没

零跑d19首发之后,零跑lafa5也要首发了,接下来零跑的动作会非常密集,但

零跑d19首发之后,零跑lafa5也要首发了,接下来零跑的动作会非常密集,但

全尺寸SUV新玩家“上线”看零跑D19如何硬刚问界M9?

全尺寸SUV新玩家“上线”看零跑D19如何硬刚问界M9?

相比问界M9搭载的华为ADS 3.0智驾系统,AI算力为400TOPS,在同级别车型中处于上游水平,支持全国无图导航驾驶,功能成熟度高于零跑D19。两款车都凭借各自的技术优势,为用户提供了丰富的智能交互和驾驶辅助功能,问界M9的智驾...
零跑D19全球首秀,重塑30万级科技豪华旗舰SUV新标杆

零跑D19全球首秀,重塑30万级科技豪华旗舰SUV新标杆

零跑D19的设计理念源于“科技自然美学2.0”,这一理念将科技创新与自然之美深度融合,旨在让每一次出行都成为充满幸福感的体验。科技,意味着技术创新,车辆更智能更好用,所有功能皆为用户服务;自然,则代表设计不刻意、不...
零跑D19居然不是传统的P1+3+4串联结构从表述上来看,复用驱动电机发电。

零跑D19居然不是传统的P1+3+4串联结构从表述上来看,复用驱动电机发电。

舱驾一体,在国内聊了很久,量产的没几家,蔚来算一个,零跑算第二个?零跑D19用

舱驾一体,在国内聊了很久,量产的没几家,蔚来算一个,零跑算第二个?零跑D19用

零跑D19纯电500km刷新增程纪录零跑D19用了80度的电池,那么问题来了,

零跑D19纯电500km刷新增程纪录零跑D19用了80度的电池,那么问题来了,

零跑D19一定“不便宜”

有人说零跑还会按照惯例给人惊喜,但也有人说零跑D19一定不便宜,但一定很值。D平台揭幕、D19亮相、费翔登台脱稿代言,似乎整场发布会在向所有人传递一个信号:零跑要卖贵了。但同时,它又像是在用每一个细节反问:零跑真的...
一些准车主心心念念的大电池、小油箱的混动车来了。这就是零跑D19增程版。80度的

一些准车主心心念念的大电池、小油箱的混动车来了。这就是零跑D19增程版。80度的

零跑D19这车值吗零跑D19这车值不值,还真得好好说道说道。10月16日首发就

零跑D19这车值吗零跑D19这车值不值,还真得好好说道说道。10月16日首发就

标题:朱江明:增程车必须配大电池,零跑D19已实践“纯电级”续航内容:零跑汽

标题:朱江明:增程车必须配大电池,零跑D19已实践“纯电级”续航内容:零跑汽

零跑D19定位30万级豪华全尺寸SUV,这个市场竞争激烈,没有两下子,估计难突出

零跑D19定位30万级豪华全尺寸SUV,这个市场竞争激烈,没有两下子,估计难突出

零跑D19首发亮相,全新平台打造+超5.2米车身,预计明年上市

零跑D19首发亮相,全新平台打造+超5.2米车身,预计明年上市

10月16日,零跑汽车在其技术发布会上正式展示了全新车型D19;这款基于零跑D平台打造的SUV定位为大型SUV,预计将在明年一季度上市,售价预计不超过30万元。从产品定位来看,D19的车身长度超过5.2米,宽度近2米,轴距超过3.1米,...
零跑代言人找的太好了费翔往旁边一站豪车味立马就有了零跑d19​​​

零跑代言人找的太好了费翔往旁边一站豪车味立马就有了零跑d19​​​

零跑D19,上市大卖已无悬念?

零跑D19,上市大卖已无悬念?

2025 年 10 月 16日上海发布会的聚光灯下,零跑 D19 以全尺寸 SUV 姿态完成首秀。这款承载品牌十年自研积淀的旗舰车型,用超 5.2 米车长、3.1 米轴距的磅礴...“科技自然美学 2.0”理念在 D19 身上具象为克制而精致的设计语言。...
海川品车|这你受得了吗!增程版纯电续航500km+80.3度电池 零跑D19亮相

海川品车|这你受得了吗!增程版纯电续航500km+80.3度电池 零跑D19亮相

10月16日,零跑汽车于上海隆重举办全新旗舰车型零跑D19的首秀发布会,新车基于零跑旗舰D平台打造,定位科技豪华旗舰SUV,搭载六大行业首创技术,提供增程、纯电双动力形式,为用户带来旗舰级的续航、智能、驾控、安全、舒适体验。此次发布的零跑D19,是零跑旗舰D平台下的首款产品,作为一款全尺寸旗舰SUV,零跑D19全球首发搭载80.3kWh超大电量电池系统,增程车型实现超500公里CLTC纯电长续航;纯电车型采用千伏高压技术,匹配115kWh电池,采用宁德时代全球首发混合电芯,实现超700公里CLTC纯电续航,并提供百万豪车级配置体验。零跑D19的设计理念源于“科技自然美学2.0”,这一理念将科技创新与自然之美深度融合,旨在让每一次出行都成为充满幸福感的体验。科技,意味着技术创新,车辆更智能更好用,所有功能皆为用户服务;自然,则代表设计不刻意、不夸张,如同大自然般令人放松舒适。在这一理念指导下,零跑D19以“纯粹、向上、愉悦”为设计灵魂,纯粹是内在的力量,向上是外在的格局,愉悦则是所有体验的最终归宿,让幸福在出行中具象化为日常的一部分,为用户带来具有向往感的产品和体验。零跑D19以超5.2米的车身长度、近2米的车身宽度与超3.1米的轴距,奠定全尺寸SUV的磅礴气场,直观传递出旗舰车型的从容与稳重。其前脸设计命名为“寰宇之境”,上部贯穿式“天际线”灯带如黎明破晓,点亮前路的同时彰显科技感;下部宽体格栅与超长饰条构成稳固的“地平线”,方圆相济的造型既诠释自然的辽阔,又凸显旗舰的大气格局。此外,零跑D19配备有AGS主动进气格栅,可根据车辆状态智能开合,优化风阻的同时赋予前脸“会呼吸”的生命力;超宽电动前备舱以超大开口与容积,将豪华质感与实用需求完美结合,满足用户日常储物需求。车身比例上,零跑D19以水切为黄金分割线,上下呈现完美黄金比例,纵贯线条与舒展形态赋予车辆天生的尊贵感,无需夸张修饰便彰显从容。车身侧面摒弃复杂线条,以“浑然天成”的纯净曲面呈现视觉张力,饱满修长的型面在光影下折射出如流水般的自然光泽,在克制中传递力量感。细节上,“天空之镜”纯平侧窗额外投入2000万元实现零阶差设计,不仅带来百万级豪车的极简质感,更降低风噪、提升静谧性,三排超大侧窗则让车内视野更加通透。“流光之翼”D柱镀铬饰板与“银辉之冠”拼色车顶,进一步优化侧面视觉效果,让庞大车身更显轻盈修长。此外
车长超5米2,零跑D19亮相,30万级汽车真能带来百万级的体验?2025年10月

车长超5米2,零跑D19亮相,30万级汽车真能带来百万级的体验?2025年10月

零跑D19的大电池增程,将成为新能源车最优解? 在新能源汽车技术路线多元化的

零跑D19的大电池增程,将成为新能源车最优解? 在新能源汽车技术路线多元化的

⚡️零跑D19完成全球首秀,各家都在造9系旗舰,零跑又来绝杀了!百万级配置放进3

⚡️零跑D19完成全球首秀,各家都在造9系旗舰,零跑又来绝杀了!百万级配置放进3

这场零跑D19的发布会,我是全程看完的,老实说,看得我一边点头一边皱眉。点头是因

这场零跑D19的发布会,我是全程看完的,老实说,看得我一边点头一边皱眉。点头是因

零跑D19就是在今年的增程市场一颗战术大核弹!今年年中大家还感叹66度大电池增程

零跑D19就是在今年的增程市场一颗战术大核弹!今年年中大家还感叹66度大电池增程

我最好奇的一点是零跑D19听很多媒体说要卖到25-30万区间,这点我是非常困惑的

我最好奇的一点是零跑D19听很多媒体说要卖到25-30万区间,这点我是非常困惑的

领跑D19正式首发,增程版纯电500km,预计25万起

领跑D19正式首发,增程版纯电500km,预计25万起

10月16日晚上,零跑D19正式迎来了首发,这也是D系列的首款车型。据悉,新车定位6座旗舰大型SUV,预计售价在25-30万元,可以看出它依旧主打性价比。动力方面拥有增程和纯电两个版本可选,前者的看点就在于它配备了80.2kWh的电池...
大型旗舰SUV零跑D19首发,增程版CLTC纯电续航500公里会火吗?

大型旗舰SUV零跑D19首发,增程版CLTC纯电续航500公里会火吗?

10月16日,零跑汽车正式发布了全新大型旗舰SUV零跑D19。不得不说,大型SUV市场现在真的是越来越热闹了,各路神仙都到齐了。前几日奇瑞风云T11预售,就足以让人瞠目结舌,没想到零跑D19的发布,更是让人看傻了眼。零跑D19车长...
💣9系全尺寸SUV新增一员!零跑D平台首款车型——「零跑D19」全球亮相。新

💣9系全尺寸SUV新增一员!零跑D平台首款车型——「零跑D19」全球亮相。新

零跑D19首发,增程版纯电续航500km是什么水平? 10月16日,零跑举行

零跑D19首发,增程版纯电续航500km是什么水平? 10月16日,零跑举行

昨晚零跑D19太炸裂了捅破天花板容量,80.3kwh的增程电池,必然是大家最先关

昨晚零跑D19太炸裂了捅破天花板容量,80.3kwh的增程电池,必然是大家最先关

预感零跑D19又要击穿大三排SUV价格底线了,纯电续航500公里。像风云t1

预感零跑D19又要击穿大三排SUV价格底线了,纯电续航500公里。像风云t1

大电池+小油箱=增程终局?零跑D19的出现,这一次为行业提供了新思路。这两年,增

大电池+小油箱=增程终局?零跑D19的出现,这一次为行业提供了新思路。这两年,增

零跑D19正式首发亮相,是D平台打造的首款车型,较量50万以上车型

零跑D19正式首发亮相,是D平台打造的首款车型,较量50万以上车型

近日,零跑汽车旗下全新车型—零跑D19正式首发亮相。新车是零跑D平台打造的首款车型,定位六座旗舰大型SUV,将是零跑汽车旗下全新的旗舰车型,搭载激光雷达以及高通骁龙双8797芯片,动力上提供纯电和增程版车型,其中增程版纯...
零跑D19今天晚上正式亮相了,整个车的体量感还是非常强的,轮毂也上了最近非常

零跑D19今天晚上正式亮相了,整个车的体量感还是非常强的,轮毂也上了最近非常

零跑D19全球首秀,以全域自研破局,开启30W级旗舰SUV新篇

零跑D19全球首秀,以全域自研破局,开启30W级旗舰SUV新篇

随着零跑D19的登场,零跑汽车成功构建起覆盖6万-30万元价格带的“ABCD产品矩阵”,将市场覆盖范围延伸至更广阔的主流大众化领域。旗舰D平台:技术自研铸就越级底气 回溯零跑十年发展历程,它从默默无闻到斩获新势力销冠,跻身...
零跑D19的静态体验因为有事没有去现场,让帮忙拍了点空镜回来,看图说话1、实拍

零跑D19的静态体验因为有事没有去现场,让帮忙拍了点空镜回来,看图说话1、实拍

说一下我个人对零跑D19的理解:首先500km(CLTC)的纯电续航,意味着D1

说一下我个人对零跑D19的理解:首先500km(CLTC)的纯电续航,意味着D1

零跑D19一亮相,估计不少人跟喵哥一样先愣了一下:这是零跑D系列头一款车,一上来

零跑D19一亮相,估计不少人跟喵哥一样先愣了一下:这是零跑D系列头一款车,一上来

80.3度电池、千伏高压,零跑D19开启SUV纯电续航新纪元

80.3度电池、千伏高压,零跑D19开启SUV纯电续航新纪元

在设计上,零跑D19采用了“科技自然美学2.0”设计理念,以“纯粹、向上、愉悦”为核心,将科技创新与自然之美深度融合。新车车身长度超5.2米,宽度近2米,轴距超3.1米,奠定了其全尺寸SUV的磅礴气场。前脸设计命名为“寰宇之境...
零跑D19全球首秀 进军豪华旗舰市场

零跑D19全球首秀 进军豪华旗舰市场

驾控方面,LMC2.0底盘系统集成高速双轮爆胎控制、凌波微步平顺体验及3.6米级圆规掉头等顶级功能,对于这样一台大车来说,即使是新手...使得这个市场成为竞争非常激烈的细分区间,零跑D19表现如何,就看消费群体最后给出的答案了。
零跑D19这台车是零跑的向上之作,从尺寸上来说,也是零跑首款全尺寸SUV,这台

零跑D19这台车是零跑的向上之作,从尺寸上来说,也是零跑首款全尺寸SUV,这台

零跑D19与理想L9硬核对比|全尺寸SUV推荐最近热度很高的零跑D19上市,9系

零跑D19与理想L9硬核对比|全尺寸SUV推荐最近热度很高的零跑D19上市,9系