
图片来源:企业预警通
日前,据企业预警通提供的信息显示,在刚刚过去的2025年里,银行业累计被全国各地的金融监管机构开出6565张罚单(以罚单披露日期为准),罚没款金额合计高达26.47亿元,共计1100家银行(含分支机构)被罚。

图片来源:企业预警通
根据银行类型划分,农商银行的罚单总数高居榜首地位。农商银行2025年获得的机构罚单数量为741张,个人罚单数量为1419张,罚单总数合计2160张,罚没款金额合计6.02亿元。其中,重庆农商银行以罚没款金额1392.86万元排名第一,罚单总数为26张。深圳农商银行以罚没款金额1302.65万元紧随其后,罚单总数为4张。第三名北京农商银行罚没款金额1150.90万元,罚单总数为11张。

图片来源:企业预警通
股份制银行的罚没款金额高居榜首地位。股份制银行2025年获得的机构罚单数量为398张,个人罚单数量为656张,罚单总数合计1054张,罚没款金额合计7.45亿元。其中,华夏银行以罚没款金额1.21亿元排名第一,罚单总数为78张。广发银行以罚没款金额1.10亿元排名第二,罚单总数为124张。

图片来源:企业预警通
城商银行2025年获得的机构罚单数量为277张,个人罚单数量为456张,罚单总数合计733张,罚没款金额合计3.07亿元。其中,上海银行以罚没款金额3951.25万元排名第一,罚单总数为34张。北京银行以罚没款金额3929.24万元排名第二,罚单总数为47张。徽商银行以罚没款金额1949.53万元排名第三,罚单总数为61张。

图片来源:企业预警通
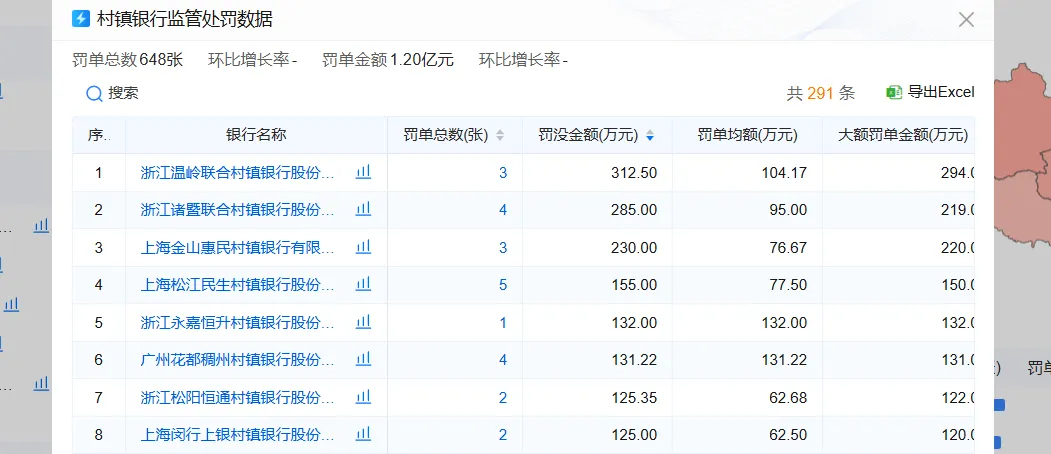
村镇银行2025年获得的机构罚单数量为301张,个人罚单数量为347张,罚单总数合计648张,罚没款金额合计1.20亿元。其中,浙江温岭联合村镇银行以罚没款金额312.50万元排名第一,罚单总数为3张。浙江诸暨联合村镇银行以罚没款金额285.00万元排名第二,罚单总数为4张。上海金山惠民村镇银行以罚没款金额230.00万元排名第三,罚单总数为3张。

图片来源:企业预警通
信用社2025年获得的机构罚单数量为128张,个人罚单数量为191张,罚单总数合计319张,罚没款金额合计7251.74万元。其中,博白县农信社以罚没款金额312.78万元排名第一,罚单总数为1张。福安市农信社以罚没款金额312.40万元排名第二,罚单总数为7张。东山县农信社以罚没款金额256.00万元排名第三,罚单总数为4张。

图片来源:企业预警通
外资银行2025年获得的机构罚单数量为17张,个人罚单数量为9张,罚单总数合计26张,罚没款金额合计2695.13万元。其中,友利银行(中国)以罚没款金额1500.20万元排名第一,独家包揽了整个外资银行业超过55%的罚款金额,罚单总数为2张。正信银行以罚没款金额317.00万元排名第二,罚单总数为4张。大华银行(中国)以罚没款金额299.68万元排名第三,罚单总数为3张。

图片来源:企业预警通
民营银行2025年获得的机构罚单数量为12张,个人罚单数量为6张,罚单总数合计18张,罚没款金额合计1426.16万元。其中,上海华瑞银行以罚没款金额787.76万元排名第一,独家包揽了整个民营银行业超过55%的罚款金额,罚单总数为5张。北京中关村银行以罚没款金额140.00万元排名第二,罚单总数为2张。深圳前海微众银行以罚没款金额110.00万元排名第三,罚单总数为2张。
记者:张嘉怡
财经研究员:于文