编辑导语:2025年4月“汉L唐L”的推出,标志比亚迪向20万以上的中高端市场开始发起反扑。而上市一年的成果显示,“汉L唐L”的销量远远未能复刻曾经“汉唐”在中高端市场的巅峰,且还在逐渐滑坡市场表现边缘化。
销量不佳 连续下滑
2025年4月9日,比亚迪以“划时代旗舰”为名,宣布了自身“王朝网”汉唐系列的旗舰车型汉L、唐L上市,其中,汉L售价区间为20.98万到27.98万;唐L售价区间为22.98万到28.98万。二者均是集比亚迪造车技术之大成的全新力作,寄托了比亚迪再度夺回中高端市场份额的愿景。

为实现汉L、唐L在销量上破局,比亚迪为两款车型均搭载了2025年时,比亚迪新推出的各项“黑科技”。其中,纯电版搭载了比亚迪“超级e平台”,在电机、电池、电控三大核心领域全面升级,DM版则搭载第五代DM技术,坐拥45.3%热效率发动机、解耦智能电四驱等技术。
值得一提的是,为匹配新一代产品的上市,彼时,比亚迪董事长王传福还宣布,基于兆瓦闪充,比亚迪将在全国各地规划建设4000多座兆瓦闪充桩,升级补能网络。不过,即便比亚迪抱有高度预期,但从汉L、唐L上市至今整整一年时间来看,两款产品的表现远远未达到行业预期,以及实现“划时代”的领跑。
2026年一季度最新数据显示,汉L(含EV、DM)今年1-3月销量分别为570辆、485辆、982辆,月销量已经跌至不足千辆。
汉L的市场表现呈现明显的“高开低走”,在新车上市初期,汉L曾连续三个月批发销量过万,但批发销量过万,并未带给零售端的破局。2025年4月到12月,汉L零售销量分别为3505辆、4805辆、4148辆、2288辆、2202辆,2420辆、1978辆、2077辆、2934辆。


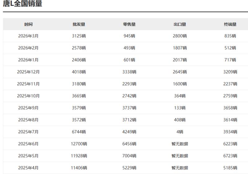
唐L的市场表现虽然较汉L略高一筹,但与汉L的整体销量轨迹相似,一样的呈现“高开低走”格局,今年1-3月,该车销量分别为601辆、493辆、945辆。而2025年4月到12月,唐L零售销量分别为5229辆、7004辆、6456辆、4249辆、3712辆、3737辆、2742辆、2293辆、3338辆。
多品牌布局 竞争激烈
从市场竞争层面来看,在20万级以上的中高端新能源市场,国内众多自主品牌的入局,成为汉L、唐L突围而出最大的障碍。在比亚迪携汉 L、唐 L 以 “划时代旗舰”的态势重返25万+中高端新能源战场时,这片昔日由汉唐系列主导的“自留地”,已沦为自主品牌群雄逐鹿的“红海”。
新势力阵营中,有理想、问界、小鹏等品牌凭借精准的用户定位和场景化优势,成为汉L、唐L最直接的竞争对手。如理想汽车深耕家庭用户场景,旗下理想L6精准覆盖唐L的核心价格区间,2025年,理想L6全年销量达到16.6万辆,展现出来依然强大的竞争力。包括问界旗下的问界M7,同样是唐L的劲敌,2025销量超过10万辆。

在20万级的中高级轿车市场中,既有小米SU7、Model 3的守擂,还有小鹏P7+以价格优势卡位,汉L与新势力在中高端市场的竞争中,比亚迪已然落入下风。

包括传统自主品牌阵营,也有吉利、长城、长安、奇瑞等头部企业加速高端化布局,魏牌的蓝山、阿维塔的阿维塔07等均在20万到30万的价格区间参与竞争。
此外,需要注意的是,在比亚迪内部,汉L、唐L实际上还陷入了上下夹击的定位困境。在内部,下有比亚迪海豹、宋 L 等同品牌车型的价格挤压,而上也有腾势品牌的价格区间覆盖,严重分流了潜在客群;包括自家的个性化品牌方程豹,旗下钛7的上市更是横扫了同价位SUV市场。
钛7在2025年 9 月上市,顶配版本也仅21.98万,新车首个完整销售月销量便突破2万辆,在2025 年 12 月单月销量更是达到3.4万台,凭借硬派造型、家用属性与DM-o混动技术,精准覆盖了城市通勤与户外出行的双重需求,也在一定程度上分流了本属于唐 L的潜在用户。
巅峰不复 向上尤待突破
在内外夹击的市场竞争中,显然,汉L、唐L的市场表现意味着比亚迪未能成功将技术优势转化为不可替代的产品壁垒,也表明仅靠配置堆砌与价格下探的传统打法,早已无法在白热化的红海中建立竞争优势,还也让双车从上市之初,就陷入了“前有强敌、后有追兵、内有分流”的被动局面。
回望比亚迪王朝网的高端化征程,汉唐系列曾是突破自主品牌价格天花板的核心标杆,2022 年,是汉唐系列的巅峰时刻:汉 EV 主力指导价锁定 27.18 万 - 33.18 万区间,全年销量达 13.4 万辆;唐 EV 主力指导价 28.28 万 - 34.28 万,唐系列全年销量 14.8 万辆,双车稳稳站稳 25 万 + 新能源市场,成为为数不多能与合资、豪华品牌正面抗衡的自主品牌旗舰车型。
但在随后连续多年的行业“价格战”中,以及市场竞争的不断激烈中,汉唐系列陷入“降价齐跌”的困境。
毫无疑问,比亚迪仍是国内新能源汽车行业的规模龙头,但其高端化进程,始终没能跨过 “技术领先” 到 “品牌高端” 的鸿沟。比亚迪的高端化突围,依然道阻且长。
面对持续失守的中高端市场,2026年,比亚迪又开启了新一轮向上试探,王朝网全新旗舰唐9系、汉9系(即“大汉”“大唐”)应声而来,试图以更高阶定位重启品牌向上之路。根据现有信息,两款车型定位全面高于汉L、唐L,直接锚定30-45万高端市场。

两款车型也延续“技术拉满”的核心打法,搭载最新刀片电池、1000V高压平台、云辇智能车身控制系统与全系激光雷达高阶智驾,剑指BBA与国产头部新势力核心腹地。但不容忽视的是,当下中高端消费者的购车决策,早已从参数对比转向场景体验与品牌认同,理想、问界等品牌正是靠精准的用户场景心智站稳市场。
而“大汉”“大唐”如依然无法将技术优势转化为可感知的用户体验,摆脱“性价比”的固有品牌标签,撼动高端核心客群依然面临挑战。
评论列表