本田V4车型1982年从赛道走向民用,曾经以VFR辉煌过,最后以休旅(跑旅)车型为主直至到2020年正式停产,沉寂多年的V4动力,或许正迎来重返市场的机会。





本田在新专利中提出了一套全新的机油循环系统,新设的小型辅助储油腔有助于降低机油泵摩擦、缩短油道长度,从而减少动力损耗,使发动机更为紧凑。


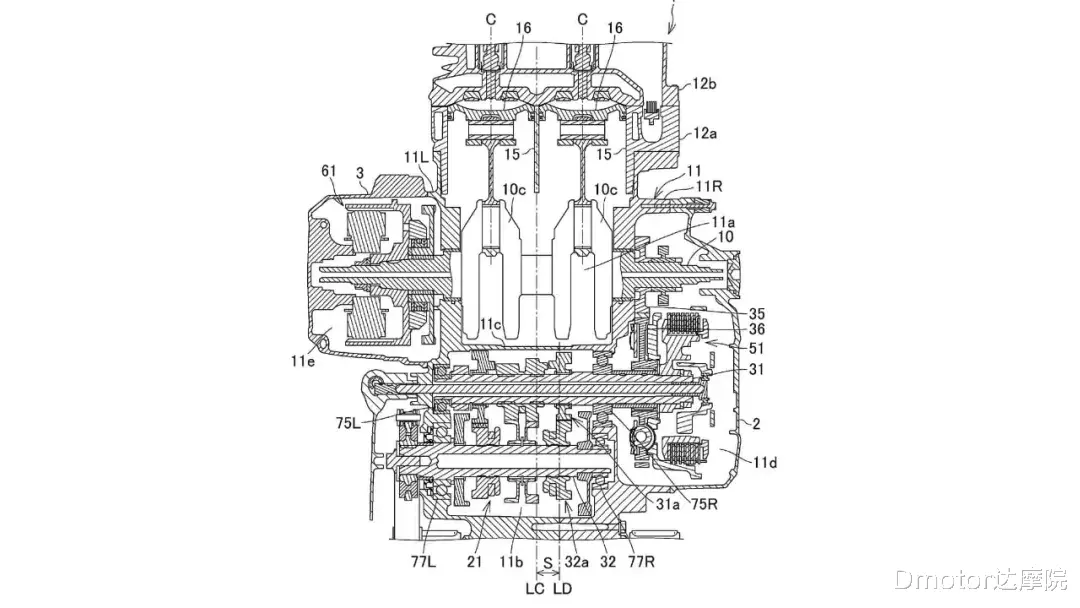
与此同时,为解决V4后缸散热难题,本田在V型夹角内布置专用冷却管路,优先对后缸散热,提升长时间骑乘的热管理稳定性。

专利图显示,新V4的曲轴箱及变速箱外壳更为集中紧凑,相比过去 VFR1200 那种“大块头”构造,体积与重量都有望降低。

▲VFR1200发动机


另外就是,传动方式被明确设为链条驱动,而非以前使用的传统轴传动,会偏向过去VFR750结构,暗示未来车型将更偏向于运动化,而非经典跑旅风格。


▲VFR 750传动结构

上一代VFR1200的V4是76°夹角+ 28°偏置曲轴的构造,点火变成104-256-104-256(V缸夹角76度,偏置的28度, 76+28=104度)形成Big-Bang式点火节奏,运行起来的声音会带有的节奏感,且不需平衡轴。

而新专利中明确标出平衡轴,且气缸夹角更接近 90°,这意味着新V4更可能采用均等点火(Screamer)模式,也就是接近过去VFR800点火模式,是180-90-180-270。

换句话说,未来这颗V4的声音与转速响应逻辑,会区别于当前主流的 Ducati/Aprilia V4声浪风格。

最后总结
尽管专利细节丰富,但从申请到实际量产存在较长周期。按日本厂商惯例,即便专利公开,也通常在两三年后才见到原型车。
综合结构紧凑化、运动化传动与均等点火等设计倾向,下一代V4若量产发布,更可能成为一台强调性能与操控的运动型车型,而不再仅是旅行兼顾性能的跑旅车。



